GM Service Manual Online
For 1990-2009 cars only

Tools Required

    • J 35399 Differential Side Bearing Cup Remover
    • J 8092 Driver Handle
    • J 35552 Bearing Cup Installer
    • J 35553 Differential Side Bearing Seal Installer

Removal Procedure


    Object Number: 163755  Size: SH
  1. Use a hammer and a screwdriver in order to remove the left oil seal.

  2. Object Number: 163760  Size: SH
  3. Use a hammer and a screwdriver in order to remove the right oil seal.

  4. Object Number: 163758  Size: SH
  5. Use the J 35399 in order to remove the following components:
  6. • The left side bearing outer race
    • The shim

Installation Procedure


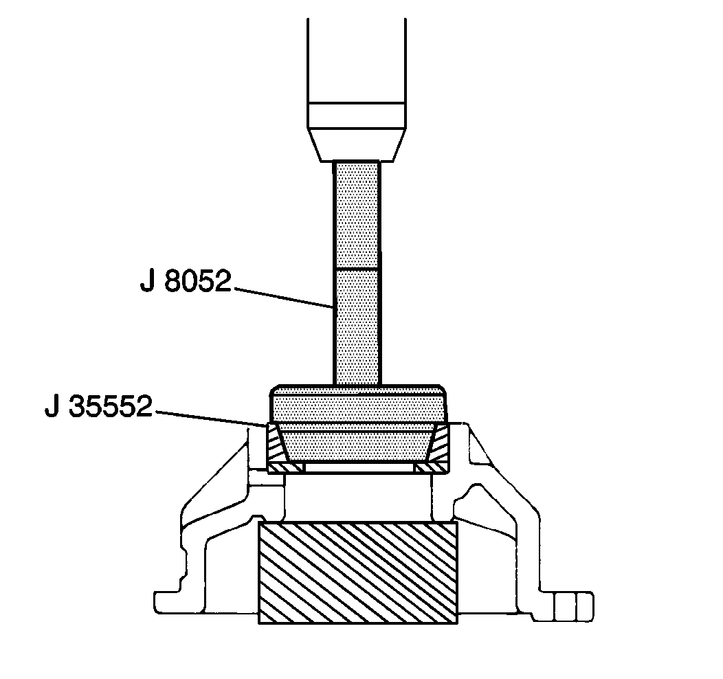
    Object Number: 163759  Size: SH
  1. Place the shim onto the retainer.
  2. Use the J 35552 with the J 8092 in order to press the outer race into the retainer.

  3. Object Number: 163762  Size: SH
  4. Use the J 35553 in order to install the right oil seal.
  5. Make sure that the surface of the oil seal is flush with the surface of the case.

  6. Coat the lip of the right oil seal with GM P/N 1050169 grease.
  7. Install the left oil seal.

  8. Object Number: 163757  Size: SH
  9. Use a J 35553 in order to coat the lip of the left oil seal with GM P/N 1050169 grease.