GM Service Manual Online
For 1990-2009 cars only

Tools Required

    • J 36850 Transjel® Transmission Assembly Lubricant
    • J 23327 Clutch Spring Compressor
    • J 7872 Magnetic Base Indicator Set

Notice: When installing new clutch discs in the 1st-reverse brake, forward clutch or direct clutch assemblies, the new clutch discs MUST be soaked in Dexron® - III automatic transmission fluid GM P/N 12341643, or equivalent, two hours prior to installation. This causes the clutch material on the discs to permeate with fluid which will aid in ease of assembly and prevent clutch overheating on first time engagement.


    Object Number: 165028  Size: SH
  1. Install the new forward clutch piston seals onto the forward clutch piston.
  2. Apply J 36850 to the new forward clutch piston seals.

  3. Object Number: 165029  Size: SH
  4. Install the forward clutch piston (1) into the forward clutch drum (2) with the cup side facing upwards.
  5. Install the forward clutch piston return spring onto the forward clutch piston.

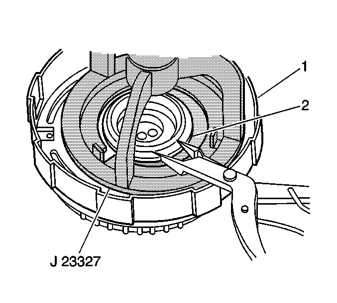
  6. Object Number: 165030  Size: SH
  7. Use J 23327 and a hydraulic press to install the forward clutch piston return spring snap ring (2) onto the forward clutch piston return spring retainer.

  8. Object Number: 165041  Size: SH
  9. Install the four forward clutch discs (2), the four forward clutch plates (3) and the forward clutch flange (1) into the forward clutch drum in the following order:
  10. Important: The forward clutch flange must be installed with the flat side facing down and the stepped portion facing upwards.

    • One forward clutch plate
    • One forward clutch disc
    • One forward clutch plate
    • One forward clutch disc
    • One forward clutch plate
    • One forward clutch disc
    • One forward clutch plate
    • One forward clutch disc
    • The forward clutch flange
  11. Install the forward clutch snap ring into the direct clutch drum.
  12. Install three new input shaft seal rings onto the input shaft.
  13. Apply J 36850 to the new input shaft seal rings.

  14. Object Number: 164982  Size: SH
  15. Use the J 7872 to measure the forward clutch piston stroke after completing assembly.
  16. 10.1. Place the J 7872 plunger on the on the forward clutch piston and apply 392-785 kPa (57-114 psi) of compressed air into the forward clutch apply passage (1) on the input shaft (2) and observe the J 7872 .
    10.2. The standard forward clutch piston stroke should fall within 1.420-1.810 mm (0.0559-0.0713 in).
    10.3.  If the forward clutch piston stroke is greater or less than specified, and all forward clutch components exhibit little or no wear, select one of the following different forward clutch flange sizes to bring the forward clutch piston stroke within specification:
       • 2.80 mm (0.110 in)
       • 3.00 mm (0.118 in)
       • 3.20 mm (0.126 in)
       • 3.370 mm (0.1327 in)
       • 3.600 mm (0.1417 in)