GM Service Manual Online
For 1990-2009 cars only

Tools Required

    • J 37271 Countershaft Locknut Spanner Wrench
    • J 36513 Large Bearing Split Plate
    • J 22912-01 Bearing Split Plate
    • J 26900-6 Dial Caliper
    •  J 37273 Countershaft Pressing Button
    • J 35287 Countershaft Bearing Race Installer
    • J 8092 Driver Handle
    • J 37278 Countershaft Inner Race Support Disc
    • J 34826 Hub Nut Wrench

Removal Procedure


    Object Number: 165086  Size: SH
  1. Use a J 37271 and a torque wrench to measure the countershaft drive pinion bearing preload (countershaft starting torque) before disassembly.
  2. • Place the countershaft drive pinion (1) in a soft jaw vise and turn the countershaft front lock nut with a J 37271 and a torque wrench.
    • The countershaft requires approximately 0.6-1.0 N·m (5.3-8.8 lb in) to rotate.
    • If the countershaft drive pinion bearing preload does not fall within specification, inspect the countershaft assembly components for excessive wear.

    Object Number: 165090  Size: SH
  3. Remove the underdrive planetary carrier snap ring (2) from the countershaft drive pinion (1).

  4. Object Number: 165092  Size: SH
  5. Remove the underdrive planetary carrier (2) from the countershaft drive pinion (1).

  6. Object Number: 165095  Size: SH
  7. Remove the underdrive sun gear outer thrust bearing (1) and the race (3) from the countershaft (2).

  8. Object Number: 165099  Size: SH
  9. Use the J 37273 with a J 36513 and a hydraulic press (2) to remove the following components from the countershaft:
  10. • The countershaft front roller bearing inner race
    • The countershaft outer drive pinion bearing
    • The countershaft drive pinion
  11. Remove the crush sleeve from the countershaft.

  12. Object Number: 165106  Size: SH
  13. Remove the following components from the underdrive planetary ring gear flange on the countershaft:
  14. • The underdrive planetary ring gear snap ring (1)
    • The underdrive planetary ring gear (2)

    Object Number: 165108  Size: SH
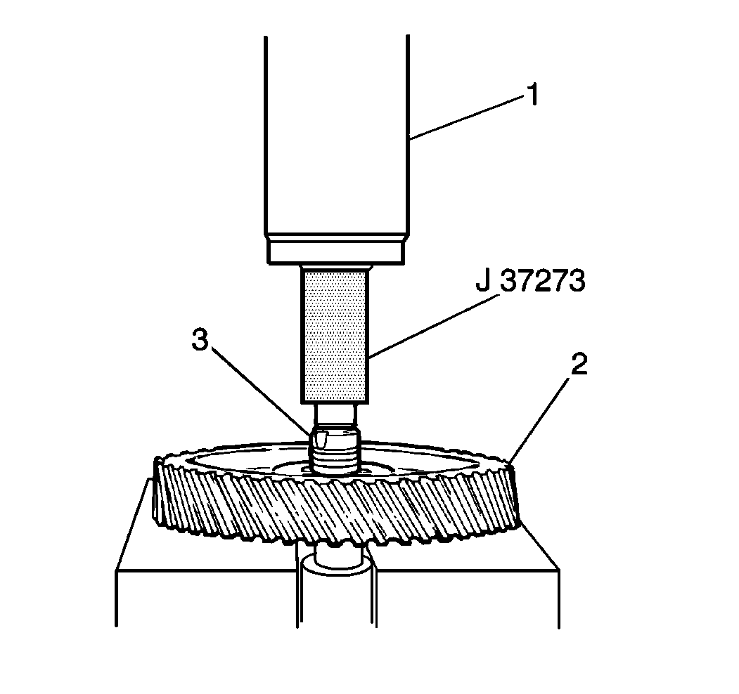
  15. Use the J 37273 with a J 22912-01 and a hydraulic press (2) to remove the countershaft inner drive pinion bearing (1) from the countershaft.

  16. Object Number: 165112  Size: SH
  17. Use a standard drift punch and a hammer to remove the countershaft inner drive pinion bearing race (2) from the countershaft drive pinion.

  18. Object Number: 165123  Size: SH
  19. Use a standard drift punch and a hammer to remove the countershaft outer drive pinion bearing race (1) from the countershaft drive pinion (2).
  20. Clean all countershaft assembly components and dry thoroughly.
  21. Inspect all countershaft assembly bearings and races for rough operation, excessive wear or damage and replace as necessary.
  22. Inspect the countershaft drive pinion gear and parking gear for chipped or broken teeth, excessive wear or damage. Replace the countershaft drive pinion as necessary.
  23. Inspect the following components for excessive wear or damage and replace as necessary:
  24. • The underdrive planetary ring gear
    • The underdrive planetary carrier
    • The underdrive sun gear

    Object Number: 165127  Size: SH
  25. Use the J 26900-6 to measure the underdrive sun gear flange bushing inside diameter.
  26. • The standard underdrive sun gear flange inside diameter should fall within 29.800 to 29.825 mm (1.1735 to 1.1742 in).
    • The maximum sun gear flange bushing inside diameter is 29.870 mm (1.1760 in).
    • If the underdrive sun gear flange bushing inside diameter is greater than specified, replace the underdrive sun gear (3).

    Object Number: 165130  Size: SH
  27. Use a feeler gage (2) to measure the underdrive planetary carrier pinion gear (1) thrust clearance.
  28. • Standard underdrive planetary carrier pinion gear thrust clearance should fall within 0.20 to 0.50 mm (0008 to 0.020 in).
    • If the underdrive planetary carrier pinion gear thrust clearance is greater than 0.50 mm (0.020 in), replace the underdrive planetary carrier.

Installation Procedure


    Object Number: 165133  Size: SH
  1. Use the J 35287 with a J 8092 and a hammer to install the countershaft inner drive pinion bearing race into the countershaft drive pinion (1).

  2. Object Number: 165143  Size: SH
  3. Use the J 35287 with a J 8092 and a hammer to install the countershaft outer drive pinion bearing race into the countershaft drive pinion (2).
  4. Important: In order to achieve true and accurate countershaft drive pinion bearing preload, the countershaft drive pinion must be rotated during the installation of the countershaft drive pinion bearing  (3) to ensure that the new crush sleeve is not collapsed before countershaft drive pinion preload can be adjusted. It is recommended that the countershaft drive pinion and outer drive pinion bearing be installed first and then the countershaft front roller bearing inner race. This is to allow the technician to rotate the countershaft drive pinion during outer drive pinion bearing installation. If the countershaft drive pinion will not rotate, or is hard to rotate after outer drive pinion bearing installation, the crush sleeve has been collapsed and must be replaced with a new crush sleeve.


    Object Number: 165138  Size: SH
  5. Use the J 37278 and a hydraulic press to install the countershaft inner drive pinion bearing (3) onto the countershaft (2).
  6. Install the underdrive planetary ring gear onto the underdrive planetary ring gear flange on the countershaft, securing with the underdrive planetary ring gear snap ring.
  7. Install the new crush sleeve onto the countershaft.

  8. Object Number: 165145  Size: SH
  9. Use the J 37278 and a hydraulic press to install the countershaft drive pinion and outer drive pinion bearing onto the countershaft (1) while rotating the countershaft drive pinion (2).

  10. Object Number: 165149  Size: SH
  11. Use the J 37278 and a hydraulic press to install the countershaft outer drive pinion bearing (2)  onto the countershaft while rotating the countershaft drive pinion.

  12. Object Number: 165150  Size: SH
  13. Use the J 37278 and a hydraulic press to press the countershaft front roller bearing inner race onto the countershaft (1); leaving a small space between the countershaft front roller bearing inner race and the outer drive pinion bearing.

  14. Object Number: 165152  Size: SH
  15. Install the underdrive sun gear outer thrust bearing (1) and race (3) onto the countershaft.

  16. Object Number: 165154  Size: SH
  17. Install the underdrive planetary carrier (1) into the countershaft drive pinion.
  18. Install the underdrive planetary carrier snap ring into the countershaft drive pinion (2).

  19. Object Number: 165155  Size: SH
  20. Install the front countershaft locknut (1) onto the countershaft. Do not tighten fully.

  21. Object Number: 165157  Size: SH
  22. Use a J 37271 and a torque wrench to adjust the countershaft drive pinion bearing preload (countershaft starting torque).
  23. • Temporarily install the countershaft driven gear (3) onto the countershaft using a hydraulic press.
    • Use a J 34826 to temporarily install the countershaft driven gear locknut onto the countershaft.
    • Place the countershaft assembly in a soft jaw vise, holding the countershaft assembly by the countershaft driven gear locknut.

    Object Number: 165159  Size: SH
  24. Use a J 37271 to tighten the front countershaft locknut gradually in increments of 5 N·m (44 lb in).
  25. Between each tightening increment, remove the countershaft assembly from the soft vise and place the countershaft drive pinion in the soft jaw vise so that the countershaft (1) is able to rotate.

  26. Object Number: 165163  Size: SH
  27. Use the J 37271 and a torque wrench to measure the countershaft drive pinion bearing preload (countershaft starting torque) between each increment of tightening.
  28. The countershaft should require the following approximate specifications to rotate:

    • For new bearings: 0.6-1.0 N·m (5.30-8.80 lb in)
    • For reused bearings: 0.3-0.5 N·m (2.60-4.3 lb in)
    • If the countershaft drive pinion bearing preload does not fall within specification, inspect the countershaft assembly components for excessive wear.
  29. Remove the countershaft drive pinion from the soft jaw vise.
  30. Use a J 34826 to remove the countershaft driven gear locknut.

  31. Object Number: 165166  Size: SH
  32. Use a J 37273 and a hydraulic press (1) in order to remove the countershaft driven gear (2) from the countershaft (3).

  33. Object Number: 165168  Size: SH
  34. Stake the front countershaft locknut (1).