GM Service Manual Online
For 1990-2009 cars only

Tools Required

    • J 35405 Differential Preload Wrench
    • J 26941 Countershaft Bearing and Drive Axle Seal Remover
    • J 2619-01 Slide Hammer
    • J 35552 Differential Side Bearing Cup Installer
    • J 8092 Driver Handle

Adjustment Procedure


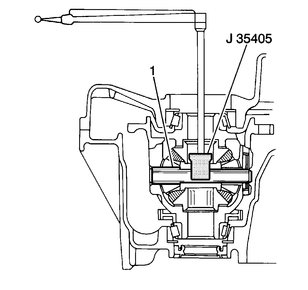
    Object Number: 165234  Size: SH
  1. Insert the J 35405 into the drive axle shaft bore in the torque converter housing until the J 35405 engages with the pinion shaft (1) of the differential.
  2. Rotate the differential several times in both directions in order to ensure that the differential bearings have seated. Measure the differential side bearing preload. Standard differential side bearing preload should fall within the following ranges:
  3. • New differential side bearings 0.8-1.4 N·m (7-12 lb in)
    • Reused differential side bearings 0.4-0.7  N·m (4-6 lb in).

    Important: Differential side bearing selective shims sizes are available in increments of 0.05  mm (0.002 in). Refer to Differential Side Bearing Selective Shim Sizes Table in Fastener Tightening Specifications .

  4. Differential side bearing preload (differential starting torque) will change approximately 0.3-0.4 N·m (2.5-3.5 lb in) by increasing or decreasing one shim size.
  5. If the differential side bearing preload is below specification, increase the size of the left differential side bearing selective shim in the transaxle case. If the differential side bearing preload is above specification, decrease the size of the left differential side bearing selective shim in the transaxle case.
  6. 4.1. Remove the 17 torque converter bolts and the torque converter housing from the transaxle case.
    4.2. Remove the differential assembly from the transaxle case.
    4.3. Use the J 26941 with the J 2619-01 in order to remove the left differential side bearing race and the selective shim.
    4.4. Use the J 35552 with the J 8092 and a hammer in order to install an appropriate size left differential side bearing selective shim and race into the transaxle case.

    Refer to Differential Side Bearing Selective Shims in General Specifications .