GM Service Manual Online
For 1990-2009 cars only

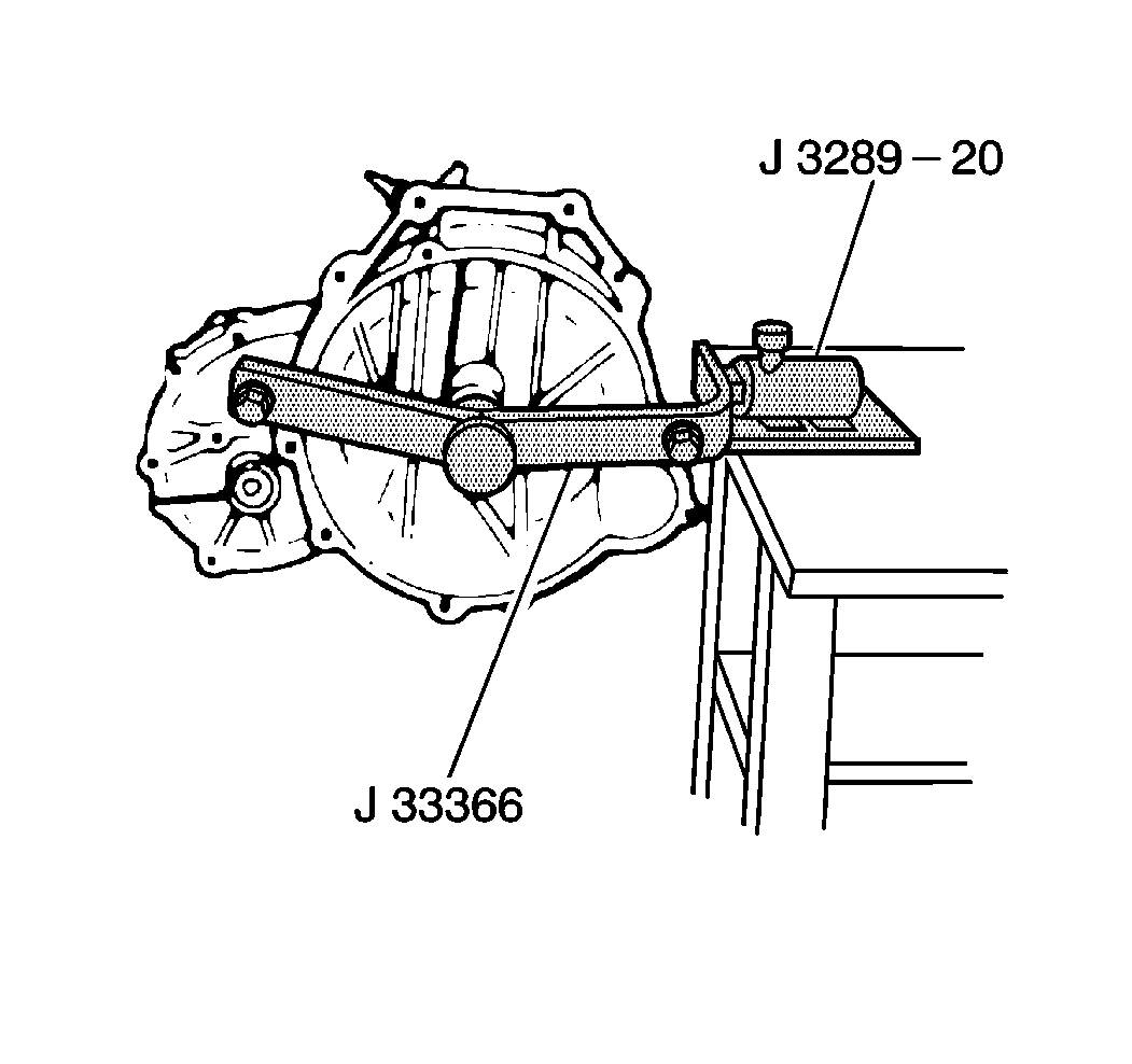
Tools Required

    • J 3289-20 Base Plate
    • J 33366 Holding Fixture
    • J 35274 Gear Puller
    • J 22888-30 Puller Legs
    • J 22888 Puller
    • J 24256-A Bearing Race Remover
    • J 8092 Driver Handle
    • J 33370 Bearing Race Remover
    • J 26941 Puller
    • J 33367 Puller Bridge
    • J 37245 Bushing Remover
    • J 36190 Universal Driver Handle
    • J 37158 Bearing Remover

    Object Number: 168746  Size: SH
  1. Remove the clutch release bearing.
  2. • Attach the transaxle to the J 33366 .
    • Attach the J 33366 to the J 3289-20 .

    Object Number: 12424  Size: SH
  3. Remove the rear cover bolts and the rear cover assembly from the transaxle case.

  4. Object Number: 12425  Size: SH
  5. Remove the control box bolts and the control box assembly from the transaxle case.
  6. Shift the transaxle into gear using a screwdriver.
  7. Remove the crimps in the 5th speed drive and driven gear retaining nuts using a hammer and a punch.

  8. Object Number: 12426  Size: SH
  9. Remove the retaining nuts from the input and output shaft.
  10. Discard the retaining nuts.
  11. Shift the transaxle into neutral.
  12. Align the detents on the shift rails.

  13. Object Number: 12427  Size: SH
  14. Remove the detent spring retaining bolts, the detent springs and the detent balls for the following gears:
  15. • The 1st/2nd gear (1)
    • The 3rd/4th gear (2)
    • The 5th gear (3)

    Object Number: 104619  Size: SH
  16. Remove the reverse detent spring retaining bolts, the detent spring and the detent ball.
  17. Put the 5th gear synchronizer in neutral.
  18. Remove the 5th gear shift fork roll pin.
  19. Discard the roll pin.
  20. Remove the following 5th gear components from the output shaft as an assembly:
  21. • The synchronizer hub
    • The sleeve
    • The roller bearing
    • The shift fork and gear

    Object Number: 12428  Size: SH
  22. Remove the 5th speed gear from the input shaft using the J 35950 and the J 35274-A .

  23. Object Number: 12429  Size: SH
  24. Remove the screws with Torx™ (No. 45) from the bearing retainer.
  25. Remove the bearing retainer and the snap ring from the output shaft.
  26. Remove the shim from the output shaft.

  27. Object Number: 12431  Size: SH
  28. Remove the reverse idler shaft bolt at the transaxle case.

  29. Object Number: 107588  Size: SH
  30. Remove the following items from the output shaft using the J 22888 and the J 22888-30 :
  31. • The collar
    • The thrust washer
  32. Remove the snap ring from the input bearing groove.
  33. Remove the transaxle case bolts.
  34. Separate the transaxle case from the clutch housing.
  35. Remove the backup lamp switch.

  36. Object Number: 171529  Size: SH
  37. Remove the reverse shift shaft snap ring (3).
  38. Pull up on the shaft until the interlock pin aligns with the reverse shift shaft detent (approximately ¼-½ inch).
  39. Important: The detent pin is located at the bottom of the 5th shift shaft. The detent pin is specific for the 5th shift shaft, do not lose the detent pin.

  40. Remove the 5th shift shaft (1).
  41. Remove the reverse shift shaft (2).

  42. Object Number: 12433  Size: SH
  43. Remove the reverse idle gear.
  44. Remove the reverse idle shaft indexing pin.

  45. Object Number: 12434  Size: SH
  46. Remove the roll pin (1) from the 1st/2nd shift fork using a punch and hammer.
  47. Discard the roll pin.
  48. Slide the 1st/2nd shaft upward and clear of the housing.
  49. Remove the fork and the shaft from the case.

  50. Object Number: 12436  Size: SH
  51. Remove the reverse shift lever clevis pin.
  52. Remove the reverse shift lever pin.
  53. Remove the reverse shift lever.
  54. Remove the input and output shafts with the 3rd/4th shift fork and shaft as an assembly.
  55. Important: Do not lose the interlock pin located at the bottom of the 3rd/4th shift shaft. The pins are specific for each shaft.

  56. Remove the reverse shift bracket together with the four bolts.
  57. Remove the three 10 mm interlock pins. The pin lengths are specific for this location.

  58. Object Number: 403568  Size: SH
  59. Remove the differential case assembly from the clutch housing.

  60. Object Number: 168758  Size: SH
  61. Remove the outer races for the output shaft front. Use the J 26941 and the J 2619-O1 .

  62. Object Number: 168761  Size: MH
  63. Remove the differential side bearing from the clutch housing. Use the J 26941 and the J 2619-O1 .
  64. Remove the input shaft front bearing from the clutch housing. Use the J 41678 and the J 8092 .
  65. Remove the input shaft seal from the housing.

  66. Object Number: 403582  Size: SH
  67. Remove the magnet from the clutch housing.

  68. Object Number: 403585  Size: SH
  69. Remove the bolt and vehicle speed sensor from the clutch housing.