GM Service Manual Online
For 1990-2009 cars only

Important: The synchronizer hubs and the sliding sleeves are a selected assembly and these should be kept together as originally assembled.

  1. Clean the synchronizer components with clean solvent.
  2. Air dry the components.
  3. Inspect the synchronizer teeth for the following conditions:
  4. • Wear
    • Scuffing
    • Nicks
    • Burrs
    • Breaking
  5. Replace the keys or the springs if the following conditions exist:
  6. • Wear
    • Cracks
    • Distortion
  7. If scuffed, nicked or burred conditions cannot be corrected with a soft stone or crocus cloth, replace the component.

  8. Object Number: 12513  Size: SH
  9. Measure the clearance between the blocker ring and the inserts. Replace the components if these are not within the following specifications:
  10. • 1st/2nd gear--3.9 mm (0.154 in) or less
    • 3rd/4th and 5th gear--3.7 mm (0.146 in) or less

    Object Number: 12514  Size: SH
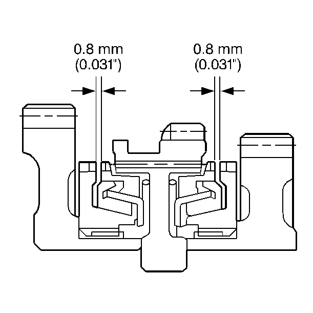
  11. Measure the clearance between the blocker ring and the gear. Replace the component if the measurement is less than 0.8 mm (0.031 in).

  12. Object Number: 12515  Size: SH
  13. Measure the clearance between the blocker ring and the synchronizer cones. Replace the 1st/2nd synchronizer components if the measurement exceeds 0.8 mm (0.031 in).
  14. When assembling the synchronizer assemblies, make sure that each insert spring supports all three of the keys. Also, make sure that each opening portion of the insert spring faces the opposite direction from each other.