GM Service Manual Online
For 1990-2009 cars only

Removal and Measurements

Tools Required

    • J 8059 Parallel Jaws
    • J 41681 Clutch Spring Compressor
    • J 8001 Dial Indicator Set
    • J 26900-13 Magnetic Base

    Object Number: 153793  Size: SH
  1. Remove the planetary gear snap ring using the J 8059 .

  2. Object Number: 153794  Size: SH
  3. Remove the planetary gear (1) from the center support (2).

  4. Object Number: 153796  Size: SH
  5. Measure the B1 brake piston stroke using the J 8001 and the J 26900-13 :
  6. 3.1. Place the J 8001 plunger on the B1 brake piston.
    3.2. Apply 392-785 kPa (57-114 psi) of air pressure into the extreme LH overdrive case fluid passage.
    3.3. Measure the B1 brake piston stroke.

    Specification
    B1 brake piston stroke (standard): 0.63-1.73 mm (0.025-0.068 in)

    3.4. If the B1 brake piston stroke is not within specifications, replace the brake flange or the disc.

    Object Number: 153808  Size: SH
  7. Remove the B1 brake clutch snap ring (2) from the center support (1) using a flathead screwdriver.

  8. Object Number: 153809  Size: SH
  9. Remove the following B1 brake components from the center support:
  10. • The flange (1)
    • The clutch discs (2)
    • The clutch plates (3)

    Object Number: 153810  Size: SH
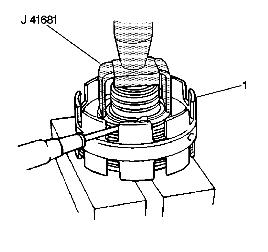
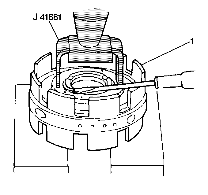
  11. Remove the B1 brake piston return spring snap ring from the B1 brake piston retainer using the J 41681 and a hydraulic press.

  12. Object Number: 153811  Size: SH
  13. Remove the B1 brake piston return springs from the center support (1).

  14. Object Number: 153812  Size: SH

    Important: When using compressed air to remove components, air pressure should not exceed 98 kPa (14 psi).

  15. Apply low pressure compressed air to the extreme LH fluid passage (1) in order to remove the B1 brake piston.
  16. Remove the O-rings from the B1 brake piston.

  17. Object Number: 153813  Size: SH
  18. Remove the three rear sealing rings (1) from the center support.

  19. Object Number: 153814  Size: SH
  20. Measure the B2 brake piston stroke using the J 8001 and the J 26900-13 :
  21. 11.1. Place the J 8001 plunger on the B2 brake piston.
    11.2. Apply 392-785 kPa (57-114 psi) of air pressure into the second LH overdrive case fluid passage.
    11.3. Measure the B2 brake piston stroke.

    Specification
    B2 brake piston stroke (standard): 1.01-2.25 mm (0.040-0.088 in)

    11.4. If the B2 brake piston stroke is not within specifications, replace the brake flange or the disc.
  22. Remove the B2 brake snap ring from the center support.
  23. Remove the following B2 brake components from the center support:
  24. • The flange
    • The clutch discs
    • The clutch plates

    Object Number: 153815  Size: SH
  25. Remove the B2 brake piston return spring snap ring from the B2 brake piston retainer using the J 41681 and a hydraulic press.
  26. Remove the B2 brake piston return springs from the center support (1).

  27. Object Number: 153816  Size: SH

    Important: When using compressed air to remove components, air pressure should not exceed 98 kPa (14 psi).

  28. Apply low pressure compressed air to the second LH fluid passage (1) in order to remove the B2 brake piston (2).
  29. Remove the O-rings from the B2 brake piston.

  30. Object Number: 153817  Size: SH
  31. Perform the following steps in order to inspect the planetary sun gear (2) operation:
  32. 18.1. Hold the B2 brake hub assembly (1).
    18.2. Inspect that the gear locks when turned in the clockwise direction (3).
    18.3. Inspect that the gear turns freely in the counter clockwise direction (4).

    Object Number: 153819  Size: SH
  33. Remove the B2 brake hub assembly (1) from the planetary sun gear (2).

  34. Object Number: 153820  Size: SH
  35. Remove the two planetary sun gear sealing rings (2).

Installation Procedure

Tools Required

    • J 8059 Parallel Jaws
    • J 41681 Clutch Spring Compressor
    • J 8001 Dial Indicator Set
    • J 26900-13 Magnetic Base
  1. Install the two planetary sun gear seal rings.
  2. Lubricate the seal rings with A/T fluid.
  3. Install the B2 brake hub assembly to the planetary sun gear.
  4. Install two new O-rings to the B2 brake piston.
  5. Lubricate the O-rings with A/T fluid.
  6. Install the B2 brake piston to the center support.
  7. Install the B2 brake piston return springs to the B2 brake piston.
  8. Important: Do not align the snap ring opening with B2 brake piston return spring retainer lug (2) during the next step.


    Object Number: 153821  Size: SH
  9. Install the B2 brake piston return spring snap ring to onto the B2 piston return spring retainer using the J 41681 and a hydraulic press.
  10. Install the B2 brake plates and discs in the following order:
  11. 9.1. The plate
    9.2. The disc
    9.3. The plate
    9.4. The disc
    9.5. The plate
    9.6. The disc

    Object Number: 153822  Size: SH
  12. Install the B2 brake flange (1) with the chamfered side facing the disc (2).
  13. Install the B2 snap ring into the center support.

  14. Object Number: 153814  Size: SH
  15. Measure the B2 brake piston stroke using the J 8001 and the J 26900-13 :
  16. 12.1. Place the J 8001 plunger on the B2 brake piston.
    12.2. Apply 392-785 kPa (57-114 psi) of air pressure into the second LH overdrive case fluid passage.
    12.3. Take the measurement.

    Specification
    B2 brake piston stroke (standard): 1.01-2.25 mm (0.040-0.088 in)

    12.4. If the B2 brake piston stroke is not within specifications, disassemble and inspect.
  17. Install the three rear seal rings to the center support.
  18. Lubricate the seal rings with A/T fluid.
  19. Install two new O-rings to the B1 brake piston.
  20. Lubricate the O-rings with A/T fluid.
  21. Install the B1 brake piston to the center support.
  22. Install the B1 brake piston return springs to the B1 brake piston.
  23. Install the B1 brake piston return spring snap ring onto the B1 brake piston return spring retainer using the J 41681 and a hydraulic press.
  24. Install the B1 brake plates and discs in the following order:
  25. 20.1. The plate
    20.2. The disc
    20.3. The plate
    20.4. The plate
    20.5. The disc
  26. Install the B1 brake flange with the chamfered side facing the disc.
  27. Install the B1 snap ring into the center support.

  28. Object Number: 153796  Size: SH
  29. Measure the B1 brake piston stroke using the J 8001 and the J 26900-13 :
  30. 23.1. Place the J 8001 plunger on the B1 brake piston.
    23.2. Apply 392-785 kPa (57-114 psi) of air pressure into the extreme LH overdrive case fluid passage.
    23.3. Take the measurement.

    Specification
    B1 brake piston stroke (standard): 0.63-1.73 mm (0.025-0.068 in)

    23.4. If the B1 brake piston stroke is not within specifications, disassemble and inspect.
  31. Install the planetary gear to the center support.
  32. Install the planetary gear snap ring using the J 8059 .