GM Service Manual Online
For 1990-2009 cars only

Overdrive Overhaul Planetary Gear Side

Removal Procedure

Tools Required

    • J 41681 Clutch Spring Compressor
    • J 8001 Dial Indicator Set

    Object Number: 153709  Size: SH
  1. Hold the overdrive clutch drum (4) in a stationary position.
  2. Ensure that the input shaft (2) turns smoothly in the clockwise direction (1).
  3. Ensure that the input shaft locks in the counter clockwise direction (3).

  4. Object Number: 153710  Size: SH
  5. Remove the overdrive planetary gear (2) from the overdrive clutch drum (1).

  6. Object Number: 153712  Size: SH
  7. Perform the following steps in order to measure the overdrive clutch piston stroke:
  8. 5.1. Temporarily install the overdrive clutch drum (1) to the oil pump (2).
    5.2. Place the J 8001 plunger on the overdrive clutch piston.
    5.3. Apply 392-785 kPa (57-114 psi) of compressed air into the oil passage.
    5.4. Measure the movement of the overdrive clutch piston.

    Specification
    Overdrive clutch piston stroke (standard): 1.47-2.28 mm (0.058-0.089 in)

    5.5. Replace the following components as needed if the stroke is not within specifications:
       • The cushion clutch plate
       • The clutch disc

    Object Number: 153713  Size: SH
  9. Remove one brake hub snap ring (2) from the overdrive clutch drum.
  10. Remove the brake hub (1) from the overdrive clutch drum.

  11. Object Number: 153714  Size: SH
  12. Remove the cushion plate snap ring (1).
  13. Remove the following components from the overdrive clutch drum (2):
  14. • The cushion plate
    • The backing plate
    • The clutch disc

    Object Number: 153715  Size: SH
  15. Compress the overdrive clutch piston (1) using the J 41681 while removing the snap ring.

  16. Object Number: 153717  Size: SH

    Important: When using compressed air toremove components, air pressure should not exceed 98 kPa (14 psi).

  17. Temporarily install the overdrive clutch drum to the oil pump (2).
  18. Apply compressed air into the oil passage.
  19. Remove the overdrive clutch drum from the oil pump.
  20. Remove the inner and outer O-rings from the overdrive clutch piston.

  21. Object Number: 153718  Size: SH
  22. Remove the overdrive planetary gear snap ring using a flathead screwdriver.
  23. Remove the following components from the overdrive planetary gear (1):
  24. • The one-way clutch
    • The thrust washer
    • The thrust bearing
  25. Clean all overdrive clutch components.
  26. Allow the components to air dry.
  27. Inspect the overdrive clutch disc for excessive wear or damage. Replace as necessary.
  28. Inspect the overdrive clutch piston porosity. Replace as necessary.
  29. Shake the clutch piston in order to make sure that the check ball moves freely.

  30. Object Number: 153719  Size: SH
  31. Apply low air pressure to the overdrive clutch piston check ball opening in order to inspect for leaks.
  32. Inspect the one-way clutch flange. Replace as necessary.
  33. Inspect the planetary thrust washer. Replace as necessary.

Installation Procedure

Tools Required

    • J 41681 Clutch Spring Compressor
    • J 36850 Transjel® Transmission Assembly Lubricant

Important: When installing the one-way clutch snap ring, do not align the snap ring opening with the lug on the clutch piston spring retainer.

  1. Install the planetary thrust washer (2) with the oil groove (3) facing the front.

  2. Object Number: 153721  Size: SH
  3. Install the one-way clutch outer bearing race with the flange (1) facing the front.
  4. Apply J 36850 to the following components:
  5. • The thrust bearing
    • The planetary thrust washer
  6. Install the thrust bearing and the planetary thrust washer into the overdrive planetary gear.

  7. Object Number: 153722  Size: SH
  8. Install the one-way clutch to the overdrive planetary gear.
  9. Install the overdrive planetary gear snap ring.
  10. Install new O-rings to the inner and outer overdrive clutch pistons.
  11. Lubricate the O-rings with A/T fluid.
  12. Install the overdrive clutch piston to the overdrive clutch drum.
  13. Install the overdrive clutch piston return springs.

  14. Object Number: 153715  Size: SH
  15. Compress the overdrive clutch piston (1) using the J 41681 while installing the overdrive clutch piston snap ring.

  16. Object Number: 153723  Size: SH

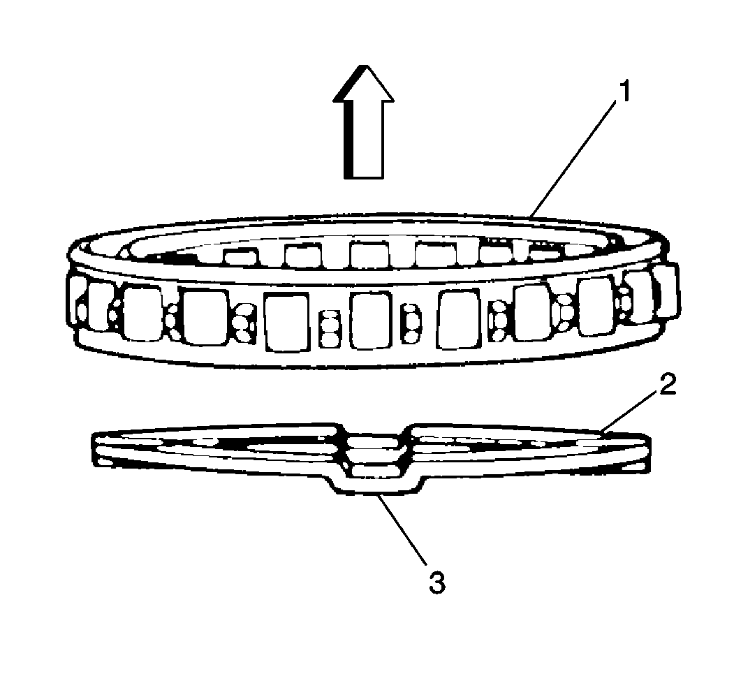
    Important: When installing the cushion plate, refer to the graphic shown.

  17. Install the following components to the overdrive clutch drum:
  18. • The clutch disc
    • The backing plate
    • The cushion plate (3)
    • The snap ring
    • The brake hub

    Object Number: 153724  Size: SH
  19. Install the brake hub snap ring (2).

Overdrive Overhaul Case Side

Removal and Inspection Procedure

Tools Required

J 26900-5 Vernier Caliper

  1. Place the feeler gage between the brake flange (2) and the snap ring (1) in order to measure the clearance.
  2. Take a measurement.
  3. Specification
    Brake flange-to-snap ring clearance (standard): 0.35-1.91 mm (0.014-0.075 in)

  4. Replace the clutch disc or plate if the readings are not as specified.

  5. Object Number: 153727  Size: SH
  6. Remove the following components from the overdrive case:
  7. • The brake flange snap ring (1)
    • The brake flange (2)
    • The clutch discs (3)
    • The clutch plates (4)
    • The cushion brake plate (5)
    • The planetary ring gear
    • The thrust bearing races
    • The thrust bearing

    Object Number: 153728  Size: SH
  8. Remove the following clutch piston return spring components using a flathead screwdriver:
  9. • The snap ring
    • The retainer
    • The springs

    Object Number: 153730  Size: SH
  10. Apply low compressed air into the overdrive case (2) fluid hole in order to remove the brake piston (1).
  11. Remove the brake piston O-rings.

  12. Object Number: 153732  Size: SH
  13. Remove the following components from the rear of the overdrive case.
  14. • The two sealing rings (1)
    • The bearing
    • The bearing race

    Object Number: 153765  Size: SH
  15. Measure the free length of the clutch piston return springs (1) using the J 26900-5 .
  16. Specification
    Clutch piston return spring free length (standard): 15.10 mm (0.594 in)

    Replace the springs if the springs are not within specifications.

Installation Procedure

Tools Required

J 36850 Transjel® Transmission Assembly Lubricant

  1. Apply J 36850 to the bearing and race.
  2. Install the bearing and race to the rear of the overdrive case.
  3. Install new seal rings to the rear of the overdrive case.
  4. Lubricate the seals with A/T fluid.
  5. Install the brake piston.
  6. Install the following components into the overdrive case:
  7. • The 20 piston return springs
    • The piston spring retainer
    • The snap ring (2)

    Object Number: 153766  Size: SH
  8. Inspect that the snap ring end gap does not align with one of the overdrive case cutouts.
  9. Install the following components in the exact order given to the overdrive case after applying J 36850 :
  10. 8.1. The bearing race
    8.2. The thrust bearing
    8.3. The thrust bearing race
  11. Install the planetary ring gear.

  12. Object Number: 153767  Size: SH
  13. Install the cushion brake plate.
  14. Install the overdrive clutch plates and discs in the following order:
  15. 11.1. The plate
    11.2. The plate
    11.3. The disc
    11.4. The plate
    11.5. The disc
  16. Install the brake plate.
  17. Install the brake plate snap ring, making sure the end gap does not align with any of the overdrive case cutouts.
  18. Measure the brake backing plate-to-snap ring clearance using a feeler gage.
  19. Specification
    Brake backing plate-to-snap ring clearance (standard): 0.35-1.91 mm (0.014-0.075 in)

    Disassemble and inspect if not within specifications.