GM Service Manual Online
For 1990-2009 cars only

1st/2nd, 3rd/4th Shift Rail Assembly

Tools Required

J 36850 Assembly Lube


    Object Number: 409554  Size: SH
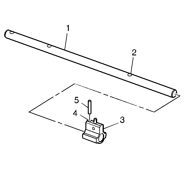
  1. Install the selector pin (3) on the shift shaft (4).
  2. Line up the roll pin hole on the selector pin (4) with the roll pin hole on the shift shaft (2).
  3. Install the roll pin (5) through the selector pin (3) and the shift shaft (1).

  4. Object Number: 409553  Size: SH
  5. Install the interlocking plate (2) on the selector pin (1).

  6. Object Number: 409552  Size: SH
  7. Install the shift link (1) in the 3rd/4th shift fork (2).

  8. Object Number: 409551  Size: SH
  9. Install the 3rd/4th shift fork (2) on the shift shaft (1).

  10. Object Number: 409555  Size: SH
  11. Align the notch on the shift link (2) with the selector roll pin (1).

  12. Object Number: 409550  Size: SH
  13. Install the shift link (2) with the 1st/2nd shift fork (1).

  14. Object Number: 409549  Size: SH
  15. Install the 1st/2nd shift fork (1) on the shift shaft (2).

  16. Object Number: 409556  Size: SH
  17. Install the 1st/2nd shift shaft link (1) on top of the 3rd/4th shift shaft link (3) on the interlocking plate and the selector roll pin assembly (2).

5th/6th, Reverse Shift Rail Assembly

Tools Required

J 39437 Bushing Installer


    Object Number: 402004  Size: SH
  1. Install the 5th/6th shift shaft lever bushings (1) and (3) in the 5th/6th shift lever (2) using the J 39437 and a hammer.

  2. Object Number: 402007  Size: SH
  3. Install the retainer ring (1) on the 5th/6th shift lever (2).

  4. Object Number: 402009  Size: SH
  5. Install the 5th/6th shift lever (2) on the shift shaft (1).

  6. Object Number: 402012  Size: SH
  7. Install the reverse shift lever (2) on the shift shaft (1).

  8. Object Number: 402013  Size: SH
  9. Install the reverse lever roll pin (3).
  10. Install the reverse collar (2).
  11. Install the reverse collar roll pin  (1).