GM Service Manual Online
For 1990-2009 cars only

Extension Housing Removal

Tools Required

    • J 3289-20 Holding Fixture Bench Mount
    • J 39430 Transmission Support Fixture
    • J 39431 Gear Remover and Bolts
    • J 8433 Universal Bridge Puller
    • J 41099 Solenoid Socket

    Object Number: 351939  Size: SH
  1. Remove the vent pipe.
  2. Install the J 39430 .
  3. Mount the transmission on a workbench using the J 3289-20 .
  4. Rotate the transmission into a horizontal position.
  5. Remove the transmission drain plug and drain the transmission fluid.
  6. Shift the transmission into neutral (N).

  7. Object Number: 351943  Size: SH
  8. Remove the shifter bolts and the shifter.

  9. Object Number: 38223  Size: SH
  10. Remove rear offset shift lever roll pin.

  11. Object Number: 38224  Size: SH
  12. Remove rear offset shift lever and isolator cup.

  13. Object Number: 408194  Size: SH
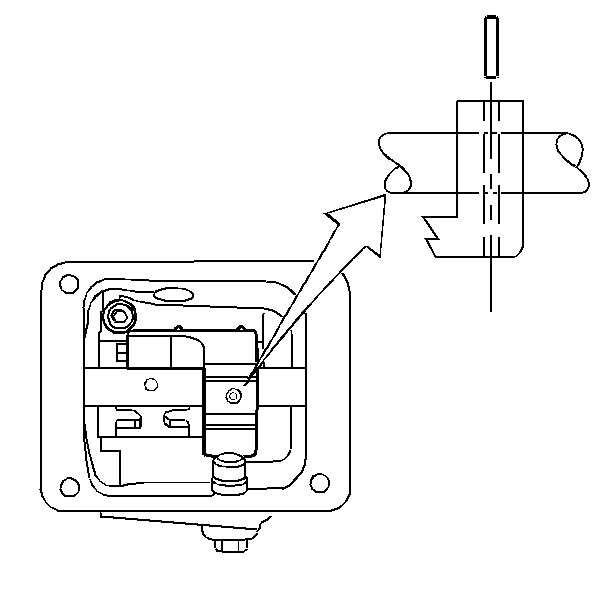
  14. Remove the reverse lockout solenoid from the reverse lockout body using J 41099 .

  15. Object Number: 408219  Size: SH
  16. Remove the reverse lockout assembly bolt and reverse lockout body.

  17. Object Number: 408217  Size: SH
  18. Remove the speed sensor bolt and the speed sensor.

  19. Object Number: 351941  Size: SH
  20. Remove the rear extension housing bolts and the rear extension housing.

  21. Object Number: 408222  Size: SH
  22. Remove the speed sensor reluctor wheel retaining ring.
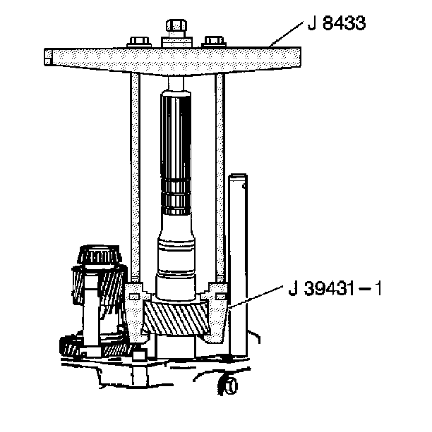
  23. Remove the speed sensor reluctor wheel using J 39431 and J 8433 .
  24. Remove the speed sensor reluctor wheel retaining ring.

Reverse Speed Gear Removal


    Object Number: 38233  Size: SH
  1. Remove the rear bearing retainer ring.
  2. Remove the spacer.
  3. Remove the mainshaft rear roller bearing.
  4. Remove the spacer.

  5. Object Number: 38238  Size: SH
  6. Remove the retainer ring.
  7. Remove the reverse gear thrust washer.
  8. Remove the reverse gear.
  9. Remove the reverse gear caged needle bearing.
  10. Remove the wave washer.
  11. Remove the reverse gear synchronizer blocking ring.

Reverse Shift Fork Removal


    Object Number: 38239  Size: SH
  1. Remove the reverse synchronizer retainer ring.

  2. Object Number: 38241  Size: SH
  3. Remove the reverse shift fork retainer ring. Discard the retainer ring.

  4. Object Number: 4810  Size: SH
  5. Scribe a mark on the synchronizer hub and on the sleeve. This will help you to reinstall the parts in the same position.

  6. Object Number: 38242  Size: SH
  7. Remove the following parts in order:
  8. 4.1. The thrust washer
    4.2. The reverse synchronizer assembly and the shift fork

5th/6th Speed Driven Gear Removal

Tools Required

    • J 8433 Universal Bridge Puller
    • J 39431 Gear Remover

Object Number: 74207  Size: SH

Remove the 5th/6th speed driven gear, using the J 8433 and the J 39431 .

Countershaft Extension Removal


    Object Number: 38246  Size: SH
  1. Remove the 5th/6th speed shift fork retainer ring.

  2. Object Number: 38247  Size: SH
  3. Rotate the transmission in the horizontal position with the guide plate up.
  4. Remove the countershaft extension assembly with the 5th/6th speed shift fork.

Transmission Case Removal

Tools Required

J 41099 Reverse Solenoid Socket


    Object Number: 33363  Size: SH
  1. Remove the computer aided gear select solenoid.

  2. Object Number: 38248  Size: SH
  3. Remove the shifter cover plate retainer bolts.
  4. Remove the shifter cover plate.

  5. Object Number: 388460  Size: SH
  6. Remove the shift detent assembly.

  7. Object Number: 351945  Size: SH
  8. Remove 9 of the 11 adapter plate to transmission case bolts.
  9. Rotate the transmission into the vertical position.

  10. Object Number: 351948  Size: SH
  11. Remove the last 2 adapter plate to transmission case bolts.
  12. Remove the shift lever guide bolts.

  13. Object Number: 38316  Size: SH
  14. Remove the magnets from the transmission case.

  15. Object Number: 38251  Size: SH
  16. Remove the offset lever roll pin.

  17. Object Number: 38607  Size: SH
  18. Remove the transmission case and the offset lever together as follows:
  19. 11.1. Slide the transmission case up and off of the gear clusters and the shift shaft components.
    11.2. Hold the offset lever against the guide plate in order to prevent the release of the detent ball and the spring.
    11.3. Remove the offset lever from the transmission case.

Guide Plate Removal


    Object Number: 38317  Size: SH
  1. Remove the detent guide plate attaching bolts.
  2. Remove the detent guide plate.

Reverse Lockout Assembly Disassemble


    Object Number: 408224  Size: SH

    Caution: The reverse lockout assembly is under spring pressure. Exercise caution when removing the retainer ring, as bodily injury may result.

  1. Disassemble the reverse lockout assembly in the following sequence:
  2. Remove the O-ring (8) from the body (1).
  3. Remove the retainer ring (7) from the body (1).
  4. Remove the reverse lockout inner spring (2).
  5. Compress the reverse lockout plunger (6) and the collar (4) in a vise and remove the retainer ring (3).
  6. Remove the reverse lockout plunger (6).
  7. Remove the reverse lockout outer spring (5).
  8. Remove the reverse lockout collar (4).

Shift Shaft Assemblies and Gear Cluster Removal


    Object Number: 38610  Size: SH
  1. Rotate the 5th/6th and the reverse shift shaft levers off the shift interlock plate.
  2. Remove the 5th/6th and the reverse shift shaft assembly.

  3. Object Number: 38611  Size: SH
  4. Remove the countershaft. Lift up the mainshaft enough in order to remove the countershaft.

  5. Object Number: 38612  Size: SH
  6. Remove the mainshaft and the shift shaft components as an assembly.
  7. Remove the shift shaft assembly from the mainshaft.

  8. Object Number: 105697  Size: SH
  9. Remove the 4th speed gear blocker ring.
  10. Remove the input shaft.