GM Service Manual Online
For 1990-2009 cars only
Figure 1:

Transmission Major Component Locations


Object Number: 178692  Size: LF
(1)Torque Converter Housing
(2)Torque Converter
(3)Turbine Shaft
(4)Oil Pump Assembly
(5)Adapter Case
(6)Overdrive Clutch Roller Assembly
(7)Overrun Clutch Plate Assembly
(8)Overdrive Complete Carrier Assembly
(9)Reverse Clutch Plate Assembly
(10)2nd Clutch Plate Assembly
(11)Main Case
(12)3rd Clutch Plate Assembly
(13)Sprag, Cage Assembly
(14)Extension Housing
(15)Output Shaft
(16)Speed Sensor Assembly
(17)Drive Flange
(18)Speedo Wheel
(19)Parking Lock Wheel
(20)Band Assembly
(21)Servo Piston Assembly
(22)Planetary Carrier Assembly
(23)Detent Lever
(24)Center Support
(25)Main Case Valve Body Assembly
(26)4th Clutch Plate Assembly
(27)Adapter Case Control Valve Assembly
(28)TCC Solenoid Assembly
(29)Converter Pump Assembly
(30)Stator
(31)Turbine Assembly
(32)Pressure Plate
Figure 2:

Case and Associated Parts (1 of 2)


Object Number: 178674  Size: LF
(1)Torque Converter
(2)Converter to Pump Seal Screw
(3) Converter Housing Seal Ring Assembly
(4)Converter Housing/Main Case Screw
(5)Converter Housing/Oil Pump Screw
(6)Converter Housing
(7)Converter Housing Plug
(8)Oil Pump to Converter Housing Seal
(8)Oil Pump to Converter Housing Seal
(9)Oil Pump Body Wear Plate
(10)Oil Pump Assembly
(11)Oil Pump to Adapter Case Gasket
(12)Selective Thrust Washer
(12)Selective Thrust Washer
(13) 3-4 Accumulator Piston Cover Retainer Ring
(14)3-4 Accumulator Piston Cover
(16)3-4 Accumulator Piston Spring
(17)3-4 Accumulator Piston Pin
(18)3-4 Accumulator Piston
(19)3-4 Accumulator Piston Ring
(20)Adapter Case
(22)Electrical/Adapter Case Connector
(23)Oil Pan Screw
(27)Oil Restrictor
(28)Center Support Spacer Plate Gasket
(28)Center Support Spacer Plate Gasket
(29)Adapter/Center Support Spacer Plate
(30)Center Support Assembly
(31)Center Support Screw
(32)Oil Seal
(67)Adapter Case Oil Pan
(68)Adapter Case Oil Pan Gasket
(69)Adapter Case Harness Assembly
(71)Adapter Case Control Valve Assembly
(72)Adapter Case Control Valve Gasket Assembly
(73)Adapter Spacer Plate
(85)Ball Check Valve
(104)Adapter Case/Spacer Plate Gasket
(105)Transmission Control Module (TCM)
(109)Adapter Case Control Valve Assembly Screw
Figure 3:

Case and Associated Parts (2 of 2)


Object Number: 178675  Size: LF
(23)Oil Pan Screw
(33)Main Case to Adapter Case Seal
(34)Cooler Fitting (Outlet)
(35)Cooler Fitting (Inlet)
(36)Main Case
(37)Breather Pipe
(38)Breather Pipe Seal
(39)Reservoir
(42)Extension Case Gasket
(43)Extension Assembly
(44)Speed Sensor Seal
(45)Speed Sensor Assembly
(46)Speed Sensor Screw
(47)Output Shaft/Drive Flange Nut
(48)Drive Flange Seal
(49)Drive Flange
(50)Extension Assembly Seal
(51)Needle/Extension Bearing
(52)Extension Screw
(53)Parking Lock Pawl Spring
(54)Parking Lock Pawl
(55)Electrical/Main Case Connector
(56)Parking Lock Actuator Assembly
(57)Manual Shaft Nut
(58)Manual Valve Link
(59)Spring Pin
(60)Detent Lever
(61)Manual Shaft
(62)Manual Shaft Seal
(63)Mode Switch Assembly
(64)Mode Switch Screw
(65)Mode Switch Shield
(70)Main Case Control Valve Body Assembly Screw
(70)Main Case Control Valve Body Assembly Screw
(70)Main Case Control Valve Body Assembly Screw
(74)Main Case Oil Pan
(75)Oil Pan/Main Case Gasket
(78)Chip Collector Magnet
(79)Oil Filter
(80)Main Case Harness Assembly
(82)Manual Detent Roller and Spring Assembly
(84)Main Case Control Valve Assembly
(85)Ball Check Valve
(85)Ball Check Valve
(86)Main V.B./Spacer Plate Gasket
(87)Main V.B./Spacer Plate
(88)Spacer/Main Case Gasket
(89)Spacer Plate on V.B. Screw
(90)Servo Cover Screw
(91)Servo Piston Cover
(92)Servo Piston Cover Gasket
(93)Servo Piston Retaining Ring
(94)Servo Piston Clip
(95)Servo Screw Nut
(96)Servo Piston Screw
(97)Servo Piston
(98)Servo Piston Seal
(99)Servo Piston Cushion Spring
(100)Cushion Spring Seat
(101)Servo Piston Adjusting Sleeve
(102)Servo Piston Apply Rod
(103)Servo Piston Return Spring
(106)Servo Piston Assembly
(108)Fill Plug
(110)Electrical Connector Seal
(111)Bracket
(112)Bracket
(113)Fill Plug Seal
Figure 4:

Oil Pump Assembly


Object Number: 178677  Size: MF
(201)Oil Pump Drive Gear
(202)Oil Pump Driven Gear
(203)Boost Valve Sleeve Pin
(204)Boost Valve Sleeve
(205)Boost Valve
(206)Pressure Regulator Valve Spring Seat
(206)Pressure Regulator Valve Spring Seat
(207)Pressure Regulator Valve Spring
(208)Pressure Regulator Valve
(209)Oil Pump Body
(210)Converter Clutch Control Valve
(211)Converter Clutch Control Valve Spring
(212)Converter Clutch Control Valve Plug
(213)Spring Pin
(214)Throttle Signal Accumulator Piston
(215)Throttle Signal Accumulator Spring
(216)Throttle Signal Accumulator Spring Seat
(217)Throttle Signal Accumulator Retainer Ring
Figure 5:

Adapter Valve Body Assembly


Object Number: 178678  Size: MF
(85)Ball Check Valve
(401)Adapter Case Valve Body
(402)Solenoid Screw
(402)Solenoid Screw
(403)Pressure Control Solenoid Retainer
(404)Pressure Control Solenoid
(405)3-4 Accumulator Plug
(407)3-4 Accumulator Valve
(408)3-4 Accumulator Valve Spring (Optional)
(409)3-4 Accumulator Control Valve
(410)Feed Limit Valve Spring
(411)Spring Seat
(412)Feed Limit Valve
(413)Filter Plug Seal
(414)Screen Plug
(415)Pressure Control Solenoid Screen Assembly
(416)Torque Converter Clutch On/Off N.C. Solenoid
(418)Plug and Spring Retainer
(419)Retainer
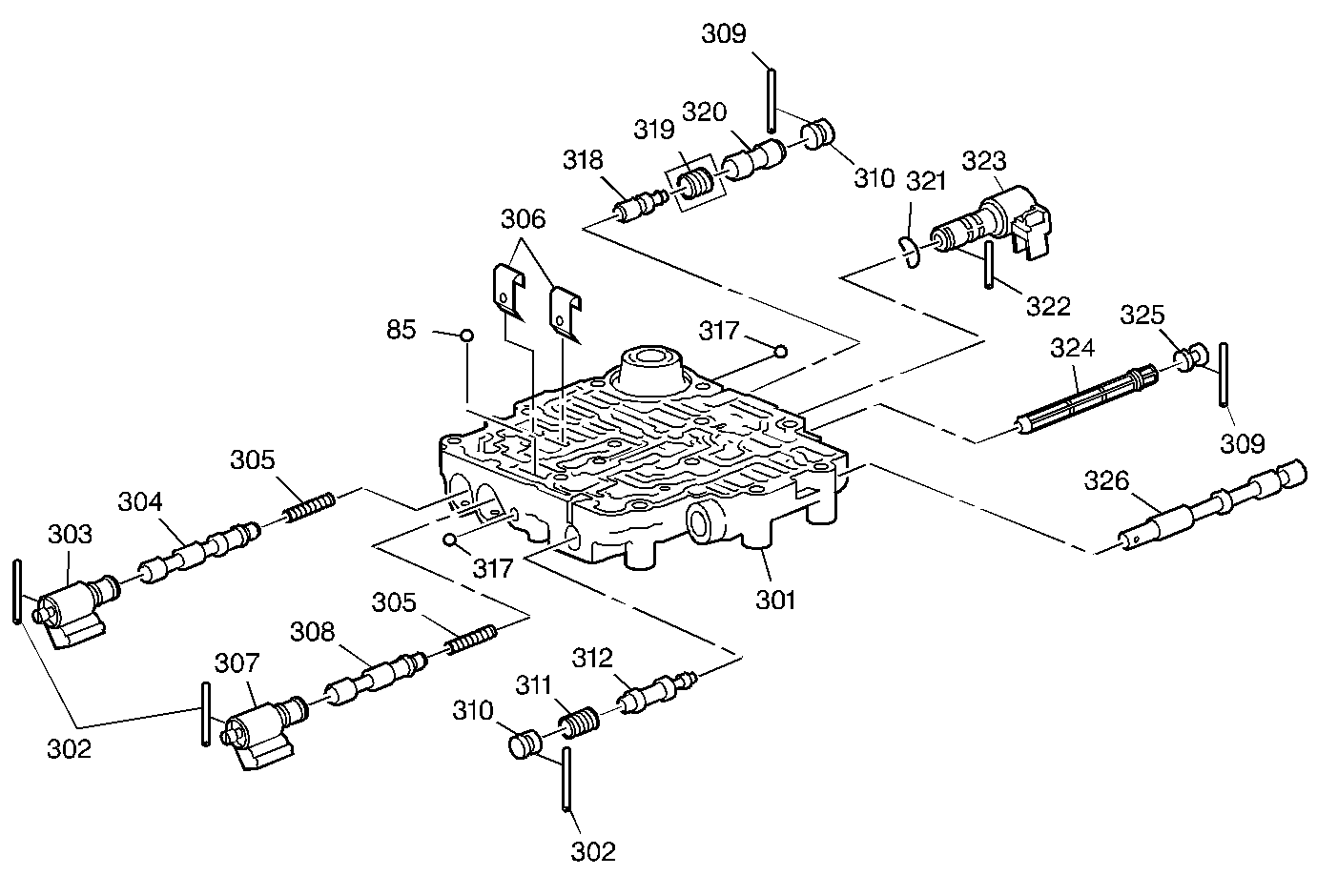
Figure 6:

Main Case Valve Body Assembly


Object Number: 178679  Size: MF
(85)Ball Check Valve
(301)Main Case Valve Body
(302)Spring Pin
(302)Spring Pin
(303)On/Off N.C. Solenoid Assembly
(304)1-2 and 3-4 Shift Valve
(305)1-2 and 3-4 Shift Valve Spring
(305)1-2 and 3-4 Shift Valve Spring
(306) Valve Retainer
(307)On/Off N.O. Solenoid Assembly
(308)2-3 Shift Valve
(309)Spring Pin
(309)Spring Pin
(310)Valve Bore Plug
(310)Valve Bore Plug
(311)Low Pressure Control Valve Spring
(312)Low Pressure Control Valve
(317)Ball, Plug
(317)Ball Plug
(318)1-2 Accumulator Control Valve
(319)1-2 Accumulator Control Spring (Optional)
(320)1-2 Accumulator Valve
(321)PWM Solenoid Waved Washer
(322)PWM Solenoid Pin
(323)PWM Band Control Solenoid Assembly,
(324)PWM Solenoid Screen Assembly
(325)Screen Plug
(326)Manual Valve
Figure 7:

Overdrive Internal Components


Object Number: 178682  Size: LF
(501)4th Clutch Retainer
(502)4th Clutch (Steel) Plate
(503)4th Clutch (Lined) Plate Assembly
(504)Ball Check Valve & Retainer Assembly
(505)Turbine Shaft Seal
(506)Turbine Shaft
(508)Turbine Shaft Oil Seal Ring
(510)Overrun Clutch Housing
(513)Overrun Clutch Piston and Seal Assembly
(514)Overrun Clutch Release Spring
(515)Overrun Clutch Release Spring Retainer
(516)Overdrive Clutch Roller Assembly
(517)Overdrive Roller Clutch Cam
(518)Overrun Clutch Hub Retainer Ring
(519)Overdrive Sun Gear
(520)Overrun Clutch Cushion Plate
(521)Overrun Clutch (Steel) Plate
(522)Overrun Clutch (Lined) Plate Assembly
(523)Overrun Clutch Backing Plate
(524)Overrun Clutch Housing Retainer Ring
(525)Overdrive Carrier Assembly
(526)Turbine Shaft Overdrive Carrier Retainer Ring
(527)Thrust Bearing Assembly
(528)Overdrive Internal Gear
(529)Internal Gear Thrust Washer
(530)4th Clutch Spring Retainer Adapter Ring
(531)4th Clutch Retainer and Spring Assembly
(532)4th Clutch Piston
(533)4th Clutch Piston (Inner) Seal
(534)4th Clutch Piston (Outer) Seal
(535)Turbine Shaft Oil Seal Ring
Figure 8:

Internal Components (1 of 2)


Object Number: 178683  Size: MF
(608)Reverse Clutch Piston (Inner) Seal
(609)Reverse Clutch Piston (Outer) Seal
(610)Reverse Clutch Piston
(611)Piston Clutch Spring
(611)Piston Clutch Spring
(612)Reverse Clutch Spring Seat
(613)Retaining Ring
(613)Retaining Ring
(614)Reverse Clutch Cushion Plate
(615)Reverse Clutch (Steel) Plate
(616)Reverse Clutch (Lined) Plate Assembly
(617)Reverse Clutch Pressure/Selective Plate
(618)2nd Clutch Drum Assembly
(620)2nd Clutch Piston (Inner) Seal
(621)2nd Clutch Piston (Outer) Seal
(622)2nd Clutch Piston
(623)2nd Clutch Spring Seat
(625)2nd Clutch Cushion Plate
(626)2nd Clutch (Steel) Plate
(627)2nd Clutch (Lined) Plate Assembly
(628)2nd Clutch Spacer
(629)Retaining Ring
(629)Retaining Ring
(630)Ring Gear
Figure 9:

Internal Components (2 of 2)


Object Number: 178685  Size: MF
(611)Piston Clutch Spring
(631)2nd/3rd Clutch Thrust Washer
(632)Clutch Hub Thrust Washer
(634)3rd Clutch Drum Assembly
(635)3rd Clutch Piston (Inner) Seal
(636)Retaining Washer
(637)3rd Clutch Piston (Outer) Seal
(638)3rd Clutch Piston
(639)3rd Clutch Spring Seat
(640)Retaining Ring
(641)3rd Clutch Cushion Plate
(642)Third Clutch (Steel) Plate
(643)3rd Clutch (Lined) Plate Assembly
(644)Input Sun Gear Thrust Washer
(645)Input Shaft/Sun Gear Bearing Assembly
(646)Input Sun Gear Assembly
(647)Sprag Race Assembly
(648)Sprag Retaining Ring
(649)Retaining Ring
(649)Retaining Ring
(650)Sprag Cage Assembly
(651)Output Shaft/Input Sun Gear Bearing
(652)Output Shaft/Input Sun Gear Washer
(653)Planetary Carrier Assembly
(658)Reaction Sun Gear
(659)Reaction Sun Drum
(664)Brake Band Assembly
(667)Parking Lock Wheel Seal
(668)Parking Lock Wheel
(672)Speedometer Wheel
(674)3rd Clutch (Lined) Plate Assembly
(675)Thrust Bearing Assembly
Figure 10:

Center Support Assembly


Object Number: 178686  Size: MF
(701)Center Support
(702)Retainer Plate
(702)Retainer Plate
(703)Overrun Lockout Valve Plug
(703)Overrun Lockout Valve Plug
(704)Overrun Lockout Spring
(705)Overrun Lockout Valve
(706)Reverse Lockout Control Valve
(707)Reverse Lockout Spring
Figure 11:

Bushing and Bearing Locations


Object Number: 178688  Size: LF
(1)Converter Clutch Assembly
(1)Converter Clutch Assembly
(10)Oil Pump Assembly
(10)Oil Pump Assembly
(30)Center Support Assembly
(30)Center Support Assembly
(36)Main Case
(51)Needle/Extension Bearing
(510)Overrun Clutch Housing
(525)Overdrive Carrier Assembly
(527)Thrust Bearing Assembly
(634)3rd Clutch Drum Assembly
(645)Input Shaft/Sun Gear Bearing Assembly
(651)Output Shaft/Input Sun Gear Bearing
(652)Output Shaft/Input Sun Washer
(659)Reaction Sun Drum
(675)Thrust Bearing Assembly
Figure 12:

Seal Locations


Object Number: 178690  Size: LF
(3)Converter Housing Seal Assembly
(8)O-ring Seal
(8)O-ring Seal
(19)3-4 Accumulator Piston Ring
(32)Oil Seal Ring
(38)Breather Seal Assembly
(44)Speed Sensor Seal
(48)Drive Flange Seal
(50)Extension Assembly Seal
(98)Servo Piston Seal Ring
(314)1-2 Accumulator Piston Ring
(505)Turbine Shaft Seal
(508)Turbine Shaft Oil Seal Ring
(513)Overrun Clutch Piston
(533)4th Clutch Piston (Inner) Seal
(534)4th Clutch Piston (Outer) Seal
(535)Turbine Shaft/Oil Seal Ring
(608)Reverse Clutch Piston (Inner) Seal
(609)Reverse Clutch Piston (Outer) Seal
(620)2nd Clutch Piston (Inner) Seal
(621)2nd Clutch Piston (Outer) Seal
(635)3rd Clutch Piston (Inner) Seal
(637)3rd Clutch Piston (Outer) Seal
(667)Governor Hub Seal Ring
Figure 13:

Thrust Washer Locations


Object Number: 178691  Size: LF
(12)Selective Thrust Washer
(12)Selective Thrust Washer
(529)Internal Gear Support/Thrust Washer
(631)2nd/3rd Clutch Thrust Washer
(632)Clutch Hub Retainer
(644)Input Sun Gear Thrust Washer
(652)Output Shaft/Input Sun Gear Washer
Figure 14:

Converter Housing Fluid Passages


Object Number: 178695  Size: LF
(1)Suction
(1)Suction
(2)Line
(2)Line
(2)Line
(2)Line
(3)Converter In
(3)Converter In
(4)To Cooler
(4)To Cooler
(4)To Cooler
(4)To Cooler
(4)To Cooler
(7)Line Pressure Tap
(8)Apply
(10)Throttle Signal
(12)Overrun Clutch
(12)Overrun Clutch
(14)Reverse
(25)Solenoid Signal
(25)Solenoid Signal
(25)Solenoid Signal
(31)Exhaust
(31)Exhaust
(31)Exhaust
(31)Exhaust
(31)Exhaust
(31)Exhaust
(31)Exhaust
(31)Exhaust
(31)Exhaust
(31)Exhaust
(31)Exhaust
(31)Exhaust
(31)Exhaust
(31)Exhaust
(31)Exhaust
Figure 15:

Pump Wear Plate Fluid Passages


Object Number: 178696  Size: LF
(1)Suction
(1)Suction
(2)Line
(2)Line
(2)Line
(2)Line
(2)Line
(2)Line
(3)Converter In
(3)Converter In
(3)Converter In
(3)Converter In
(3)Converter In
(4)To Cooler
(4)To Cooler
(4)To Cooler
(4)To Cooler
(4)To Cooler
(4)To Cooler
(4)To Cooler
(6)Overdrive Lube
(8)Apply
(10)Throttle Signal
(10)Throttle Signal
(10)Throttle Signal
(12)Overrun Clutch
(12)Overrun Clutch
(14)Reverse
(14)Reverse
(25)Solenoid Signal
(25)Solenoid Signal
(25)Solenoid Signal
(25)Solenoid Signal
(25)Solenoid Signal
(31)Exhaust
(31)Exhaust
(31)Exhaust
(31)Exhaust
(31)Exhaust
(31)Exhaust
(31)Exhaust
(31)Exhaust
(31)Exhaust
Figure 16:

Pump (Converter Housing Side) Fluid Passages


Object Number: 178697  Size: LF
(1)Suction
(1)Suction
(1)Suction
(1)Suction
(2)Line
(2)Line
(2)Line
(2)Line
(2)Line
(2)Line
(3)Converter In
(3)Converter In
(4)To Cooler
(4)To Cooler
(4)To Cooler
(4)To Cooler
(4)To Cooler
(6)Overdrive Lube
(6)Overdrive Lube
(7)Release
(7)Release
(7)Release
(8)Apply
(10)Throttle Signal
(10)Throttle Signal
(10)Throttle Signal
(12)Overrun Clutch
(12)Overrun Clutch
(12)Overrun Clutch
(14)Reverse
(14)Reverse
(25)Solenoid Signal
(25)Solenoid Signal
(25)Solenoid Signal
(25)Solenoid Signal
(31)Exhaust
(31)Exhaust
(31)Exhaust
(31)Exhaust
(31)Exhaust
(31)Exhaust
(31)Exhaust
(31)Exhaust
(31)Exhaust
(31)Exhaust
(31)Exhaust
(31)Exhaust
(31)Exhaust
(317)Ball Check Valve
(317)Ball Check Valve
Figure 17:

Pump (Adapter Case Side) Fluid Passages


Object Number: 178698  Size: LF
(1)Suction
(2)Line
(4)To Cooler
(6)Overdrive Lube
(6)Overdrive Lube
(7)Release
(10)Throttle Signal
(10)Throttle Signal
(12)Overrun Clutch
(12)Overrun Clutch
(12)Overrun Clutch
(14)Reverse
(25)Solenoid Signal
(25)Solenoid Signal
(31)Exhaust
(31)Exhaust
(31)Exhaust
(31)Exhaust
(31)Exhaust
(31)Exhaust
(31)Exhaust
(31)Exhaust
(317)Ball Check Valve
(317)Ball Check Valve
Figure 18:

Adapter Case (Pump Side) Fluid Passages


Object Number: 178699  Size: LF
(1)Suction
(2)Line
(4)To Cooler
(6)Overdrive Lube
(10)Throttle Signal
(11)3-4 Accumulator
(12)Overrun Clutch
(14)Reverse
(25)Solenoid Signal
(25)Solenoid Signal
(31)Exhaust
(31)Exhaust
(31)Exhaust
(31)Exhaust
(31)Exhaust
(31)Exhaust
(31)Exhaust
(31)Exhaust
Figure 19:

Adapter Case (Center Support Side) Fluid Passages


Object Number: 178700  Size: LF
(1)Suction
(2)Line
(4)To Cooler
(6)Overdrive Lube
(6)Overdrive Lube
(10)Throttle Signal
(11)3-4 Accumulator
(12)Overrun Clutch
(14)Reverse
(14)Reverse
(14)Reverse
(14)Reverse
(20)2nd Clutch
(20)2nd Clutch
(20)2nd Clutch
(24)3rd Clutch
(24)3rd Clutch
(25)Solenoid Signal
(25)Solenoid Signal
(27)4th Clutch Feed 2
(27)4th Clutch Feed 2
(27)4th Clutch Feed 2
(28)4th Clutch
(28)4th Clutch
(28)4th Clutch
(29)Manual 1-2
(31)Exhaust
(31)Exhaust
(31)Exhaust
(31)Exhaust
(31)Exhaust
(31)Exhaust
(31)Exhaust
(31)Exhaust
(31)Exhaust
(31)Exhaust
(31)Exhaust
(31)Exhaust
(31)Exhaust
(31)Exhaust
(31)Exhaust
(31)Exhaust
(31)Exhaust
Figure 20:

Transfer Plate (Adapter Case Side) Fluid Passages


Object Number: 178701  Size: LF
(1)Suction
(2)Line
(2)Line
(4)To Cooler
(6)Overdrive Lube
(10)Throttle Signal
(12)Overrun Clutch
(14)Reverse
(14)Reverse
(14)Reverse
(14)Reverse
(20)2nd Clutch
(20)2nd Clutch
(20)2nd Clutch
(20)2nd Clutch
(24)3rd Clutch
(24)3rd Clutch
(25)Solenoid Signal
(25)Solenoid Signal
(25)Solenoid Signal
(25)Solenoid Signal
(27)4th Clutch Feed 2
(27)4th Clutch Feed 2
(27)4th Clutch Feed 2
(28)4th Clutch
(28)4th Clutch
(28)4th Clutch
(28)4th Clutch
(29)Manual 1-2
(29)Manual 1-2
(31)Exhaust
(31)Exhaust
(31)Exhaust
(31)Exhaust
(31)Exhaust
(31)Exhaust
(31)Exhaust
(31)Exhaust
(31)Exhaust
(31)Exhaust
(31)Exhaust
(31)Exhaust
Figure 21:

Center Support (Adapter Case Side) Fluid Passages


Object Number: 178702  Size: LF
(2)Line
(2)Line
(6)Overdrive Lube
(6)Overdrive Lube
(12)Overrun Clutch
(14)Reverse
(14)Reverse
(14)Reverse
(14)Reverse
(15)Reverse Clutch
(20)2nd Clutch
(20)2nd Clutch
(20)2nd Clutch
(20)2nd Clutch
(24)3rd Clutch
(24)3rd Clutch
(25)Solenoid Signal
(25)Solenoid Signal
(25)Solenoid Signal
(27)4th Clutch Feed 2
(27)4th Clutch Feed 2
(28)4th Clutch
(28)4th Clutch
(29)Manual 1-2
(29)Manual 1-2
(31)Exhaust
(31)Exhaust
(31)Exhaust
(31)Exhaust
(31)Exhaust
(31)Exhaust
(31)Exhaust
(31)Exhaust
(31)Exhaust
(31)Exhaust
(31)Exhaust
(31)Exhaust
(31)Exhaust
(31)Exhaust
Figure 22:

Main Case (Adapter Case Side) Fluid Passages


Object Number: 178703  Size: LF
(1)Suction
(2)Line
(4)To Cooler
(4)To Cooler
(5)Main Case Lube
(5)Main Case Lube
(10)Throttle Signal
(14)Reverse
(20)2nd Clutch
(24)3rd Clutch
(27)4th Clutch Feed 2
(29)Manual 1-2
(31)Exhaust
(31)Exhaust
(31)Exhaust
(34)Cooler Fitting
(35)Cooler Fitting Assembly
Figure 23:

Adapter Case (Valve Body Side) Fluid Passages


Object Number: 178704  Size: LF
(1)Suction
(1)Suction
(1)Suction
(2)Line
(2)Line
(2)Line
(2)Line
(2)Line
(9)Feed Limit
(9)Feed Limit
(10)Throttle Signal
(10)Throttle Signal
(10)Throttle Signal
(11)3-4 Accumulator
(14)Reverse
(14)Reverse
(14)Reverse
(20)2nd Clutch
(20)2nd Clutch
(21)Solenoid Feed
(25)Solenoid Signal
(25)Solenoid Signal
(28)4th Clutch
(31)Exhaust
(31)Exhaust
(31)Exhaust
(31)Exhaust
(31)Exhaust
(31)Exhaust
(#1)Ball Check Valve
Figure 24:

Gasket (Adapter Case - Spacer Plate) Fluid Passages


Object Number: 178707  Size: LF
(1)Suction
(2)Line
(2)Line
(2)Line
(9)Feed Limit
(9)Feed Limit
(9)Feed Limit
(10)Throttle Signal
(10)Throttle Signal
(11)3-4 Accumulator
(11)3-4 Accumulator
(14)Reverse
(20)2nd Clutch
(21)Solenoid Feed
(25)Solenoid Signal
Figure 25:

Spacer Plate (Adapter Case - Adapter Case Valve Body) Fluid Passages


Object Number: 178712  Size: LF
(1)Suction
(2)Line
(2)Line
(2)Line
(9)Feed Limit
(9)Feed Limit
(9)Feed Limit
(10)Throttle Signal
(10)Throttle Signal
(10)Throttle Signal
(11)3-4 Accumulator
(11)3-4 Accumulator
(14)Reverse
(14)Reverse
(20)2nd Clutch
(20)2nd Clutch
(21)Solenoid Feed
(21)Solenoid Feed
(21)Solenoid Feed
(25)Solenoid Signal
Figure 26:

Gasket (Spacer Plate - Adapter Case Valve Body) Fluid Passages


Object Number: 178715  Size: LF
(1)Suction
(2)Line
(2)Line
(2)Line
(9)Feed Limit
(9)Feed Limit
(9)Feed Limit
(10)Throttle Signal
(10)Throttle Signal
(11)3-4 Accumulator
(11)3-4 Accumulator
(14)Reverse
(14)Reverse
(20)2nd Clutch
(20)2nd Clutch
(21)Solenoid Feed
(25)Solenoid Signal
Figure 27:

Adapter Case Valve Body Fluid Passages


Object Number: 178719  Size: LF
(1)Suction
(2)Line
(2)Line
(2)Line
(9)Feed Limit
(9)Feed Limit
(9)Feed Limit
(10)Throttle Signal
(10)Throttle Signal
(10)Throttle Signal
(11)3-4 Accumulator
(11)3-4 Accumulator
(14)Reverse
(14)Reverse
(20)2nd Clutch
(21)Solenoid Feed
(25)Solenoid Signal
(31)Exhaust
(415)Force Motor Screen Assembly
Figure 28:

Main Case (Valve Body Side) Fluid Passages


Object Number: 178723  Size: LF
(1)Suction
(1)Suction
(2)Line
(2)Line
(10)Throttle Signal
(10)Throttle Signal
(13)R 3 2 1
(14)Reverse
(14)Reverse
(14)Reverse
(14)Reverse
(16)D 3 2
(16)D 3 2
(17)D 3 2/1-2
(17)D 3 2/1-2
(17)D 3 2/1-2
(17)D 3 2/1-2
(17)D 3 2/1-2
(17)D 3 2/1-2
(18)1-2 Accumulator
(19)Servo Apply
(19)Servo Apply
(20)2nd Clutch
(20)2nd Clutch
(20)2nd Clutch
(20)2nd Clutch
(20)2nd Clutch
(22)Servo Release
(22)Servo Release
(22)Servo Release
(22)Servo Release
(23)3rd Clutch Feed
(23)3rd Clutch Feed
(24)3rd Clutch
(24)3rd Clutch
(27)4th Clutch Feed 2
(27)4th Clutch Feed 2
(29)Manual 1-2
(29)Manual 1-2
(29)Manual 1-2
(29)Manual 1-2
(30)1-2 Reg
(30)1-2 Reg
(30)1-2 Reg
(31)Exhaust
(31)Exhaust
(31)Exhaust
(31)Exhaust
(31)Exhaust
(31)Exhaust
(31)Exhaust
(31)Exhaust
(31)Exhaust
(31)Exhaust
(31)Exhaust
(31)Exhaust
(31)Exhaust
(31)Exhaust
(32)Void
(#3)Ball Check Valve
(#4)Ball Check Valve
Figure 29:

Gasket (Main Case -- Spacer Plate) Fluid Passages


Object Number: 178726  Size: LF
(1)Suction
(2)Line
(10)Throttle Signal
(13)R 3 2 1
(13)R 3 2 1
(13)R 3 2 1
(13)R 3 2 1
(14)Reverse
(14)Reverse
(14)Reverse
(14)Reverse
(14)Reverse
(16)D 3 2
(16)D 3 2
(16)D 3 2
(16)D 3 2
(16)D 3 2
(16)D 3 2
(17)D 3 2/1-2
(17)D 3 2/1-2
(17)D 3 2/1-2
(17)D 3 2/1-2
(17)D 3 2/1-2
(17)D 3 2/1-2
(17)D 3 2/1-2
(17)D 3 2/1-2
(17)D 3 2/1-2
(17)D 3 2/1-2
(18)1-2 Accumulator
(18)1-2 Accumulator
(19)Servo Apply
(19)Servo Apply
(19)Servo Apply
(20)2nd Clutch
(20)2nd Clutch
(20)2nd Clutch
(20)2nd Clutch
(20)2nd Clutch
(20)2nd Clutch
(22)Servo Release
(22)Servo Release
(22)Servo Release
(22)Servo Release
(22)Servo Release
(22)Servo Release
(22)Servo Release
(23)Rd Clutch Feed
(23)Rd Clutch Feed
(23)Rd Clutch Feed
(23)Rd Clutch Feed
(24)3rd Clutch
(24)3rd Clutch
(27)4th Clutch Feed 2
(29)Manual 1-2
(29)Manual 1-2
(29)Manual 1-2
(29)Manual 1-2
(29)Manual 1-2
(29)Manual 1-2
(29)Manual 1-2
(30)1-2 Reg
(30)1-2 Reg
(30)1-2 Reg
(30)1-2 Reg
(30)1-2 Reg
(30)1-2 Reg
(31)Exhaust
(31)Exhaust
(31)Exhaust
(31)Exhaust
(31)Exhaust
(31)Exhaust
(31)Exhaust
(31)Exhaust
(31)Exhaust
(31)Exhaust
(31)Exhaust
(31)Exhaust
(31)Exhaust
(32)Void
Figure 30:

Spacer Plate (Main Case -- Valve Body) Fluid Passages


Object Number: 178731  Size: LF
(1)Suction
(2)Line
(10)Throttle Signal
(13)R 3 2 1
(13)R 3 2 1
(14)Reverse
(14)Reverse
(14)Reverse
(14)Reverse
(16)D 3 2
(16)D 3 2
(16)D 3 2
(16)D 3 2
(16)D 3 2
(17)D 3 2/1-2
(17)D 3 2/1-2
(17)D 3 2/1-2
(17)D 3 2/1-2
(17)D 3 2/1-2
(17)D 3 2/1-2
(17)D 3 2/1-2
(17)D 3 2/1-2
(17)D 3 2/1-2
(17)D 3 2/1-2
(17)D 3 2/1-2
(18)1-2 Accumulator
(18)1-2 Accumulator
(19)Servo Apply
(19)Servo Apply
(19)Servo Apply
(20)2nd Clutch
(20)2nd Clutch
(20)2nd Clutch
(20)2nd Clutch
(22)Servo Release
(22)Servo Release
(22)Servo Release
(22)Servo Release
(22)Servo Release
(22)Servo Release
(23)RD Clutch Feed
(23)RD Clutch Feed
(23)RD Clutch Feed
(23)RD Clutch Feed
(24)3rd Clutch
(27)4th Clutch Feed 2
(29)Manual 1-2
(29)Manual 1-2
(29)Manual 1-2
(29)Manual 1-2
(30)1-2 Reg
(30)1-2 Reg
(30)1-2 Reg
(30)1-2 Reg
(30)1-2 Reg
(31)Exhaust
(31)Exhaust
(31)Exhaust
(31)Exhaust
(31)Exhaust
(31)Exhaust
(31)Exhaust
(31)Exhaust
(31)Exhaust
(32)Void
Figure 31:

Gasket (Spacer Plate -- Main Valve Body) Fluid Passages


Object Number: 178735  Size: LF
(1)Suction
(2)Line
(2)Line
(10)Throttle Signal
(10)Throttle Signal
(13)R 3 2 1
(13)R 3 2 1
(13)R 3 2 1
(14)Reverse
(14)Reverse
(14)Reverse
(14)Reverse
(16)D 3 2
(16)D 3 2
(16)D 3 2
(16)D 3 2
(16)D 3 2
(16)D 3 2
(16)D 3 2
(16)D 3 2
(17)D 3 2/1-2
(17)D 3 2/1-2
(17)D 3 2/1-2
(17)D 3 2/1-2
(17)D 3 2/1-2
(17)D 3 2/1-2
(17)D 3 2/1-2
(17)D 3 2/1-2
(17)D 3 2/1-2
(17)D 3 2/1-2
(17)D 3 2/1-2
(18)1-2 Accumulator
(18)1-2 Accumulator
(18)1-2 Accumulator
(19)Servo Apply
(19)Servo Apply
(20)2nd Clutch
(20)2nd Clutch
(20)2nd Clutch
(20)2nd Clutch
(20)2nd Clutch
(20)2nd Clutch
(20)2nd Clutch
(20)2nd Clutch
(22)Servo Release
(22)Servo Release
(22)Servo Release
(22)Servo Release
(22)Servo Release
(23)RD Clutch Feed
(23)RD Clutch Feed
(23)RD Clutch Feed
(27)4th Clutch Feed 2
(27)4th Clutch Feed 2
(29)Manual 1-2
(29)Manual 1-2
(29)Manual 1-2
(29)Manual 1-2
(29)Manual 1-2
(30)1-2 Reg
(30)1-2 Reg
(30)1-2 Reg
(30)1-2 Reg
(30)1-2 Reg
(30)1-2 Reg
(31)Exhaust
(31)Exhaust
(31)Exhaust
(31)Exhaust
(31)Exhaust
(31)Exhaust
(31)Exhaust
(31)Exhaust
(31)Exhaust
(31)Exhaust
(31)Exhaust
(31)Exhaust
Figure 32:

Main Case Valve Body Fluid Passages


Object Number: 178740  Size: LF
(1)Suction
(2)Line
(2)Line
(2)Line
(10)Throttle Signal
(10)Throttle Signal
(13)R 3 2 1
(13)R 3 2 1
(14)Reverse
(14)Reverse
(14)Reverse
(14)Reverse
(16)D 3 2
(16)D 3 2
(16)D 3 2
(16)D 3 2
(17)D 3 2/1-2
(17)D 3 2/1-2
(17)D 3 2/1-2
(17)D 3 2/1-2
(17)D 3 2/1-2
(17)D 3 2/1-2
(17)D 3 2/1-2
(17)D 3 2/1-2
(18)1-2 Accumulator
(18)1-2 Accumulator
(18)1-2 Accumulator
(19)Servo Apply
(20)2nd Clutch
(20)2nd Clutch
(20)2nd Clutch
(20)2nd Clutch
(22)Servo Release
(22)Servo Release
(22)Servo Release
(22)Servo Release
(23)RD Clutch Feed
(23)RD Clutch Feed
(23)RD Clutch Feed
(26)4th Clutch Feed 1
(27)4th Clutch Feed 2
(27)4th Clutch Feed 2
(29)Manual 1-2
(29)Manual 1-2
(29)Manual 1-2
(29)Manual 1-2
(30)1-2 Reg
(30)1-2 Reg
(30)1-2 Reg
(30)1-2 Reg
(30)1-2 Reg
(31)Exhaust
(31)Exhaust
(31)Exhaust
(31)Exhaust
(31)Exhaust
(31)Exhaust
(31)Exhaust
(31)Exhaust
(31)Exhaust
(31)Exhaust
(31)Exhaust
(31)Exhaust
(31)Exhaust
(31)Exhaust
(31)Exhaust
(#2)Ball Check Valve
(306)Valve Retainer
(317)Retainer Ball
(317)Retainer Ball
(324)PWM Solenoid Screen Assembly