GM Service Manual Online
For 1990-2009 cars only

Tools Required

    • J 23327 Clutch Spring Compressor
    • J 8059 Snap Ring Pliers or Equivalent

    Object Number: 174851  Size: SH
  1. Remove the upper ring gear retainer ring (629) from the second clutch drum (618).
  2. Remove the ring gear (630).
  3. Remove the lower ring gear retainer ring (629).
  4. Remove the second clutch spacer (628).
  5. Remove the second clutch plates (626, 627).
  6. Inspect the second clutch plates for:
  7. • delamination (composite)
    • damaged tangs
    • wear
    • heat damage (steel)
  8. Remove the second clutch cushion plate (625).

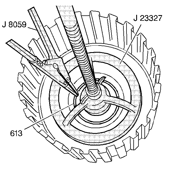
  9. Object Number: 174853  Size: SH
  10. Install J 23327 .
  11. Compress the second clutch piston return springs (611).
  12. Remove the second clutch piston return spring seat retainer ring (613).
  13. Remove the tools.

  14. Object Number: 174856  Size: SH
  15. Remove the second clutch piston return spring seat (623).
  16. Remove the second clutch piston return springs (611).
  17. Remove the second clutch piston (622).
  18. Remove the second clutch piston inner seal (620) and the outer seal (621).
  19. Inspect the second clutch piston (622) for checkball movement. If the checkball is missing or falls out, replace the piston.
  20. Inspect the second clutch drum (618) splines for wear and damage.