GM Service Manual Online
For 1990-2009 cars only

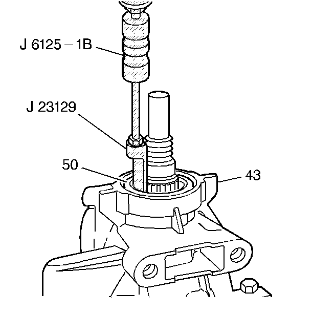
Tools Required

    • J 23129 Universal Seal Remover
    • J 6125-1B Slide Hammer

    Object Number: 174779  Size: SH
  1. Remove the extension housing seal (50) using J 23129 and J 6125-1B .

  2. Object Number: 174780  Size: SH
  3. Remove the extension housing bolts (52).
  4. Remove the bracket (112).
  5. Remove the extension housing (43).
  6. Inspect the extension housing for cracks and porosity.
  7. Remove the extension housing gasket (42).