GM Service Manual Online
For 1990-2009 cars only

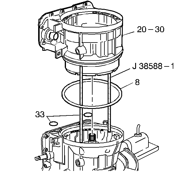
Tools Required

J 38588-1 Guide Pins


    Object Number: 174909  Size: SH
  1. Install the two adapter case to main case seals (33).
  2. Install the adapter case to main case seal (8) to the adapter case.
  3. Install J 38588-1 at the 4 O'clock and 11 O'clock positions.
  4. Install the adapter case assembly (20-30).
  5. Remove J 38588-1 .