GM Service Manual Online
For 1990-2009 cars only

Tools Required

J 23085-A Selective Washer Gauge


    Object Number: 174902  Size: SH
  1. Install J 23085-A on the transmission case flange and against the input shaft.
  2. Loosen the thumb screw on J 23085-A .
  3. Position the inner shaft of J 23085-A against the thrust surface of the second clutch hub.
  4. Tighten the thumb screw.
  5. Remove J 23085-A .

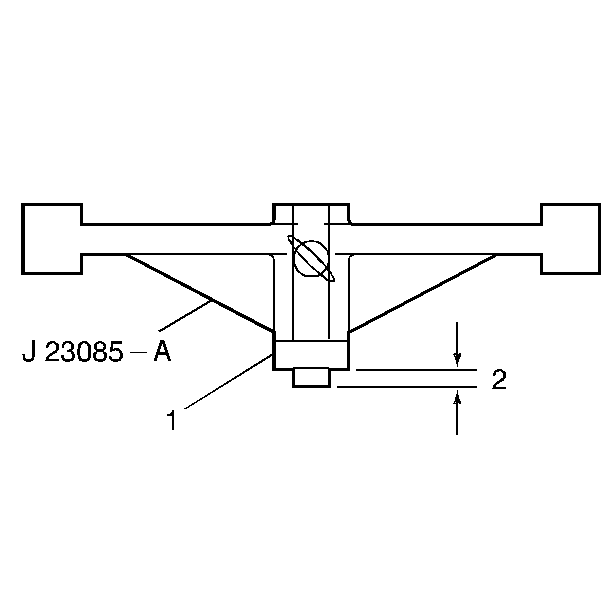
  6. Object Number: 174904  Size: SH
  7. Place the spacer ring (1) on the inner shaft of the J 23085-A .
  8. Measure gap 2.
  9. Refer to the Selective Thrust Washer table to compare the measurement of gap 2. The selective washer thickness must not exceed the measurement of gap 2. End Play should be between 0.36-0.79 mm (0.014-0.031 in).