GM Service Manual Online
For 1990-2009 cars only

Tools Required

J 23327-91 Overrun Clutch Spring Compressor


    Object Number: 174913  Size: SH
  1. Remove the overrun clutch housing retainer ring (524).
  2. Remove the overrun clutch backing plate (523).
  3. Remove the overrun clutch plates (521, 522).
  4. Remove the overrun clutch cushion plate (520).

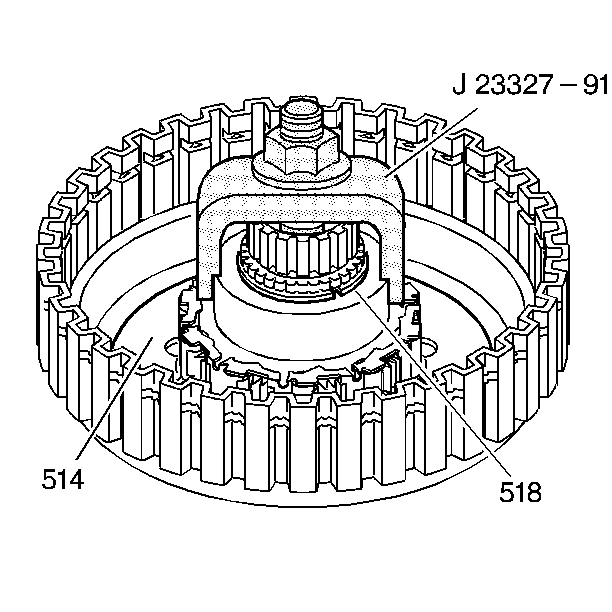
  5. Object Number: 174914  Size: SH
  6. Compress the overrun clutch piston release spring (514) with J 23327-91 .
  7. Remove the overrun clutch hub retainer ring (518).
  8. Remove the tools.

  9. Object Number: 174915  Size: SH
  10. Remove the overdrive roller clutch cam (517).
  11. Remove the overdrive roller assembly (516).
  12. Remove the overrun clutch release spring retainer (515).
  13. Remove the overrun clutch release spring (514).
  14. Remove the overrun clutch piston (513).
  15. Inspect the overrun clutch piston for wear and damage.