GM Service Manual Online
For 1990-2009 cars only
Makes
🢒
Generic
🢒
1998
🢒
Unit Repair
🢒
Transmission/Transaxle
🢒
Automatic Transmission - 3L30
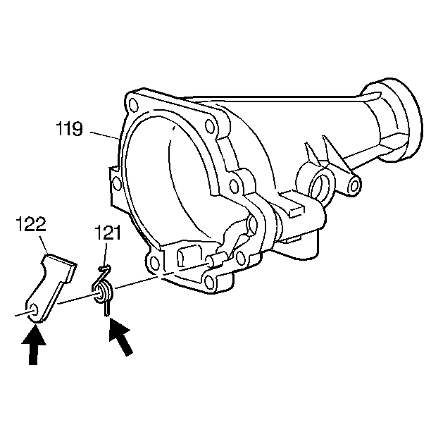
🢒 Extension Disassemble
Remove the parking lock pawl (122).
Remove the parking lock pawl spring (121) from the extension housing.
Inspect the parking lock pawl and pawl spring for damage.