GM Service Manual Online
For 1990-2009 cars only
Figure 1:

Component Locator View


Object Number: 183832  Size: LF
(1)Torque Converter Housing
(2)Converter Clutch Torque Converter
(3)Oil Pump
(4)Case
(5)Second Clutch
(6)Third Clutch
(7)Planetary Gear Set
(8)Reaction Sun Gear Assembly
(9)Low Band
(10)Governor Assembly
(11)Extension Housing
(12)Speedometer Drive Gear
(13)Governor Hub
(14)Parking Pawl
(15)Parking Lock Actuator
(16)Oil Pan
(17)Servo Cover
(18)Reaction Sun Gear
(19)Input Sun Gear
(20)Sprag Assembly
(21)Control Valve Assembly
(22)Detent Lever and Actuator Rod
(23)Manual Valve and Link
(24)Reverse Clutch Piston
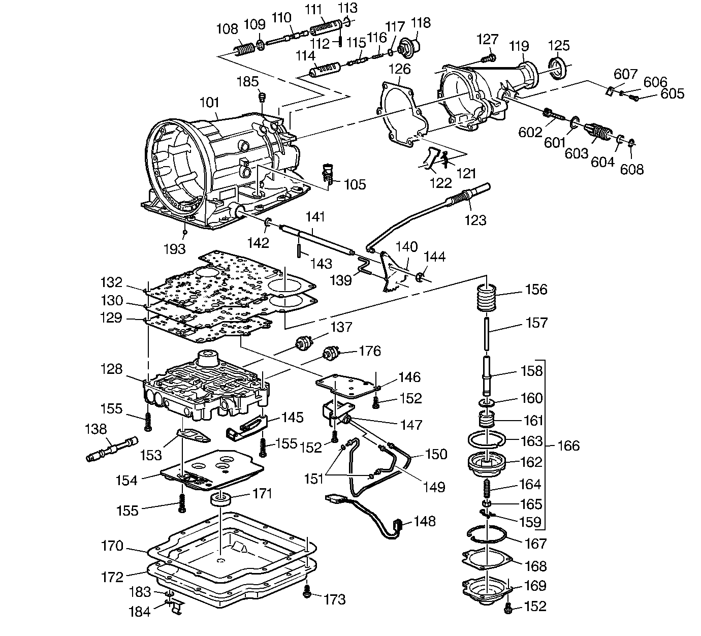
Figure 2:

Case and Associated Parts (1 of 2)


Object Number: 181737  Size: LF
(201)Converter Assembly
(202)Bolt, Converter Housing to Oil Pump
(203)Bolt, Converter Housing to Case
(204)Seal, Converter Housing
(205)Housing, Converter
(207)Gasket, Oil Pump
(208)Plate, Oil Pump Wear
(209)Gear Pump Driven
(210)Gear Pump Drive
(211)Pin, Oil Pump Boost Sleeve Retainer
(212)Sleeve, Oil Pump Boost
(213)Valve, Oil Pump Boost
(214)Seat, Pressure Regulator Valve Spring
(214)Seat, Pressure Regulator Valve Spring
(215)Spring, Pressure Regulator Valve
(216)Valve, Pressure Regulator
(217)Valve, Clutch Control
(218)Spring, Clutch Control Valve
(219)Plug, Clutch Control Valve
(220)Pin, Clutch Control Valve
(222)Body, Oil Pump
(223)Seal, Oil Pump (Outer)
(224)Washer, Selective Thrust
(225)Ring, 2nd Clutch Oil Seal
(226)Seal, Reverse Clutch Piston (Inner)
(227)Seal, Reverse Clutch Piston (Outer)
(228)Piston, Reverse Clutch
(229)Spring, Clutch Piston Return
(230)Seat, Reverse Clutch Piston Return Spring
(231)Ring, Clutch Piston Ring Seat Retainer
(232)Plate, Reverse Clutch Cushion
(233)Plate, Reverse Clutch (Flat Steel)
(234)Plate, Reverse Clutch (Lined)
(236)Plate, Reverse Clutch Pressure
Figure 3:

Case and Associated Parts (2 of 2)


Object Number: 181743  Size: LF
(101)Case, Transmission
(105)Connector, Electrical Assembly
(108)Spring, Detent Valve
(109)Seat, Spring Detent Valve
(110)Valve, Detent
(111)Sleeve, Detent Valve
(112)Pin, Detent Valve
(113)Seal, Detent Valve Sleeve
(114)Sleeve, Modulator Valve
(115)Valve, Modulator
(116)Plunger, Modulator
(117)Seal, Modulator
(118)Modulator, Vacuum Assembly
(119)Case Extension Housing
(121)Spring, Parking Lock Pawl
(122)Pawl, Parking Lock
(123)Actuator, Parking Lock Pawl
(125)Seal Assembly, Case Extension Oil
(126)Gasket, Case Extension to Case
(127)Bolt, Case Extension to Case
(128)Control Valve Body Assembly
(129)Gasket, Spacer Plate
(130)Plate, Spacer
(132)Gasket, Spacer Plate to Case
(137)Switch, Governor Pressure
(138)Valve, Manual
(139)Link, Manual Valve
(140)Lever, Detent
(141)Shaft, Manual
(142)Seal, Manual Shaft
(143)Pin, Manual Shaft
(144)Nut, Manual Shaft
(145)Roller, Detent
(146)Plate, Reinforcement
(147)Solenoid and Bracket Assembly
(148)Wiring Harness
(149)Pipe, Solenoid to Valve Body
(150)Pipe, Solenoid to Oil Pump
(151)Seal, Solenoid Pipe
(152)Bolt, Servo Cover and Reinf. Plate
(152)Bolt, Servo Cover and Reinf. Plate
(152)Bolt, Servo Cover and Reinf. Plate
(153)Gasket, Transmission Oil Filter
(154)Filter, Transmission Oil
(155)Bolt, Control Valve Body Assembly to Case
(155)Bolt, Control Valve Body Assembly to Case
(155)Bolt, Control Valve Body Assembly to Case
(156)Spring, Servo Piston Return
(157)Rod, Servo Piston Apply
(158)Sleeve, Servo Piston Adjusting
(159)Retainer, Servo Piston Cushion Spring
(160)Seat, Servo Piston Cushion Spring
(161)Spring, Servo Piston Cushion
(162)Piston, Servo
(163)Ring, Servo Piston Seal
(164)Screw, Servo Piston Adjusting
(165)Nut, Servo Piston Adjusting Screw
(166)Piston Assembly, Servo
(167)Ring, Servo Piston Retainer
(168)Gasket, Servo Piston Cover
(169)Cover, Servo Piston
(170)Gasket, Transmission Oil Pan
(171)Magnet, Transmission Oil Pan
(172)Pan, Transmission Oil
(173)Bolt, Transmission Oil Pan to Case
(176)Switch, Oil Pressure
(183)Washer
(184)Clips
(185)Vent, Rear
(193)Ball, Check
(601)Seal, Speedometer Driven Gear Guide
(602)Gear, Speedometer Driven
(603)Guide, Speedometer Driven Gear
(604)Bushing, Speedometer Driven Gear Guide
(605)Bolt, Speedometer Driven Gear Bracket
(606)Washer, Speedometer Driven Gear Bracket
(607)Bracket, Speedometer Driven Gear Guide
(608)Clip, Retaining
Figure 4:

Control Valve Body Assembly


Object Number: 181751  Size: MF
(138)Valve, Manual
(139)Link, Manual Valve
(500)Body, Control Valve
(501)1-2 Accumulator Piston Assembly
(502)Pin, Retaining
(502)Pin, Retaining
(502)Pin, Retaining
(502)Pin, Retaining
(502)Pin, Retaining
(502)Pin, Retaining
(502)Pin, Retaining
(502)Pin, Retaining
(503)Plug, 1-2 Accumulator Valve
(504)Valve, 1-2 Accumulator
(505)Spring, 1-2 Accumulator Valve
(506)Spring, Downshift timing valve (High Speed)
(507)Valve, Downshift timing (High Speed)
(509)Valve, Downshift timing (Low Speed)
(510)Spring, Downshift timing Valve (Low Speed)
(511)Spring, Manual Low Control Valve
(512)Valve, Manual Low Control
(513)Valve, Reverse Control
(514)Valve, 1-2 Shift
(515)Spring, 1-2 Shift Control Valve
(516)Valve, 1-2 Shift Control
(517)Spring, 1-2 Shift Control Valve
(518)Sleeve, 1-2 Shift Control Valve
(519)Valve, 2-3 Shift
(520)Seat, 2-3 Shift Control Valve Spring
(521)Spring, 2-3 Shift Control Valve
(522)Valve, 2-3 Shift Control
(523)Sleeve, 2-3 Shift Control Valve
(524)Valve, 3-2 Control
(525)Spring, 3-2 Control Valve
(526)Plug, 3-2 Control Valve
(527)Valve, Detent Pressure Regulator
(528)Spring, Detent Pressure Regulator Valve
(530)Valve, Intermediate
Figure 5:

Second Clutch Assembly


Object Number: 181745  Size: MF
(229)Spring, Clutch Piston Return
(303)Drum, 2nd Clutch
(304)Seal, 2nd Clutch Piston (Inner)
(305)Seal, 2nd Clutch Piston (Outer)
(306)Piston, 2nd Clutch
(308)Seat, 2nd Clutch Piston Spring Retainer
(309)Ring, Clutch Piston Spring Seat Retainer
(311)Plate, 2nd Clutch (Waved)
(312)Plate, 2nd Clutch (Lined)
(313)Plate, 2nd Clutch (Steel)
(314)Spacer, 2nd Clutch
(315)Ring, Ring Gear Retainer
(315)Ring, Ring Gear Retainer
(316)Gear, Ring
Figure 6:

Third Clutch and Planetary Carrier Assembly


Object Number: 181747  Size: LF
(229)Spring, Clutch Piston Return
(310)Washer, 2nd to 3rd Clutch Thrust
(317)Washer, 2nd to 3rd Clutch Thrust
(318)Seal, Input Shaft
(319)Shaft, Input
(320)Seal, 3rd Clutch Piston (Outer)
(321)Seal, 3rd Clutch Piston (Inner)
(322)Piston, 3rd Clutch
(324)Seat, 3rd Clutch Piston Spring Retainer
(325)Ring, Clutch Piston Spring Seat Retainer
(326)Plate, 3rd Clutch (Steel)
(327)Plate, 3rd Clutch (Lined)
(328)Plate, 3rd Clutch (Waved)
(329)Washer, Input Shaft to Sun Gear
(330)Bearing, Input Sun Gear
(330)Bearing, Input Sun Gear
(331)Gear, Input Sun
(332)Washer, Input Shaft to Sun Gear
(333)Sprag Assembly, Complete
(335)Ring, Race Retainer
(336)Race, 3rd Clutch Input Sprag
(337)Washer, Input Gear to Carrier
(338)Planetary Carrier Assembly
(339)Clip, Speedometer Drive Gear Retaining
(340)Gear, Speedometer Drive
(341)Ring, Retainer
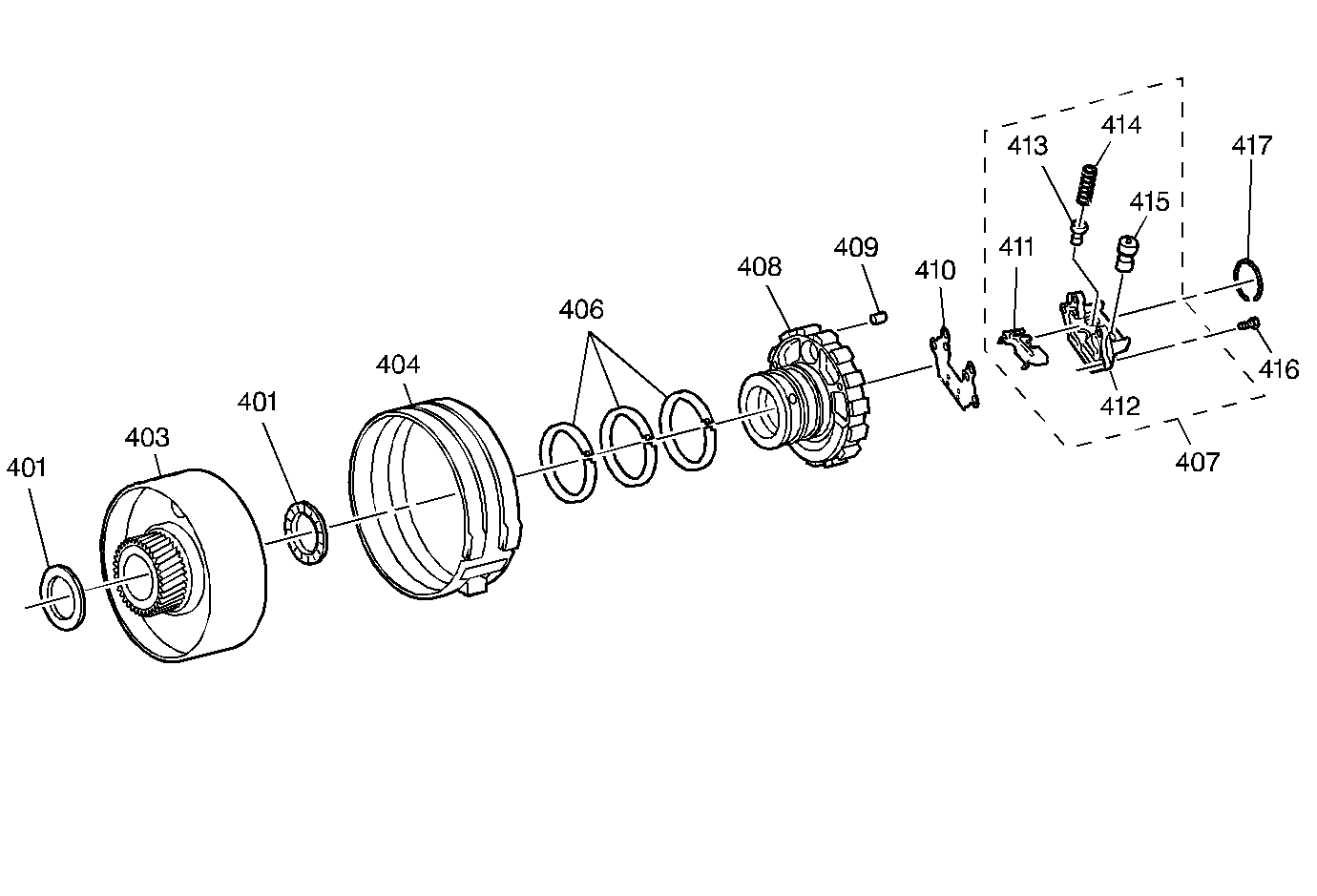
Figure 7:

Reaction Sun Gear and Governor


Object Number: 181749  Size: MF
(401)Bearing, Reaction Sun Gear
(401)Bearing, Reaction Sun Gear
(403)Drum and Gear Reaction Sun Assembly
(404)Band, Low
(406)Ring, Governor Hub Seal
(407)Governor Assembly
(408)Hub, Governor
(409)Screen, Governor Oil
(410)Gasket, Governor
(411)Retainer, Secondary Valve
(412)Body, Governor
(413)Valve, Secondary
(414)Spring, Secondary
(415)Valve, Primary
(416)Bolt, Governor
(417)Ring, Governor Hub Retainer
Figure 8:

Bushing Locations


Object Number: 181752  Size: MF
(106)Sleeve, Reaction Sun
(107)Bushing, Case
(124)Bushing, Case Extension
(206)Bushing, Converter Housing
(238)Bushing, Oil Pump Hub (Front)
(239)Bushing, Oil Pump Body (Rear)
Figure 9:

Seal Locations


Object Number: 181754  Size: MF
(125)Seal Assembly, Case Extension Oil
(204)Seal, Converter Housing
(223)Seal, Oil Pump (Outer)
(225)Seal, 2nd Clutch Oil
(226)Seal, Reverse Clutch Piston (Inner)
(227)Seal, Reverse Clutch Piston (Outer)
(304)Seal, 2nd Clutch Piston (Inner)
(305)Seal, 2nd Clutch Piston (Outer)
(318)Seal, Input Shaft O-Ring
(320)Seal, 3rd Clutch Piston (Outer)
(321)Seal, 3rd Clutch Piston (Inner)
(406)Seal, Governor Hub
Figure 10:

Washer and Bearing Locations


Object Number: 181755  Size: MF
(224)Washer, Selective Thrust
(310)Washer, 2nd to 3rd Clutch Thrust
(317)Washer, 2nd to 3rd Clutch Thrust
(329)Washer, Input Shaft to Sun Gear
(330)Bearing, Input Sun Gear
(330)Bearing, Input Sun Gear
(337)Washer, Input Gear to Carrier
(401)Bearing, Reaction Sun Gear
(401)Bearing, Reaction Sun Gear
Figure 11:

Converter Housing Fluid Passages


Object Number: 181758  Size: LF
(1)Exhaust
(1)Exhaust
(1)Exhaust
(1)Exhaust
(1)Exhaust
(1)Exhaust
(1)Exhaust
(1)Exhaust
(1)Exhaust
(1)Exhaust
(2)Converter Out
(2)Converter Out
(3)2nd Clutch
(3)2nd Clutch
(4)3rd Clutch
(4)3rd Clutch
(5)Modulator
(6)Boost
(7)Suction
(7)Suction
(7)Suction
(8)Line
(8)Line
(8)Line
(8)Line
(9)Reverse Clutch
(10)Converter In
(10)Converter In
(10)Converter In
(10)Converter In
(11)Converter In/Out
(11)Converter In/Out
(11)Converter In/Out
(11)Converter In/Out
Figure 12:

Wear Plate Fluid Passages


Object Number: 181760  Size: LF
(1)Converter In
(1)Converter In
(1)Converter In
(1)Converter In
(2)Converter In/Out
(2)Converter In/Out
(2)Converter In/Out
(2)Converter In/Out
(3)Line
(3)Line
(3)Line
(3)Line
(4)Exhaust
(4)Exhaust
(4)Exhaust
(4)Exhaust
(4)Exhaust
(5)Reverse Clutch
(5)Reverse Clutch
(6)Suction
(6)Suction
(7)Boost
(8)Modulator
(8)Modulator
(9)3rd Clutch
(9)3rd Clutch
(10)2nd Clutch
(10)2nd Clutch
(11)Intermediate
(12)Converter Out
(13)Vent
Figure 13:

Pump Passages


Object Number: 181761  Size: LF
(1)Converter Out
(1)Converter Out
(1)Converter Out
(1)Converter Out
(1)Converter Out
(1)Converter Out
(2)Converter In/Out
(2)Converter In/Out
(2)Converter In/Out
(2)Converter In/Out
(3)Converter In
(3)Converter In
(3)Converter In
(4)Converter Clutch Control
(4)Converter Clutch Control
(4)Converter Clutch Control
(5)Reverse Clutch
(5)Reverse Clutch
(6)Line
(6)Line
(6)Line
(6)Line
(6)Line
(7)Suction
(7)Suction
(7)Suction
(8)Exhaust
(8)Exhaust
(8)Exhaust
(8)Exhaust
(8)Exhaust
(8)Exhaust
(8)Exhaust
(8)Exhaust
(8)Exhaust
(8)Exhaust
(8)Exhaust
(8)Exhaust
(8)Exhaust
(8)Exhaust
(8)Exhaust
(9)Boost
(10)Modulator
(10)Modulator
(11)3rd Clutch
(11)3rd Clutch
(12)2nd Clutch
(12)2nd Clutch
(13)Intermediate
(14)Vent
Figure 14:

Valve Body Passages


Object Number: 181762  Size: LF
(1)Regulator
(1)Regulator
(1)Regulator
(1)Regulator
(1)Regulator
(2)1-2 Accumulator
(3)Governor
(3)Governor
(3)Governor
(3)Governor
(3)Governor
(4)Intermediate
(4)Intermediate
(4)Intermediate
(5)Drive
(5)Drive
(5)Drive
(5)Drive
(5)Drive
(6)WOF
(7)3rd Clutch
(7)3rd Clutch
(7)3rd Clutch
(8)Servo Apply
(9)Low
(9)Low
(9)Low
(9)Low
(9)Low
(10)Exhaust
(10)Exhaust
(10)Exhaust
(10)Exhaust
(10)Exhaust
(10)Exhaust
(11)Servo Release
(11)Servo Release
(12)Modulator
(12)Modulator
(12)Modulator
(12)Modulator
(12)Modulator
(12)Modulator
(12)Modulator
(12)Modulator
(12)Modulator
(12)Modulator
(13)Line
(13)Line
(13)Line
(14)Reverse
(14)Reverse
(14)Reverse
(15)Suction
(16)Detent
(16)Detent
(16)Detent
(17)2nd Clutch
(17)2nd Clutch
(17)2nd Clutch
(19)2-3 Exhaust
Figure 15:

Valve Body Transfer Plate Passages


Object Number: 181763  Size: LF
(1)Low
(1)Low
(1)Low
(1)Low
(2)Servo Apply
(2)Servo Apply
(3)Exhaust
(3)Exhaust
(3)Exhaust
(3)Exhaust
(3)Exhaust
(3)Exhaust
(4)Drive
(4)Drive
(4)Drive
(5)Modulator
(5)Modulator
(5)Modulator
(5)Modulator
(6)Governor
(6)Governor
(6)Governor
(6)Governor
(6)Governor
(7)Regulator
(7)Regulator
(7)Regulator
(7)Regulator
(7)Regulator
(8)Intermediate
(8)Intermediate
(9)1-2 Accumulator
(9)1-2 Accumulator
(10)2nd Clutch
(10)2nd Clutch
(10)2nd Clutch
(10)2nd Clutch
(10)2nd Clutch
(10)2nd Clutch
(11)Detent
(11)Detent
(12)Modulator Detent
(12)Modulator Detent
(12)Modulator Detent
(13)Modulator Reverse
(13)Modulator Reverse
(14)Reverse
(14)Reverse
(14)Reverse
(14)Reverse
(15)Suction
(16)Line
(16)Line
(16)Line
(17)Servo Release
(17)Servo Release
(17)Servo Release
(17)Servo Release
(17)Servo Release
(17)Servo Release
(18)2-3 Exhaust
(18)2-3 Exhaust
(18)2-3 Exhaust
(19)3rd Clutch
Figure 16:

Case Passages


Object Number: 181764  Size: LF
(1)Low
(1)Low
(1)Low
(2)Servo Release
(2)Servo Release
(2)Servo Release
(3)Servo Apply
(3)Servo Apply
(4)Exhaust
(4)Exhaust
(4)Exhaust
(5)Drive
(5)Drive
(5)Drive
(6)Governor
(6)Governor
(6)Governor
(6)Governor
(7)Modulator
(7)Modulator
(7)Modulator
(7)Modulator
(8)Line
(8)Line
(8)Line
(8)Line
(9)Modulator Detent
(9)Modulator Detent
(9)Modulator Detent
(10)Detent
(10)Detent
(10)Detent
(11)Regulator
(11)Regulator
(12)1-2 Accumulator
(13)2nd Clutch
(13)2nd Clutch
(13)2nd Clutch
(13)2nd Clutch
(14)Intermediate
(15)3rd Clutch
(16)2-3 Exhaust
(17)Suction
(18)Reverse
(18)Reverse
(193)Ball Check Valve