GM Service Manual Online
For 1990-2009 cars only

Tools Required

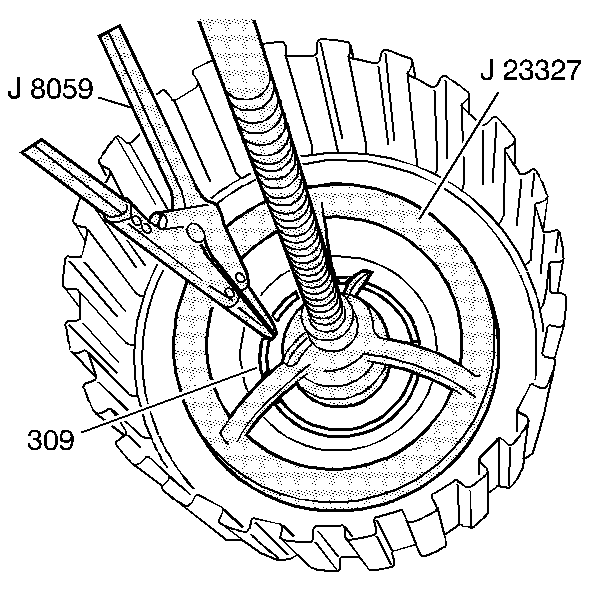
J 23327 Clutch Spring Compressor


    Object Number: 180782  Size: SH
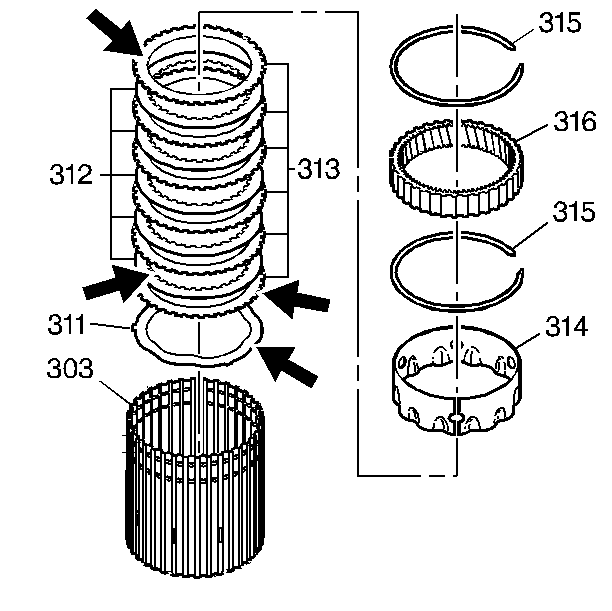
  1. Remove the upper ring gear retainer ring (315) from the second clutch drum (303).
  2. Remove the ring gear (316).
  3. Remove the lower ring gear retainer ring (315).
  4. Remove the second clutch spacer (314).
  5. Important: If the clutch plates are not being replaced, they must be installed in their original position.

  6. Remove the second clutch plates (312, 313).
  7. Inspect the second clutch plates for:
  8. • delamination (composite)
    • damaged tangs
    • wear
    • heat damage (steel).
  9. Remove the second clutch Cushion plate (311).

  10. Object Number: 180783  Size: SH
  11. Remove the second to third clutch thrust washer (310).
  12. Inspect the thrust washer for wear and damage.

  13. Object Number: 180790  Size: SH
  14. Install J 23327 .
  15. Compress the second clutch piston return springs (229).
  16. Remove the second clutch piston return spring seat retainer ring (309).
  17. Remove the tools.

  18. Object Number: 180798  Size: SH
  19. Remove the second clutch piston return spring seat (308).
  20. Remove the second clutch piston return springs (229).
  21. Remove the second clutch piston (306).
  22. Remove the second clutch piston inner seal (304) and the outer seal (305).
  23. Inspect the second clutch piston (306) ball check valve for movement. If the ball check valve is missing or falls out, replace the piston.
  24. Inspect the second clutch drum (303) splines for wear and damage.