GM Service Manual Online
For 1990-2009 cars only

Tools Required

    • J 23080-A Second Clutch Piston Seal Installer
    • J 23327 Clutch Spring Compressor
    • J 8059 Snap Ring Pliers
    • J 36850 Transjel®

    Object Number: 180801  Size: SH
  1. Install the second clutch piston inner (304) and outer (305) seals. The seal lips face toward the bottom of the piston.
  2. Lubricate the seals with DEXRON® III automatic transmission fluid.

  3. Object Number: 180806  Size: SH
  4. Install J 23080-A into the second clutch drum (303).
  5. Install the second clutch piston (306) into J 23080-A .
  6. Install J 23080-A into the second clutch drum (303).
  7. Push the piston into place.
  8. Remove J 23080-A .

  9. Object Number: 180807  Size: SH
  10. Assemble the second clutch piston return springs (229) and spring seat (308) on the second clutch piston (306).

  11. Object Number: 180790  Size: SH
  12. Install J 23327 .
  13. Place the retaining ring over J 23327 .
  14. Compress the return springs using J 23327 . Do not let the spring seat catch in the ring groove.
  15. Install the second clutch piston return spring seat retainer ring (309).
  16. Remove J 23327 .

  17. Object Number: 182061  Size: SH
  18. Install the second to third clutch thrust washer (310), seat the tang in the slot on the second clutch hub.
  19. Retain with J 36850 , or equivalent.

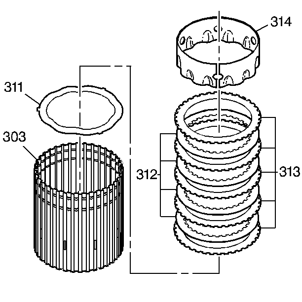
  20. Object Number: 180808  Size: SH
  21. Install the second clutch cushion plate (311) into the second clutch drum (303).
  22. Install the second clutch plates (312, 313) into the second clutch drum. Begin with a steel plate and alternate with the composite plate.
  23. Align the internal splines of the second clutch plates.
  24. Install the second clutch spacer (314). The wavy end faces toward the clutch plates.

  25. Object Number: 180810  Size: SH
  26. Install the lower ring gear retainer ring (315).
  27. Install the ring gear (316). The grooved edge faces up.
  28. Install the upper ring gear retainer ring (315).