GM Service Manual Online
For 1990-2009 cars only

    Object Number: 180623  Size: SH
  1. Remove the manual detent roller and spring assembly bolt (155).
  2. Remove the manual detent roller and spring assembly (145).

  3. Object Number: 180624  Size: SH
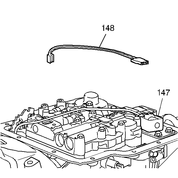
  4. Disconnect the electrical connections at:
  5. • the governor oil pressure switch (137)
    • the torque converter clutch (TCC) solenoid (147)
    • the transmission case electrical connector (148)

    Object Number: 180625  Size: SH
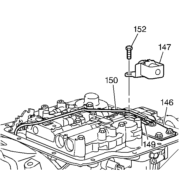
  6. Remove the TCC solenoid bolt (152).
  7. Remove the TCC solenoid (147) from the transfer plate reinforcement (146).
  8. Remove the TCC solenoid (147) from the TCC solenoid pipes (149-150).

  9. Object Number: 180626  Size: SH
  10. Remove the TCC solenoid pipes (149-150) from the control valve assembly (128) and the transmission case (101).
  11. Inspect the solenoid pipes for proper fit and that o-ring seals (151) are on the pipes.

  12. Object Number: 180628  Size: SH
  13. Remove the governor oil pressure switch (137) using a 1-1/16 inch pressure switch socket.
  14. Remove the oil pressure switch (176) if equipped.

  15. Object Number: 180630  Size: SH
  16. Remove the transfer plate reinforcement bolt (152).
  17. Remove the transfer plate reinforcement (146).
  18. Remove the servo piston cover bolts (152).
  19. Remove the servo piston cover (169) and gasket (168).

  20. Object Number: 180631  Size: SH
  21. Remove the control valve assembly bolts (155).
  22. Remove the control valve assembly (128).
  23. Important: Note the position of the manual valve link, (the long end into the manual valve, the short end into the detent lever).

  24. Remove the manual valve link (139).
  25. Remove the spacer plate (130) and gaskets (129) and (132).

  26. Object Number: 180632  Size: SH
  27. Remove the checkball (193) from the transmission case passage.