GM Service Manual Online
For 1990-2009 cars only

Tools Required

J 38450-A Third Clutch Sprag Retaining Ring Tool


    Object Number: 180755  Size: SH
  1. Place the third clutch housing (319) and input shaft assembly upright into a soft jawed vise.
  2. Compress the sprag retainer ring (335) using a screwdriver through the side slot.
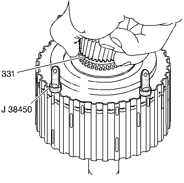
  3. Place one J 38450-A between the retainer ring and the third clutch housing. Repeat this procedure to install six J 38450-A equally spaced around the retainer ring (335).

  4. Object Number: 180756  Size: SH
  5. Pull up on the input sun gear (331) until the sprag retainer ring (335) clears the ring groove.
  6. Remove J 38450-A .
  7. Inspect the thrust washers and bearings for damage.

  8. Object Number: 180757  Size: SH
  9. Remove the sprag and race assembly (333) from the third clutch drum assembly (319).
  10. Remove the turbine shaft to sun gear bearing (330) and thrust washers (329, 332).