GM Service Manual Online
For 1990-2009 cars only
Makes
🢒
Generic
🢒
1998
🢒
Unit Repair
🢒
Transmission/Transaxle
🢒
Automatic Transmission - 3L30
🢒 Speedometer Drive Gear Installation
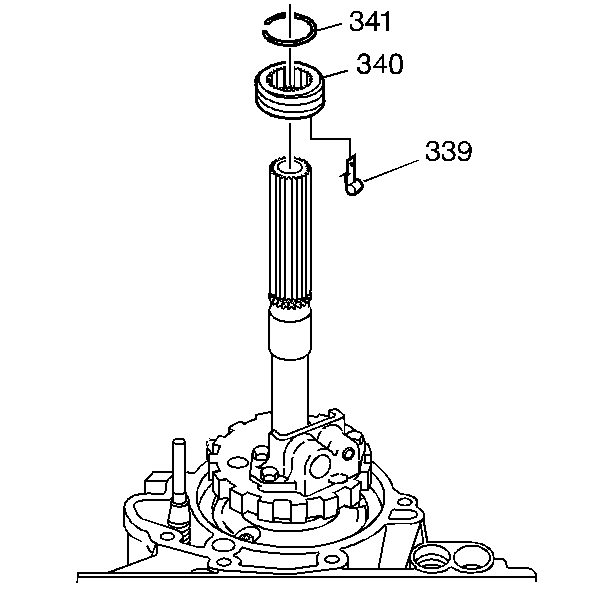
Install the speedometer drive gear (340) onto the output shaft.
Install the speedometer drive gear retainer clip (339), or retainer clip (341) on some models only.