GM Service Manual Online
For 1990-2009 cars only

    Object Number: 204136  Size: SH
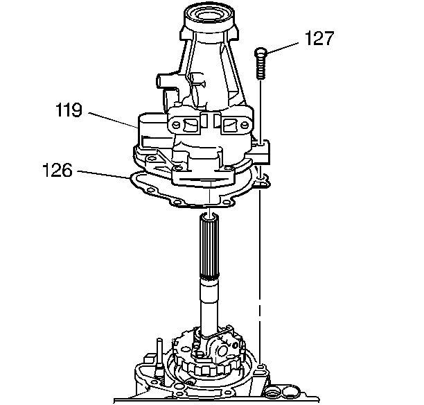
  1. Install the extension housing to case gasket (126).
  2. Install the extension housing (119). Align the parking pawl actuator rod into the opening in the extension housing.
  3. Install the extension housing bolts (127).
  4. Tighten
    Tighten the bolts to 31 N·m (23 lb ft).

    Refer to Fastener Notice .