GM Service Manual Online
For 1990-2009 cars only
Makes
🢒
Generic
🢒
1998
🢒
Unit Repair
🢒
Transmission/Transaxle
🢒
Automatic Transmission - 3L30
🢒 Governor Body Assemble
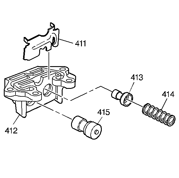
Install the secondary valve spring (414) and the secondary valve (413).
Install the primary valve (415). The valve should move freely.
Install the secondary valve retainer (411).