GM Service Manual Online
For 1990-2009 cars only

Important: The use of a honing stone, fine sandpaper or crocus cloth is not recommended for servicing stuck valves. All valve lands have sharply machined corners that are necessary to "cleaning" the bore. If these corners are rounded, foreign material could wedge between the valve and the bore causing the valve to stick. If it is found necessary to clean a valve "micro fine" lapping compound 900 grit or finer should be used. Too much "lapping" of the valve will cause excessive clearances and increase the chance of a valve not operating.

Caution: Valve Springs can be tightly compressed. Use care when removing retainers and plugs. Personal injury could result.


    Object Number: 181675  Size: SH
  1. Remove the spacer plate (130) and gaskets (129, 132).
  2. Remove the manual valve (138).
  3. Inspect the manual valve for:
  4. • porosity
    • scoring
    • nicks
    • scratches

    Object Number: 181676  Size: SH
  5. Remove the detent pressure regulator valve spring retainer pin (502).
  6. Remove the detent pressure regulator valve spring (528).
  7. Remove the detent pressure regulator valve (527).
  8. Inspect the detent pressure regulator valve for:
  9. • porosity
    • scoring
    • nicks
    • scratches

    Object Number: 181678  Size: SH
  10. Remove the 3-2 control valve spring retainer pin (502).
  11. Remove the 3-2 control valve plug (526).
  12. Remove the 3-2 control valve spring (525).
  13. Remove the 3-2 control valve (524).
  14. Inspect the 3-2 control valve for:
  15. • porosity
    • scoring
    • nicks
    • scratches
  16. Inspect the 3-2 control valve spring for distortion.

  17. Object Number: 181680  Size: SH
  18. Remove the 2-3 shift control valve sleeve retainer pin (502).
  19. Remove the 2-3 shift control valve sleeve (523).
  20. Remove the 2-3 shift control valve (522).
  21. Remove the 2-3 shift control valve spring (521) and seat (520).
  22. Remove the 2-3 shift valve (519).
  23. Inspect the 2-3 shift control valve sleeve, for:
  24. • porosity
    • scoring
    • nicks
    • scratches
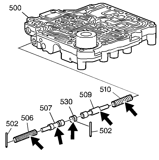
  25. Inspect the 2-3 shift control valve for:
  26. • porosity
    • scoring
    • nicks
    • scratches
  27. Inspect the 2-3 shift valve for:
  28. • porosity
    • scoring
    • nicks
    • scratches
  29. Inspect the 2-3 shift control valve spring for distortion.

  30. Object Number: 181682  Size: SH
  31. Remove the 1-2 shift control valve sleeve retainer pin (502).
  32. Remove the 1-2 shift control valve sleeve (518).
  33. Remove the 1-2 shift control valve (516).
  34. Remove the 1-2 shift control valve spring (517) from the shift valve.
  35. Remove the 1-2 shift valve spring (515).
  36. Remove the 1-2 shift valve (514).
  37. Inspect the 1-2 shift control valve for:
  38. • porosity
    • scoring
    • nicks
    • scratches
  39. Inspect the 1-2 shift valve for:
  40. • porosity
    • scoring
    • nicks
    • scratches
  41. Inspect the 1-2 shift control valve spring and the 1-2 shift valve spring for distortion.

  42. Object Number: 181685  Size: SH
  43. Remove the downshift timing valve spring retainer pin (502).
  44. Remove the downshift timing valve spring (506) (high speed).
  45. Remove the downshift timing valve (507) (high speed).
  46. Remove the intermediate valve retainer pin (502).
  47. Remove the intermediate valve (530).
  48. Remove the downshift timing valve (509) (low speed).
  49. Remove the downshift timing valve spring (510) (low speed).
  50. Inspect the downshift timing valves for:
  51. • porosity
    • scoring
    • nicks
    • scratches
  52. Inspect the downshift timing valves springs for distortion.

  53. Object Number: 181693  Size: SH
  54. Remove the manual low control valve spring retainer pin (502).
  55. Remove the manual low control valve spring (511).
  56. Remove the manual low control valve (512).
  57. Remove the reverse control valve (513).
  58. Inspect the manual low control valve for:
  59. • porosity
    • scoring
    • nicks
    • scratches
  60. Inspect the reverse control valve for:
  61. • porosity
    • scoring
    • nicks
    • scratches
  62. Inspect the manual low control valve spring for distortion.

  63. Object Number: 181695  Size: SH
  64. Remove the 1-2 accumulator valve plug retainer pin (502).
  65. Remove the 1-2 accumulator valve plug (503).
  66. Remove the 1-2 accumulator valves (504).
  67. Remove the 1-2 accumulator valve spring (505).
  68. Inspect the 1-2 accumulator valve for:
  69. • porosity
    • scoring
    • nicks
    • scratches
  70. Inspect the 1-2 accumulator valve spring for distortion.

  71. Object Number: 181697  Size: SH
  72. Clean the control valve body and components.
  73. Dry using compressed air only.
  74. Inspect the control valve body (500) for:
  75. • porosity
    • cracks
    • interconnected fluid passages
    • damage to the machined surfaces