GM Service Manual Online
For 1990-2009 cars only

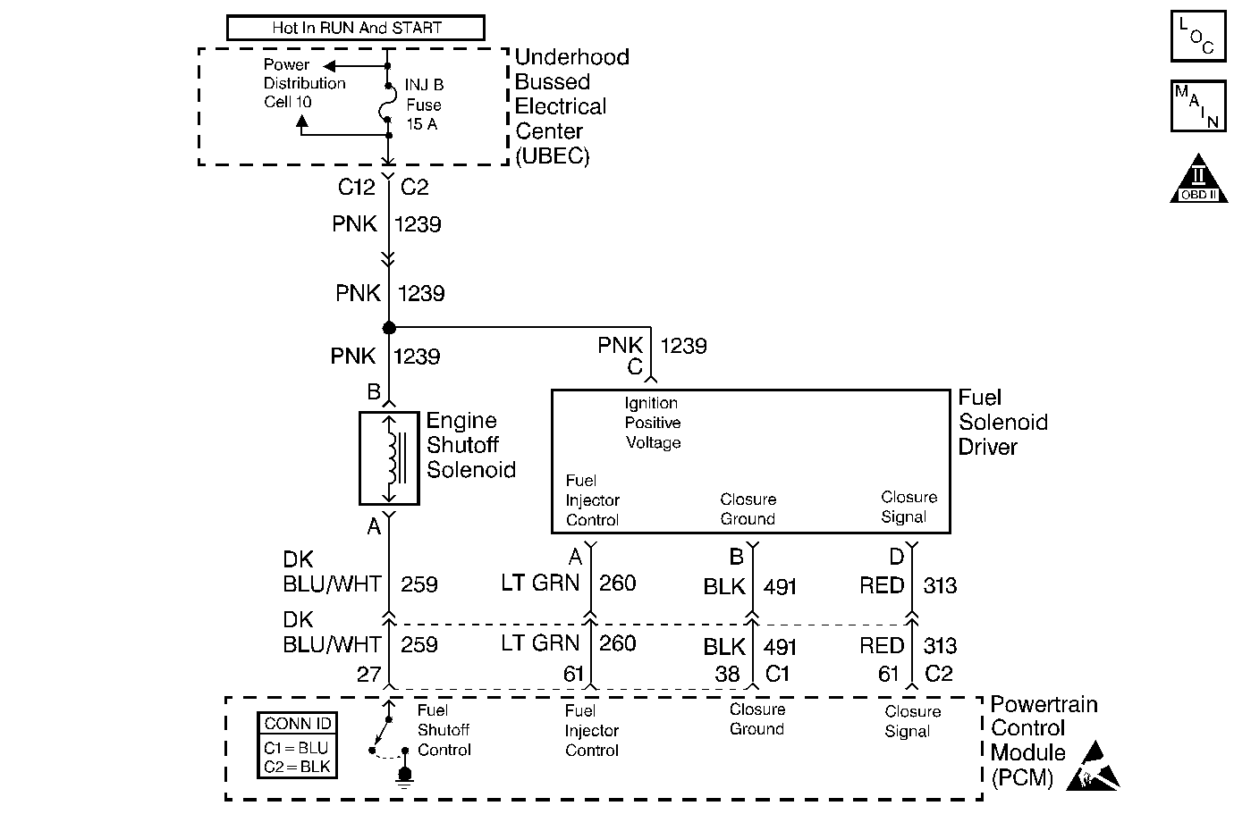
Object Number: 401383  Size: MF
OBD II Symbol Description Notice
Handling ESD Sensitive Parts Notice

Circuit Description

This chart assumes that battery condition and engine cranking speed is OK. The quantity and quality of fuel is OK and glow plug system is operating properly.

Diagnostic Aids

If no trouble is found and the cause of an Engine Cranks But Will Not Run has not been found, check for:

    • Proper cranking speed, 100 RPMs cold - 180 RPMs hot (a scan tool can be used to check cranking speed by pulling the ECM B fuse and monitoring Engine Speed on the scan tool while cranking).
    • Water or foreign material in the fuel system.
    • Basic engine problem.

If the crankshaft position sensor and the optical/fuel temperature are disconnected or malfunctioning at the same time, an Engine Cranks But Will Not Run condition will exist.

Test Description

Number(s) below refer to the step number(s) on the Diagnostic Table.

  1. This step checks for proper cranking speed (see Diagnostic Aids).

  2. This step will check the ground wire on the injection pump (wire located on top of pump).

  3. This step will determine if the injection pump or wiring is at fault.

Step

Action

Value(s)

Yes

No

1

Important: Before clearing DTC(s) use the Scan Tool Capture Info to record freeze frame and failure records for reference, as data will be lost when Clear Info function is used.

Did you perform the Powertrain On-Board Diagnostic (OBD) System Check?

--

Go to Step 2

Go to Powertrain On Board Diagnostic (OBD) System Check

2

Check for proper condition of batteries. Refer to Engine Electrical.

Is the condition of batteries OK?

--

Go to Step 3

Go to Step 24

3

Check for adequate fuel in the tank.

Is the fuel at an adequate level?

--

Go to Step 4

Go to Step 24

4

Check the quality of the fuel. Refer to Fuel Quality Diagnosis .

Is the fuel quality OK?

--

Go to Step 5

Go to Step 24

5

Check the glow plug system operation. Refer to Glow Plug System Check .

Are the glow plugs operating OK?

--

Go to Step 6

Go to Step 24

6

Check for the proper cranking speed. Refer to Engine Electrical.

Is the cranking speed OK?

--

Go to Step 7

Go to Step 24

7

Check for a restriction in the fuel return system. Refer to Fuel Supply System Check .

Does the fuel return system operate properly?

--

Go to Step 8

Go to Step 24

8

Check the injection pump ground wire (located on top of the injection pump).

Is the ground OK?

--

Go to Step 9

Go to Step 24

9

  1. Connect the scan tool.
  2. Monitor VTD Fuel Disabled on the Powertrain Engine Data 1 list.
  3. Crank the engine.

Does VTD Fuel Diabled display Active while the engine is being cranked?

--

Go to VTD System Check

Go to Step 10

10

Install a scan tool.

Does the scan tool display data?

--

Go to Step 11

Go to Data Link Connector Diagnosis

11

  1. Loosen the injector line at the injector.
  2. Crank the engine.
  3. Repeat the procedure for the remaining injectors.

Is there fuel at each injection line?

--

Go to Step 17

Go to Step 12

12

Disconnect the optical/fuel temperature sensor.

Does the vehicle start?

--

Go to Step 16

Go to Step 13

13

  1. Reconnect the optical/fuel temperature sensor.
  2. Disconnect the fuel solenoid driver at the fuel injection pump.
  3. With J 39200 connected to ground, probe the fuel injector control circuit at the (4 wire jumper harness) harness terminal (terminal A).
  4. Crank the engine.

Is the voltage greater than or equal to the specified value?

1.2 V

Go to Step 14

Go to Step 19

14

  1. Verify the fuel solenoid (4 wire jumper harness) to the fuel solenoid driver is still disconnected.
  2. Probe the fuel solenoid closure ground circuit (terminal B) with a test light connected to B+ at the harness terminal.

Is the test light ON?

--

Go to Step 15

Go to Step 20

15

  1. Turn the ignition ON leaving the engine OFF.
  2. Verify the fuel solenoid (4 wire jumper harness) is still disconnected.
  3. Probe the ignition feed circuit (terminal C) at the fuel solenoid harness connector with a test light connected to ground.

Is the test light ON?

--

Go to Step 17

Go to Step 22

16

Replace fuel injection pump. Refer to Fuel Injection Pump Replacement .

Is the action complete?

Go to Step 26

--

17

Replace fuel solenoid driver. Refer to Fuel Solenoid Driver Replacement .

Is the action complete?

--

Go to Step 26

--

18

The injection system is OK.

Is the action complete?

--

Go to Driveability Symptoms

--

19

Check the fuel inject control circuit for an open or ground between the fuel solenoid driver and the PCM.

Was a problem found?

--

Go to Step 23

Go to Step 21

20

Check the closure ground circuit for an open between the fuel solenoid driver and the PCM.

Was a problem found?

--

Go to Step 23

Go to Step 21

21

Inspect the fuel solenoid driver connector and the PCM connector for a proper connection.

Was a problem found?

--

Go to Step 23

Go to Step 25

22

Repair the open in the ignition feed circuit.

Is the action complete?

--

Go to Step 26

--

23

Repair the circuit as necessary.

Is the action complete?

--

Go to Step 26

--

24

Make the appropriate repairs.

Is the action complete?

--

Go to Step 26

--

25

Replace the PCM.

Important: The new PCM must be programmed. Refer to Powertrain Control Module Replacement/Programming .

Is the action complete?

--

Go to Step 26

--

26

  1. Using the scan tool, select DTC, Clear Info.
  2. Attempt to start the engine.

Does the engine start and continue to run?

--

Go to Step 27

Go to Step 2

27

  1. Allow the engine to idle until normal operating temperature is reached.
  2. Select DTC, Fail This Ign.

Are any DTCs displayed?

--

Go to Step 28

--

28

Using the Scan Tool, select Capture Info, Review Info.

Are any DTCs displayed that have not been diagnosed?

--

Go to the Applicable DTC Table

System OK