GM Service Manual Online
For 1990-2009 cars only
Makes
🢒
Generic
🢒
1999
🢒
Unit Repair
🢒
Engine
🢒
Engine Controls - 6.5L
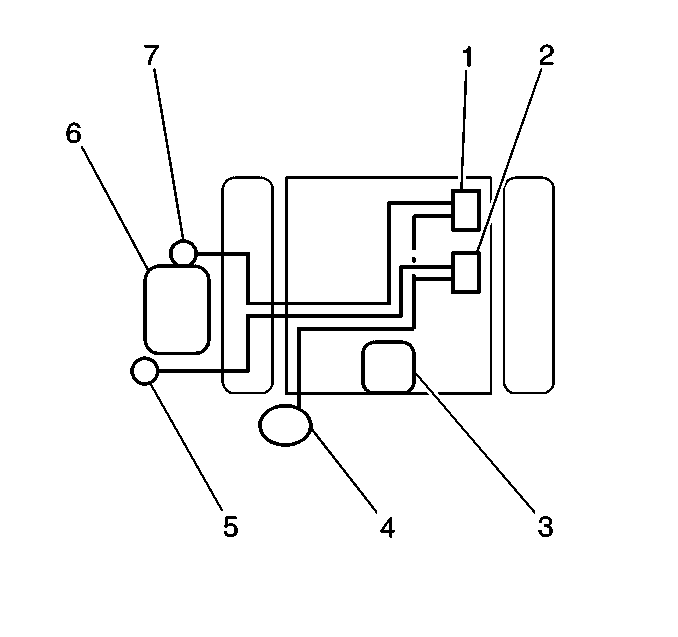
🢒 Emission Hose Routing Diagram
(1)
EPR Actuator (white line)
(2)
EPR Solenoid
(3)
Wastegate Solenoid
(4)
Injection Pump
(5)
Vacuum Pump (black line)
(6)
Wastegate Actuator (green line)
(7)
Turbocharger