GM Service Manual Online
For 1990-2009 cars only
Figure 1:

Turbocharger and Solenoids


Object Number: 408307  Size: MF
(1)EPR Solenoid
(2)Wastegate Solenoid
(3)Turbocharger
(4)Wastegate Actuator
(5)EPR Actuator
Figure 2:

Glow Plug Relay (Federal)


Object Number: 26780  Size: SH
Figure 3:

Glow Plug Relay (California)


Object Number: 365417  Size: SH
(1)Glow Plug Relay (California)
(2)Mounting Nut
(3)Mounting Bracket
Figure 4:

Glow Plugs


Object Number: 192951  Size: MF
(1)Glow Plugs
(2)Cylinder Head
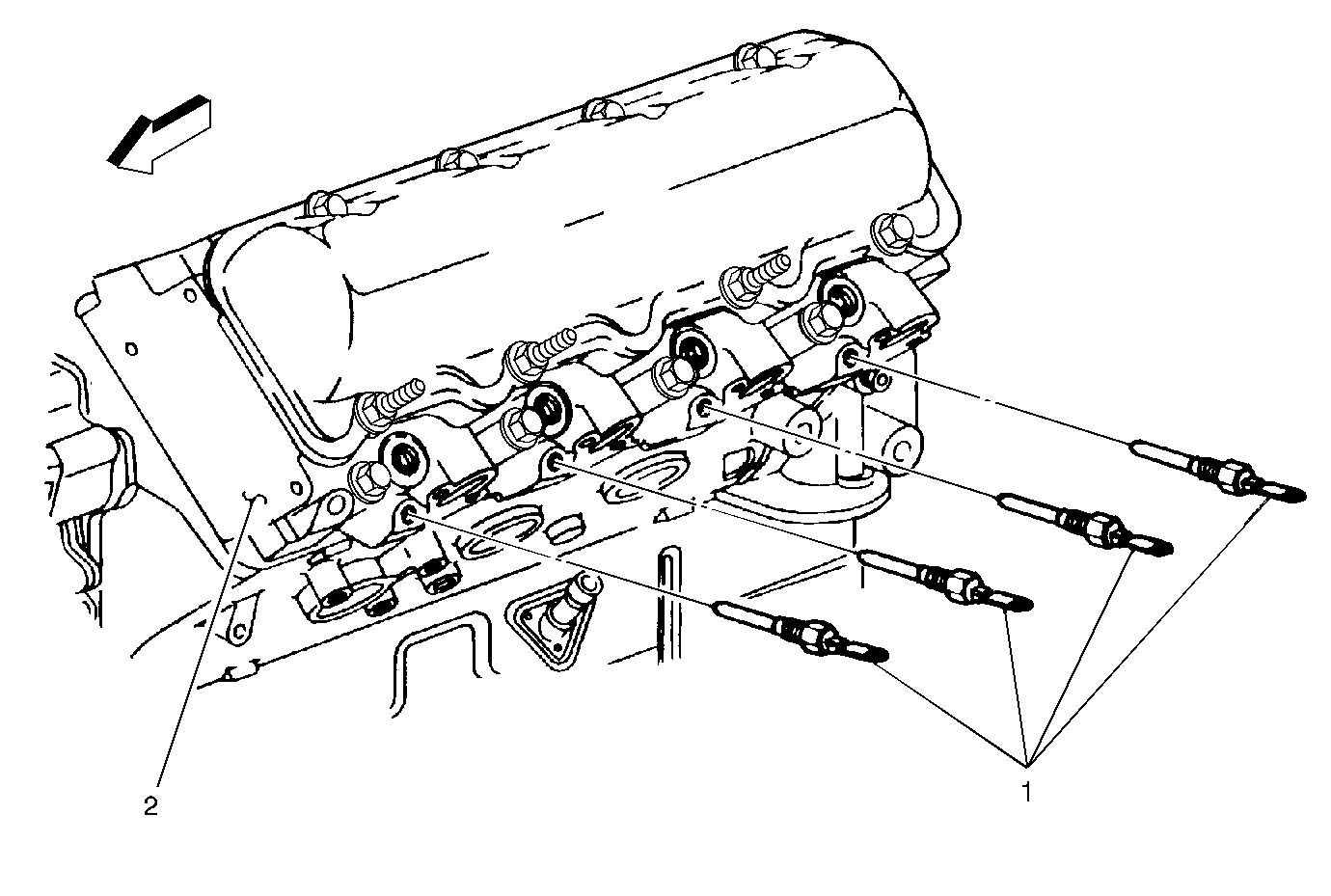
Figure 5:

Injection Nozzles


Object Number: 192965  Size: MF
(1)Cylinder Head
(2)Injection Nozzles
(3)Seal
Figure 6:

Oil Pressure Switch (OPS)


Object Number: 192947  Size: LF
(1)Oil Pressure Switch (OPS)
(2)Engine Block
Figure 7:

Fuel Injection Pump and Lines


Object Number: 192955  Size: MF
(1)Optical/Fuel Temperature Sensor
(2)Fuel Injection Pump
(3)Fuel Solenoid
(4)Injection Lines
(5)Fuel Solenoid Driver
(6)Engine Shut Off (ESO) Solenoid
Figure 8:

ECT Sensor, ITS Motor, and Optical/Fuel Temperature Sensor


Object Number: 192956  Size: LF
(1)ECT Sensor
(2)Fuel Injection Pump
(3)Ignition Timing Stepper (ITS) Motor
(4)Fuel Solenoid
(5)Optical/Fuel Temperature Sensor
Figure 9:

Crankshaft Position (CKP) Sensor


Object Number: 192948  Size: SF
(1)Front Engine Cover
(2)Crankshaft Position (CKP) Sensor
(3)Mounting Bolt
Figure 10:

IAT Sensor


Object Number: 192959  Size: MF
(1)Intake Air Temperature (IAT) Sensor
(2)Intake Manifold
Figure 11:

Fuel Filter/Manager and Fuel Injection Pump


Object Number: 192944  Size: MF
(1)Fuel Injection Pump
(2)Intake Manifold
(3)Water in Fuel Sensor
(4)Fuel Heater
(5)Fuel Filter/Manager (Filter Inside)
Figure 12:

Powertrain Control Module (PCM)


Object Number: 398141  Size: SH
(1)Radiator Support
(2)Powertrain Control Module (PCM) Cover
(3)Powertrain Control Module (PCM)
Figure 13:

APP Module


Object Number: 192941  Size: SF
(1)APP Module
(2)Accelerator Pedal
(3)Brake Pedal
Figure 14:

VSS Buffer Module


Object Number: 193112  Size: SF
(1)VSS Buffer Module
(2)Harness Connector
(3)Fastener
(4)Above the Accelerator Pedal
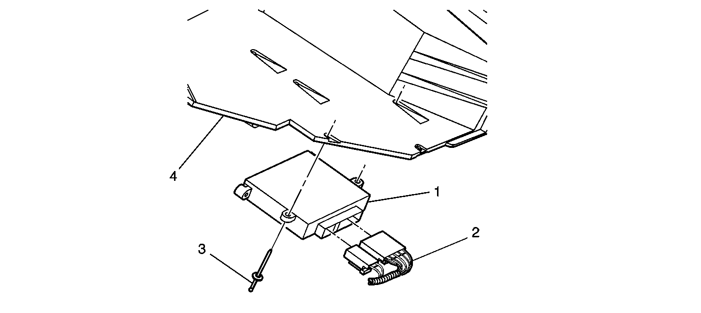
Figure 15:

Fuel Lift Pump


Object Number: 193110  Size: SF
(1)Fuel Lift Pump
(2)Frame Rail
Figure 16:

Electronic Brake Control Module (EBCM) and Fuel Pump (Diesel)


Object Number: 349773  Size: LF
(1)Electronic Brake Control Module (EBCM)
(1)EBCM
(2)Fuel Pump (Diesel) Connector
(2)Fuel Pump (Diesel) Connector
(3)Fuel Pump (Diesel) Connection
(3)Fuel Pump (Diesel) Connection
(4)Fuel Pump (Diesel)
(4)Fuel Pump (Diesel)
Figure 17:

Pedal Assemblies (Automatic Transmission)


Object Number: 310024  Size: MF
(1)Stoplamp Switch
(2)Dash Pedal
(3)Accelerator Pedal Position (APP) Sensor -- Diesel
(4)Park Brake Switch
(5)Park Brake Assembly
(6)Lower Dash Panel
(7)Instrument Panel Electrical Connector