GM Service Manual Online
For 1990-2009 cars only

Tools Required

   • 
  • J 37637 Case Separator
  •    • 
  • J 8433 Bearing Puller
  •    • 
  • J 37756 Output Shaft Bearing Puller Adapter
  •    • 
  • J 26941 Needle Bearing Puller
  •    • 
  • J 23907 Slide Hammer
  •    • 
  • J 34757 Output Shaft Ring Remover
  •    • 
  • J 39497 Friction Ring Remover and Installer
  •    • 
  • J 22912-O1 Split Plate
  •    • 
  • J 34844 Front Shaft Bearing Remover
  •    • 
  • J 28406 Input Gear Bearing Remover
  •    • 
  • J 26900-5 Vernier Caliper

    1. Object Number: 154038  Size: SH
    2. Remove the following components from the rear case:
    3. • The four-wheel drive switch
      • The steel ball
      • The O-ring
    4. Remove the following components from the rear of the case (if equipped):
    5. • The four-wheel drive low switch and the steel ball
      • The O-ring
    6. Remove the following components from the rear case:
    7. • One bolt
      • The speedometer driven gear case
      • The O-ring

      Object Number: 154039  Size: SH
    8. Remove the following components from the rear case:
    9. • The 5 bolts
      • The gearshift bracket
      • The gearshift lever case (1)

      Object Number: 154040  Size: SH
    10. Remove the following components from the rear case (6):
    11. • The select return spring bolt (1)
      • The washer (2)
      • The select return spring (3)
      • The select return ball (4)
      • The select return pin (5)

      Object Number: 154041  Size: SH

      Important: After you remove the rear case, use a magnet in order to extract the pin from the case.

    12. Using a standard drift punch (2) and a hammer (1), drive the roll pin from the reduction shift yoke. This procedure will cause the pin to fall into the transfer case assembly.
    13. Slide the reduction shift yoke rearward. Pull the reduction shift yoke off the reduction shift shaft and out of the rear case.

    14. Object Number: 471077  Size: SH
    15. Remove the 15 rear case bolts.

    16. Object Number: 154042  Size: SH
    17. Separate the rear case from the center case using a J 37637 .
    18. Using a magnet, remove the shift yoke roll pin from inside the rear transfer case.

    19. Remove the selective shim from the top of the rear output shaft rear bearing.

    20. Object Number: 154045  Size: SH
    21. Use J 34757 in order to remove the following components from the rear output shaft:
    22. • The speedometer drive gear C-clip
      • The speedometer drive gear

      Object Number: 471075  Size: SH
    23. Carefully remove the drive gear ball from the rear output shaft.

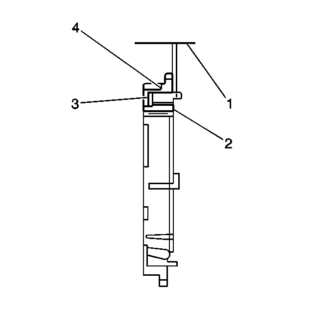
    24. Object Number: 471068  Size: SH
    25. Use J 34757 in order to remove the rear output shaft rear bearing C-clip from the rear output shaft.

    26. Object Number: 154134  Size: SH
    27. Use J 8433 with J 37756 in order to remove the rear output shaft rear bearing from the rear output shaft.

    28. Object Number: 154058  Size: SH

      Important: Do not lose the rear output shaft washer ball underneath the drive sprocket bushing during the sprocket bushing removal.

    29. Remove the following components:
    30. • The drive sprocket bushing (1) output shaft
      • The drive sprocket needle bearing (2) output shaft

      Object Number: 471093  Size: SH
    31. Remove the following components from the rear output shaft:
    32. • 2 screws (2)
      • The synchronizing plate (1)

      Object Number: 154061  Size: SH
    33. Remove the following drive components from the rear output shaft and the front output shaft:
    34. • The drive sprocket (2) 
      • The drive chain (1) 
      • The rear output shaft washer ball

      Object Number: 154064  Size: SH
    35. Use J 26941 with J 23907 in order to remove the rear output shaft oil seal from the rear case.

    36. Object Number: 154094  Size: SH
    37. Remove the following components from the rear case:
    38. • One bolt (1) 
      • The oil guide

      Object Number: 471070  Size: SH
    39. Use J 26941 and a hammer in order to remove the rear output shaft needle bearing from the rear case.

    40. Object Number: 154068  Size: SH
    41. Remove the following components from the front case:
    42. • One bolt (2)
      • One washer
      • The countershaft case plate (1)

      Object Number: 154071  Size: SH
    43. Remove the 9 front case bolts (1) from the front case.

    44. Object Number: 154073  Size: SH
    45. Separate the front case from the center case (1).
    46. Remove the countershaft assembly (3) from the center case.

    47. Object Number: 154074  Size: SH

      Important: Do not lose the countershaft washer balls which come out from between the countershaft (9) and the countershaft washers (1,7).

    48. Remove the following components from the countershaft (9):
    49. • The countershaft washers (1,7)
      • The washer balls (3)
    50. Remove the following components from the countershaft:
    51. • The counter gear (6)
      • The countershaft needle bearings (4,8)
      • The countershaft spacer (5)
    52. Inspect the countershaft friction ring for excessive wear or damage. Replace as necessary.
    53. Inspect the countershaft O-ring for cuts or other damage. Replace as necessary.
    54. Important: Do NOT remove either the countershaft friction ring (10) or the O-ring (2) unless absolutely necessary. If you remove either one, replace with new components.

    55. Remove the countershaft O-ring from the countershaft.

    56. Object Number: 154076  Size: SH
    57. Use J 39497 and a press arbor (2) in order to remove the countershaft friction ring (1) from the countershaft (3).

    58. Object Number: 154078  Size: SH
    59. Remove the following components from the center case:
    60. • The 1 rubber plug (1)
      • The 2 locating screws (4)
      • The 1 washer
      • The 2 locating springs (3)
      • The 2 locating balls (2)

      Object Number: 154080  Size: SH

      Important: Observe the alignment marks on the following components in order to ensure correct alignment during assembly:

         • The caged needle bearing
         • The reduction clutch sleeve and hub
         • The front drive clutch sleeve and hub
      If no alignment marks are present, scribe new marks on these components.

    61. Remove the following components from the rear output shaft, in front of the center case:
    62. • The reduction shift shaft (2)
      • The reduction shift fork (1)
      • The reduction clutch sleeve (3)

      Object Number: 473233  Size: SH
    63. Remove the following components from the rear output shaft, in the rear of the center case:
    64. • The front drive shift shaft (4)
      • The front drive shift fork (1)
      • The front drive clutch sleeve (2)
      • The front drive clutch hub (3)

      Object Number: 471087  Size: SH
    65. Remove the interlock ball (1) from the center case passage.

    66. Object Number: 154047  Size: SH
    67. Use J 34757 in order to remove the reduction hub C-clip (3) from the rear output shaft.
    68. Remove the following components from the rear output shaft.
    69. • The reduction clutch hub (2)
      • The low output gear
      • The low output gear needle bearing (1)

      Object Number: 154083  Size: SH
    70. Use a plastic mallet in order to remove the rear output shaft from the center case.

    71. Object Number: 154084  Size: SH
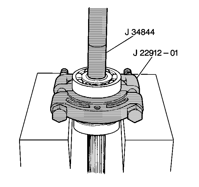
    72. Use J 22912-O1 and a press arbor in order to remove the rear output shaft front bearing from the rear output shaft.

    73. Object Number: 154085  Size: SH
    74. Using a plastic mallet, remove the front output shaft and the bearings from the center case.

    75. Object Number: 471079  Size: SH
    76. Remove the following components from the center case:
    77. • One bolt (1) 
      • The case gutter

      Object Number: 154087  Size: SH
    78. Use J 26941 with J 23907 in order to remove the front output shaft oil seal from the center case.

    79. Object Number: 154057  Size: SH
    80. Using J 26941 and a hammer, remove the front output shaft needle bearing from the center case.

    81. Object Number: 154090  Size: SH
    82. Use J 22912-O1 with J 34844 and a press arbor in order to remove the front output shaft bearings from the front output shaft.

    83. Object Number: 471063  Size: SH
    84. Loosen the center bearing snap ring within the input gear. You cannot remove this snap ring at this time.

    85. Object Number: 154093  Size: SH
    86. Using a plastic mallet, remove the input gear assembly from the front case.

    87. Object Number: 154096  Size: SH
    88. Using J 26941 with J 23907 , remove the input gear oil seal from the front case.

    89. Object Number: 154097  Size: SH

      Important: During gear assembly removal, the bearing may move, binding the snap ring in its groove. Apply light pressure with the mallet in order to slide the bearing back to its original position before you attempt to remove the snap ring.

    90. Using snap ring pliers, remove the side bearing snap ring (1) from the input gear.

    91. Object Number: 154099  Size: SH
    92. Use J 22912-O1 with J 28406 and a press arbor in order to remove the input gear bearing from the input gear.
    93. Remove the center bearing snap ring from the input gear.

    94. Object Number: 154102  Size: SH
    95. Remove one roll pin from the reduction shift fork.
    96. Remove the reduction roll fork from the reduction shift shaft.
    97. Remove the following components from the front drive shift shaft:
    98. • The two E-clips (6)
      • The shaft stop washer (5)
      • The front drive shift fork (4)
      • The front drive fork spring (3)

      Important: Careful cleaning of the component mating surfaces will ensure proper case sealing.

    99. Clean the following components with solvent and dry thoroughly:
    100. • The front case
      • The rear case
      • The center case
    101. Clean all of the internal components with solvent and dry thoroughly.
    102. Inspect the following components for cracks or porosity:
    103. • The front case
      • The rear case
      • The center case
      • The gearshift lever case
      • Replace as necessary.
    104. Inspect the drive teeth and the clutching teeth of all of the gears and sprockets for the following conditions:
    105. • Broken teeth
      • Chipped teeth
      • Gear clash damage
    106. Inspect the shift shafts and the forks for the following conditions:
    107. • Excessive wear
      • Distortion
      • Replace as necessary
    108. Inspect each ball bearing for smooth rotation. If the rotation is abnormal, replace the ball bearing.
    109. Inspect the needle bearing and the bearing contacting surface for damage. Replace as required.
    110. Inspect the gear tooth surface and the shift mechanism. Correct an abnormal mechanism or replace as required.
    111. Inspect the drive chain and the sprockets for abnormal wear or damage. Replace as required.
    112. Inspect the oil seal for leakage and inspect the oil seal lip for excessive hardness.
    113. inspect the corresponding surface of the shaft where the oil seal lip contacts. Correct an abnormal condition or replace as required.

    114. Inspect the gear tooth surface of the speedometer drive gear. Replace a damaged gear.

    115. Object Number: 471095  Size: SH
    116. Inspect the clutch hubs (1) and the sleeves (2) for the following conditions:
    117. • Poor fit
      • Cracked teeth (3)
      • Broken teeth
      • Replace as necessary

      Object Number: 154100  Size: SH
    118. Inspect the locating springs for the following conditions:
    119. • Weakness
      • Distortion
      • Replace as necessary
    120. Use J 26900-5 in order to measure each locating spring.
    121. Measurement
      Standard spring length is 19.5 mm (0.768 in).

      If a spring length measures below 18.0 mm (0.709 in), replace the springs as necessary.


      Object Number: 154101  Size: SH
    122. Use a feeler gage in order to measure the shift fork-to-clutch sleeve clearance.
    123. Measurement
      The maximum shift fork-to-clutch sleeve clearance is 1.0 mm (0.039 in).

      If the clearance is greater than 1.0 mm (0.039 in), replace the shift fork and the clutch sleeve as necessary.


      Object Number: 471142  Size: SH
    124. Assemble the following components:
    125. • The synchronizer outer ring (4)
      • The inner ring (2)
      • The cone (3)
    126. Measure the step difference (1) between the outer ring and the inner ring.
    127. Measurement
      The standard difference between the inner ring and the outer ring is 1.0-1.4 mm (0.039-0.055 in).


      Object Number: 471080  Size: SH
    128. Measure the key slot width (2) in the synchronizer outer ring (1) and inspect each chamfered tooth of the gear and the synchronizer ring. If necessary, replace the outer ring.
    129. Measurement
      The maximum slot width in the outer ring is 10.1 mm (0.397 in).