GM Service Manual Online
For 1990-2009 cars only

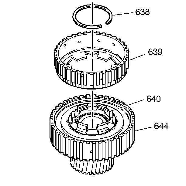
    Object Number: 213055  Size: SH
  1. Remove the overrun clutch hub retaining snap ring (638).
  2. Remove the overrun clutch hub (639).
  3. Remove the forward sprag clutch inner race and input sun gear assembly (640).

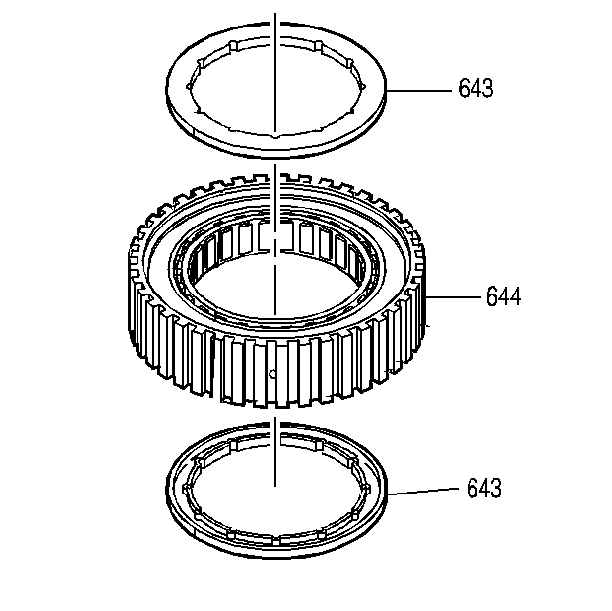
  4. Object Number: 8204  Size: SH
  5. Remove the sprag assembly retainer rings (643).
  6. Remove the forward sprag assembly from the forward clutch outer race (644).