GM Service Manual Online
For 1990-2009 cars only
Makes
🢒
Generic
🢒
1999
🢒
Unit Repair
🢒
Transmission/Transaxle
🢒
Automatic Transmission - 4L60-E
🢒 Oil Pump Body Assemble
Tools Required
•
J 25016
Pump Seal and speedometer gear Installer
•
J 36850
Transjel Lubricant
Using the
J 25016
, install the oil seal assembly (243).
Install the front helix retainer (244).
Install an O-ring seal (202) and oil seal ring (201) into the groove on the back side of the pump slide (203).
Use
J 36850
, or an equivalent, to retain the seal and the ring on the slide.
Install the pivot pin spring (204) and the pivot pin (205).
Install the pump slide (203).
Index the slide notch with the pivot pin (205).
The oil seal ring must face downward into the pump pocket.
Install the pump slide seal support (208) and the pump slide seal (209).
Install the pump slide inner (207) and outer (206) springs.
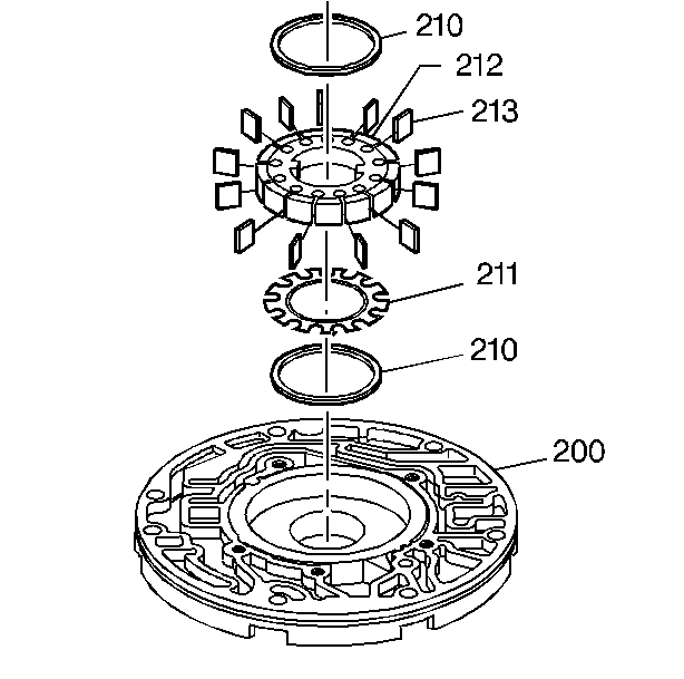
Install the bottom pump vane ring (210) and the rotor guide (211) into the rotor (212) and retain with
J 36850
or an equivalent.
Install the rotor (212) with the rotor guide (211) toward the pump pocket.
Install the pump vanes (213).
Install the top pump vane ring (210).