GM Service Manual Online
For 1990-2009 cars only

    Object Number: 8849  Size: SH
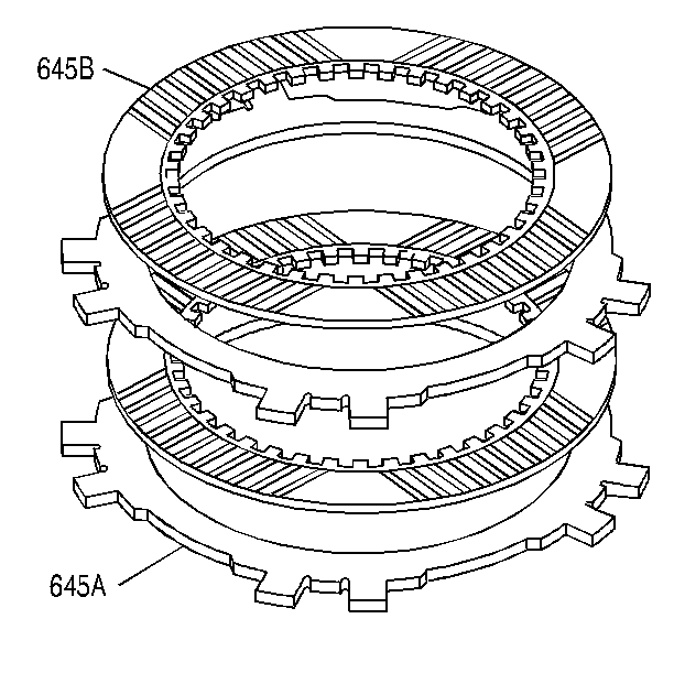
  1. Inspect the fiber plate assemblies (645B) and the steel plates (645A) for the following defects:
  2. • Damaged tangs
    • Delamination
    • Excessive wear
    • Wear or heat damage

    Object Number: 8850  Size: SH
  3. Install the overrun clutch plates into the input housing starting with a steel plate (645B) and alternating with fiber plate assemblies (645A).
  4. Index the plates in the input housing with the wide notches remaining open.

  5. Object Number: 8851  Size: SH
  6. Install the input sun gear bearing assembly (637) into the input housing.