GM Service Manual Online
For 1990-2009 cars only
Makes
🢒
Generic
🢒
1999
🢒
Unit Repair
🢒
Transmission/Transaxle
🢒
Automatic Transaxle - 4T60-E
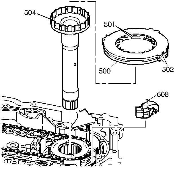
🢒 4th Clutch Components Disassemble
Remove the fourth clutch backing plate (500).
Remove the fourth clutch fiber and steel plates (501, 502).
Remove the fourth clutch shaft assembly (504).
Remove the drive link lube scoop (608).