GM Service Manual Online
For 1990-2009 cars only
Makes
🢒
Generic
🢒
1999
🢒
Unit Repair
🢒
Transmission/Transaxle
🢒
Automatic Transaxle - 4T60-E
🢒 1-2 Support Roller Clutch Disassemble
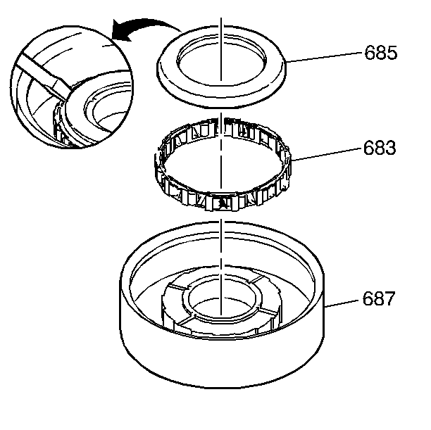
Use a small screwdriver in order to gently pry the thrust bearing (685) off of the 1-2 support drum (687).
Lift the 1-2 clutch roller assembly (683) out of the 1-2 support drum.