| • | Plugged feed passages |
| • | Worn or damaged splines |
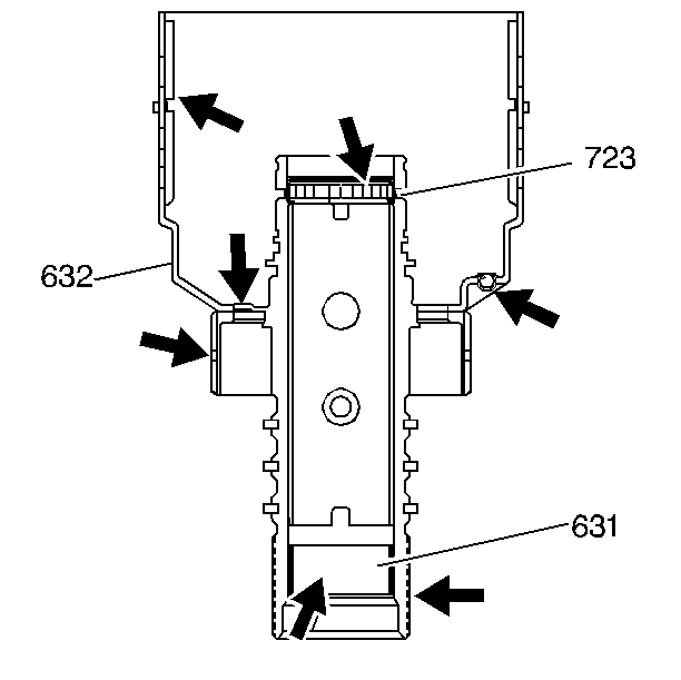
| • | Input shaft bushing (631) wear |
| • | Seal ring groove nicks or burrs |
| • | Cracks or blocked fluid passages in the input shaft |
| • | Damage or wear to the thrust bearing (723) in the input clutch housing |
| • | Cracks or damage to seal grooves |
| • | Wear on piston lugs |
Important: Do not attempt to reuse the third clutch piston and seal assembly.