GM Service Manual Online
For 1990-2009 cars only

    Object Number: 13022  Size: SH
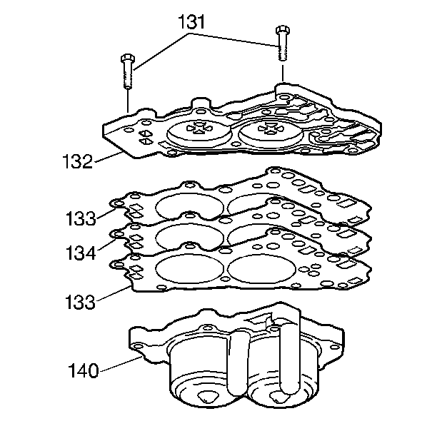
  1. Inspect the accumulator housing (140), the spacer plate (134), the gaskets (133), and the cover (132) for the following conditions:
  2. • A damaged lube, and servo oil pipe holes in the accumulator cover.
    • A damaged, improperly machined, or porous accumulator cover
    • A bent or damaged accumulator spacer plate
    • Damaged accumulator cover gaskets
    • Stripped or damaged bolt holes in the accumulator housing
    • A damaged, worn, improperly machined, or porous accumulator housing

    Object Number: 13023  Size: SH
  3. Inspect the accumulator pistons (136), the springs (138, 139), the seals (137), and the pins (135) for the following conditions:
  4. • Broken or collapsed piston springs (inner and outer)
    • Broken or collapsed piston cushion springs
    • Bent or worn accumulator piston pins
    • Damaged, worn, or porous accumulator pistons
    • Damaged accumulator piston seals

    Object Number: 13025  Size: SH
  5. Inspect the servo and lube oil pipe components (124-130) and the manual 2-1 band servo cover (104) for the following conditions:
  6. • A damaged lube, and servo oil pipe holes in the servo cover
    • A damaged, improperly machines, or porous servo cover
    • Bent, plugged, or damaged lube and servo oil pipes
    • A plugged or damaged lube oil hose
    • Damaged hose clamps
    • A damaged lube oil pipe retainer
    • A missing lube oil pipe washer

    Object Number: 13027  Size: SH
  7. Install the oil seal ring (137) onto the 2-3 accumulator piston (136). Lubricate the oil seal ring with automatic transmission fluid.
  8. Assemble the piston pin (135) and the 2-3 accumulator piston (136).
  9. Insert the inner and outer springs (138) for the 2-3 accumulator piston, and the piston assembly (136) into the accumulator housing (140). The springs may vary by model.

  10. Object Number: 13028  Size: SH
  11. Install the oil seal ring (137) onto the 1-2 accumulator piston (136). The piston may vary by model. Lubricate the oil seal ring with automatic transmission fluid.
  12. Assemble the piston pin (135) and 1-2 accumulator piston (136).
  13. Insert the inner and outer springs (139) for the 1-2 accumulator piston, and the piston assembly (136) into the accumulator housing (140). The springs and the pistons and the order of installation may vary by model.

  14. Object Number: 13030  Size: SH
  15. Install the accumulator spacer plates (134), the gaskets (133), and the cover (132) onto the accumulator housing (140).
  16. Notice: Use the correct fastener in the correct location. Replacement fasteners must be the correct part number for that application. Fasteners requiring replacement or fasteners requiring the use of thread locking compound or sealant are identified in the service procedure. Do not use paints, lubricants, or corrosion inhibitors on fasteners or fastener joint surfaces unless specified. These coatings affect fastener torque and joint clamping force and may damage the fastener. Use the correct tightening sequence and specifications when installing fasteners in order to avoid damage to parts and systems.

  17. Install seven accumulator cover bolts (131).
  18. Tighten
    Tighten the bolts to 12 N·m (106 lb in).


    Object Number: 13031  Size: SH
  19. Assemble the following parts:
  20. • The lube oil pipe (126)
    • The hose (128)
    • The hose clamps (127)
    • The pipe retainer (126)
    • The pipe with the washer (130)
  21. Install the manual 2-1 band servo and the forward band servo oil pipes (124, 125) into the accumulator assembly (132-140).
  22. Install the manual 2-1 band servo and the forward band servo oil pipes (124, 125) into the manual 2-1 band servo cover (104).
  23. Install the lube oil pipe assembly (126) into the accumulator assembly (132-140).