GM Service Manual Online
For 1990-2009 cars only
Makes
🢒
Generic
🢒
1999
🢒
Unit Repair
🢒
Transmission/Transaxle
🢒
Automatic Transaxle - 4T65-E
🢒 Accumulator Assembly and 2-1 Band Servo Removal
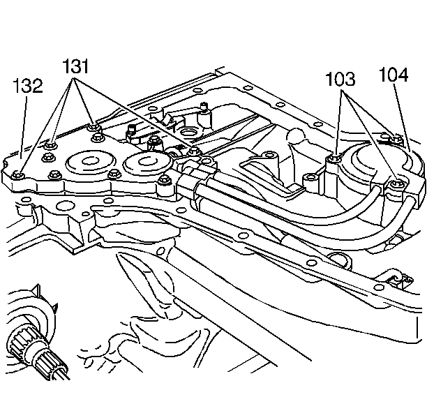
Remove the four indicated accumulator cover bolts (131) from the 1-2 and 2-3 accumulator cover (132).
Remove the three indicated bolts (103) from the manual 2-1 band servo cover (104).
Use a large screwdriver in order to gently pry the lube oil pipe retainer (129) from the case.
Remove the lube oil pipe (130) from the front differential carrier internal gear lube hole.
Notice:
Do not twist or damage the pipe assembly when removing the pipe assembly.
Remove the 1-2 and 2-3 accumulator assembly (132-140), the pipe assembly (124-126) and the manual 2-1 band servo cover (104).
Remove the manual 2-1 band servo assembly (106-116) out of the case at the same time.
Remove the cover seal (105) from the manual 2-1 band servo assembly.