| • | J 26958 Output Shaft Loading and Aligning Tool |
| • | J 26958-10B Adapter Plug |
| • | J 33381-A Final Drive Remover and Installer |
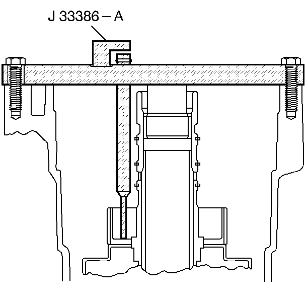
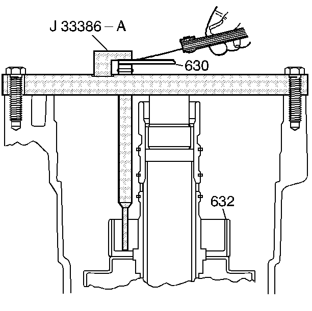
| • | J 33386-A Input Shaft End Play Tool |
| • | J 38385 Output Shaft Loading Tool Adapter |
| • | J 43425 Output Shaft Loading Tool Adapter |
Important: The tool J 38385 (3) is used on a standard duty transmission, and J 43425 (3) is used on a heavy duty transmission.
Important: The tool J 26958-10B (2) is model specific and can be used on a standard duty and a heavy duty transmission. This tool has a small end (4) and a larger end (5). Standard duty would use the smaller end (4) facing down, and a heavy duty would use the larger end (5) facing down.
Important: Install bolts and tighten securely to prevent tool deflection during end play measurement.
| • | If the clearance is less than 0.1521 mm (0.006 in), use the current size thrust washer. |
| • | If the clearance is 0.1521 mm (0.006 in) or more, select the next size larger thrust washer and recheck. |
| • | Refer to the Bearing/Input Clutch Hub Selective Thrust Washer (630) Selection Guide in End Play Specifications . |