GM Service Manual Online
For 1990-2009 cars only

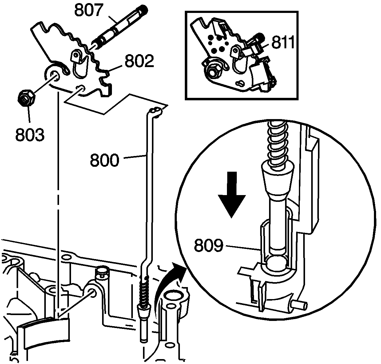
    Object Number: 330194  Size: SH
  1. Inspect the park system components for the following conditions:
  2. • A worn park pawl actuator guide (809).
    • A damaged or bent park pawl actuator assembly (800).
    • A damaged manual shift shaft detent lever (802) or IMS detent lever (811).
    • A worn, stripped, or bent manual shift shaft (807).
    • A bent or damaged manual valve link (402).
    • A kinked or bent manual valve link spring (403).

    Object Number: 10577  Size: SH
  3. Use a 9/16 in socket and a hammer in order to install the manual shift shaft seal assembly (806) into the case.

  4. Object Number: 10586  Size: SH
  5. Install a new park pawl actuator guide O-ring seal (810) onto the park pawl actuator guide (809).
  6. Install the actuator guide assembly into the case.
  7. Align the slot for the actuator guide pin (808) in the park pawl with the pin hole in the case.
  8. Use a mallet in order to install the actuator guide pin (808).

  9. Object Number: 330196  Size: SH
  10. Assemble the manual shift shaft detent lever (802) onto the manual shift shaft (807).
  11. Notice: Use the correct fastener in the correct location. Replacement fasteners must be the correct part number for that application. Fasteners requiring replacement or fasteners requiring the use of thread locking compound or sealant are identified in the service procedure. Do not use paints, lubricants, or corrosion inhibitors on fasteners or fastener joint surfaces unless specified. These coatings affect fastener torque and joint clamping force and may damage the fastener. Use the correct tightening sequence and specifications when installing fasteners in order to avoid damage to parts and systems.

  12. Install the nut (803) on the manual shift shaft.
  13. Tighten
    Tighten the nut to 32 N·m (23 lb ft).

  14. Assemble the detent lever assemblies (802) or IMS (811) onto the park pawl actuator assembly (800).
  15. Install the manual shift shaft detent lever assembly (802, 803, 807) or the IMS detent lever assembly (811) and the park pawl actuator assembly  (800) into the case.

  16. Object Number: 10587  Size: SH
  17. Align the groove for the manual shift shaft pin with the pin hole in the case.
  18. Use a mallet in order to install the manual shift shaft pin (801).