GM Service Manual Online
For 1990-2009 cars only

    Object Number: 330198  Size: SH

    Important: Do not remove any of the bore plugs unless inspection indicates that replacement is necessary.

  1. Remove the manual valve (404).
  2. Remove the 3-4 accumulator piston cylinder (421) and the 3-4 accumulator piston O-ring seal (422). Use low pressure compressed air from the valve body side if necessary for removal.
  3. Remove the 3-4 accumulator piston outer spring (423) and inner spring (424).
  4. Remove the 3-4 accumulator piston (428).
  5. Remove the 3-4 accumulator piston pin (426) from the valve body side of the case cover (401).

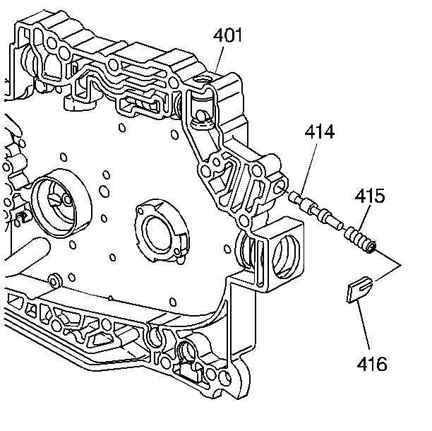
  6. Object Number: 400527  Size: SH

    Caution: Valve Springs can be tightly compressed. Use care when removing retainers and plugs. Personal injury could result.

  7. Remove the actuator feed limit valve spring retainer (416).
  8. Remove the actuator feed limit valve spring (415).
  9. Remove the actuator feed limit valve (414).