GM Service Manual Online
For 1990-2009 cars only
Makes
🢒
Generic
🢒
1999
🢒
Unit Repair
🢒
Transmission/Transaxle
🢒
Automatic Transaxle - 4T65-E
🢒 Thermo Element Adjustment
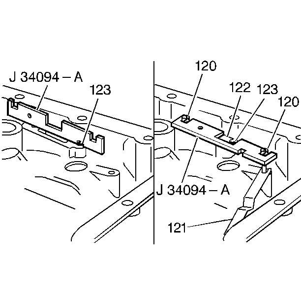
Tools Required
J 34094-A
Thermal Element Height Gauge
Remove the thermo element plate pins (120).
Remove the thermo element (121) and the thermo element plate (122).
Use
J 34094-A
in order to set the height of the thermo element plate center pin (123).
Install the thermo element plate (122).
Use
J 34094-A
in order to set the height of the thermo element plate pin (120) that is farthest from the accumulators.
Use
J 34094-A
in order to set the height of the second thermo element plate pin (120).
Carefully install the thermo element (121) between the two thermo element plate pins (120).
The V in the thermo element (121) must contact the thermo element plate (123).