GM Service Manual Online
For 1990-2009 cars only
Figure 1:

Transaxle Major Components


Object Number: 13235  Size: LF
(1)Torque Converter Assembly
(2)Manual Shaft
(3)2nd Clutch
(4)Reverse Clutch
(5)3rd Clutch
(6)Forward Clutch
(7)Coast Clutch
(8)Low Roller Clutch Assembly
(9)Output Speed Sensor Assembly
(10)Differential Assembly
(11)Output Shaft (Differential Side Gear)
(12)Final Drive Assembly
(13)Lube Fitting
(14)Forward Sprag Clutch Assembly
(15)Low/Reverse Servo Assembly
(16)Input Planetary Gear Set
(17)Reaction Planetary Gear Set
(18)Reverse Accumulator
(19)Forward Accumulator
(20)1-2 Accumulator
(21)4th Servo
(22)3-4 Accumulator
(23)2nd Sprag Clutch Assembly
(24)Drive Link Assembly
(25)Output Shaft
(26)Driven Sprocket
(27)Input Speed Sensor Assembly
(28)Upper Control Valve Body Assembly
(29)Secondary Pump Assembly
(30)Primary Pump Assembly
(31)Scavenge Pump Assembly
(32)Drive Sprocket
Figure 2:

Case and Associated Parts (1 of 3)


Object Number: 15542  Size: LF
(1)Torque Converter Assembly
(3)Cooler Connector, Return (Case) (1, 19 mm)
(4)Connector, O-Ring Cooler (Return)
(5)Stud, Case to Forward Clutch Support (2, 13 mm)
(6)Transmission Case
(8)Plug, Oil Drain -- Bottom Pan to Case Cover
(9)Pin, Anchor (Lo and Reverse)
(10)Pin, Anchor (4th Band)
(15)Bolt, (4, 8 mm)
(51)Screen, Scavenge (Left)
(52)Screen, Scavenge (Right)
(53)Seal, Scavenge Tube and Screens
(53)Seal, Scavenge Tube and Screens
(53)Seal, Scavenge Tube and Screens
(54)Tube, Scavenge
(59)Pan Transaxle Oil
(60)Magnet, Chip Collector
(61)Gasket, Oil Pan
(62)Bolt, Bottom Pan to Case (16, 10 mm)
(124)Bushing, Case Extension
(125)Seal, Axle to Case Extension
(126)Seal, Case Extension to Case
(127)Stud, Case Extension to Case (1, 15 mm)
(128)Bolt, Case Extension to Case (4, 13 mm)
(129)Bolt, Case Extension to Case (1, 10 mm)
(130)Sensor, Speed Output Assembly
(131)Bolt, Output Speed Sensor (1)
(134)Extension, Transmission Case
(524)Cover, 4th Servo
(525)Seal, Servo Cover
(527)Pin, 4th Servo
(529)Piston, 4th Servo
(531)Ring, Snap
(532)Seal, 4th Servo Piston
(533)Spring and Retainer Assembly, 4th Servo
(533)Spring and Retainer Assembly, 4th Servo
(534)Bolt, (23, 10 mm)
(534)Bolt, (23, 10 mm)
(534)Bolt, (23, 10 mm)
(903)Channel Plate, Control Valve Body and Accumulator Housing Assembly
(955)Nut, Channel Plate to Case (2, 10 mm)
(956)Plate, Oil Transfer
(958)Bolt, Channel Plate to Case (2, 10 mm)
Figure 3:

Case and Associated Parts (2 of 3)


Object Number: 205150  Size: LF
(2)Oil Pump Driven Shaft
(6)Transmission Case
(28)Side Cover To Case Cover Bolt (8, 15 mm)
(29)Side Cover
(30)Side Cover To Case Cover Gasket
(31)Fluid Level Indicator
(32)Side Cover To Case Cover Bolt (1, 13 mm)
(65)Checkball (10)
(66)Side Cover To Case Cover Stud (Some Models)
(200)Primary Pump Body
(201)Primary Pump Drive Gear
(202)Primary Pump Driven Gear
(203)Secondary Pump Body
(204)Scavenge Pump Bushing
(205)Secondary Pump Drive Gear
(206)Secondary Pump Driven Gear
(207)Oil Pump Driven Shaft
(209)Filter Seal
(225)Scavenge Pump Body Assembly
(228)Secondary Pump Body To Spacer Plate Gasket
(229)Bolt (4, 8 mm)
(231)Pump Assembly To Case Bolt (2, 8 mm)
(232)Pump Assembly To Case Cover Bolt (5, 8 mm)
(233)Pump Assembly To Case Cover Bolt (5, 8 mm)
(234)Secondary Pump To Case Cover Bolt (1, 8 mm)
(235)Secondary Pump To Case Bolt
(236)Transmission Oil Filter
(240)Stud, Auxilary Control Valve Body Cover (Some Models)
(300)Upper Control Valve Body Assembly
(326)Valve Body To Spacer Plate Gasket
(327)Case Cover assembly Spacer Plate
(328)Spacer Plate To Case Cover Gasket
(329)Upper Valve Body To Case Cover Bolt (9, 8 mm)
(330)Upper Valve Body To Case Cover Bolt (2, 8 mm)
(331)Bolt (6, 8 mm)
(350)Temperature Sensor (1, 17 mm)
Figure 4:

Case and Associated Parts (3 of 3)


Object Number: 15546  Size: LF
(6)Transmission Case
(12)Wiring Harness Assembly
(14)Input Speed Sensor Assembly
(15)Bolt (4, 8 mm)
(33)Transmission Case Cover
(34)Case Cover to Drive Sprocket Seal
(35)Case Cover to Turbine Shaft Seal
(37)Case Cover Axle Seal
(38)To Cooler From Case Cover Cooler Connector (1, 19 mm)
(39)Cooler Connector O-Ring Seal
(40)Case Cover Oil Test Plug - #40 Torx
(41)Transmission Vent Adapter
(43)Sprocket Support to Case Cover Gasket
(44)Case to Case Cover Gasket
(45)Case Cover to Case Stud (1, 13 mm)
(46)Case Cover to Case Bolt (8, 10 mm)
(47)Case Cover to Case Stud (2, 13 mm)
(48)Case Cover to Driven Sprocket Support Bolt (3, 10 mm)
(49)Case Cover to Case Stud (1, 10 mm)
(50)Case Cover to Case Bolt (11, 13 mm)
(50)Case Cover to Case Bolt (11, 13 mm)
(56)Output Shaft Snap Ring (3)
(56)Output Shaft Snap Ring (3)
(57)Output Shaft
(67)Case Cover to Case Stud (1, 13 mm)
(132)Thrust Bearing
(400)Drive Sprocket Support
(401)Converter Hub Bushing
(402)Front Stator Shaft Bushing
(403)Converter Hub Assembly Seal Assembly
(404)Drive Sprocket Support to Case Bolt (6, 8 mm)
(405)Drive Sprocket Support to Case Seal
(407)Drive Sprocket
(408)Ball Bearing (2)
(408)Ball Bearing (2)
(409)Drive Sprocket Oil Seal Ring
(410)Turbine Shaft
(411)Snap Ring
(412)O-Ring Seal
(414)Drive Link Assembly
(415)Driven Sprocket
(417)Bearing, Thrust
(440)Bearing, Thrust
Figure 5:

Scavenge, Primary and Secondary Fluid Pump Assemblies


Object Number: 15548  Size: LF
(200)Primary Pump Body
(201)Primary Pump Drive Gear
(202)Primary Pump Driven Gear
(203)Secondary Pump Body
(203)Secondary Pump Body
(204)Scavenge Pump Bushing
(205)Secondary Pump Drive Gear
(206)Secondary Pump Driven Gear
(207)Oil Pump Driven Shaft Assembly
(208)Oil Pump Driven Shaft Thrust Washer
(209)Filter Seal
(210)Pressure Regulator Spring Retainer
(211)Pressure Regulator Valve
(212)Pressure Regulator Valve Spring
(213)Pressure Regulator Boost Valve
(214)Pressure Regulator Boost Valve Sleeve
(215)Retainer Clip (2)
(215)Retainer Clip (2)
(216)Secondary Pump Cut-Off Ball
(217)Pump Ball Seat
(219)Scavenge Driven Gear Pin
(219)Scavenge Driven Gear Pin
(223)Scavenge Pump Drive Gear
(224)Scavenge Pump Driven Gear (2)
(224)Scavenge Pump Driven Gear (2)
(225)Scavenge Pump Body
(226)Pump Cover to Scavenge Cover Bolt (2)
(227)Dowel Bushings (2)
(227)Dowel Bushings (2)
(237)Scavenge Pump Cover
Figure 6:

Upper Control Valve Body Assembly


Object Number: 15550  Size: LF
(15)PC Solenoid Clamp Bolt
(65)Oil Hole Plug Ball
(300)Upper Control Valve Body
(301)Accumulator Boost Valve
(302)1-2 / 3-4 Accumulator Valve
(303)1-2 / 3-4 Accumulator Valve Bushing
(304)Coiled Spring Pin (2)
(304)Coiled Spring Pin (2)
(306)2-3 Accumulator Valve
(307)Bore Plug (4)
(307)Bore Plug (4)
(307)Bore Plug (4)
(307)Bore Plug (4)
(308)Retainer Clip (4)
(308)Retainer Clip (4)
(308)Retainer Clip (4)
(308)Retainer Clip (4)
(309)Actuator Feed Limit Valve
(310)Actuator Feed Limit Spring
(311)Spring Retainer Plate
(312)Converter Feed Limit Valve
(313)Converter Feed Limit Spring
(316)Converter Clutch Control Spring
(317)Converter Clutch Control Valve
(318)Converter Regulator Valve
(319)Converter Clutch Regulator Spring
(322)TCC Enable Valve
(323)TCC Enable Valve Spring
(336)TCC Pressure Solenoid
(337)Spring Retainer Clip
(338)Pressure Control Solenoid Filter and Seal
(339)Pressure Control Solenoid (PCS)
(340)PC Solenoid Clamp (PCS Clamp)
(343)Orificed Cup Plug
(345)2-3 Accumulator Piston
(346)2-3 Accumulator Piston Seal
(347)2-3 Accumulator Piston Spring
(348)2-3 Accumulator Pin
(349)Snap Ring
(349)Snap Ring
(350)Temperature Sensor
(351)2-3 Accumulator Piston Cushion Spring
Figure 7:

Lower Channel Plate, Control Valve Body and Accumulator Housing Assembly


Object Number: 15552  Size: LF
(65)Checkballs (8)
(534)Channel Plate to LCVB Bolt (1, 10 mm) - Channel Plate to Accumulator Housing Bolt (3, 10 mm) - Accumulator Housing to Channel Plate Bolt (1, 10 mm)
(534)Channel Plate to LCVB Bolt (1, 10 mm) - Channel Plate to Accumulator Housing Bolt (3, 10 mm) - Accumulator Housing to Channel Plate Bolt (1, 10 mm)
(900)Lower Channel Plate
(903)Channel Plate/Control Valve and Housing Assembly
(935)Space/Gasket Plate Assembly
(936)Transmission Fluid Pressure Manual Valve Position Switch
(937)Spacer Plate Support Cover
(938)LCVB to Channel Plate Bolt (5, 10 mm)
(939)Spacer Plate Support to Channel Plate Bolt (3, 8 mm)
(940)LCVB to Channel Plate Bolt (2, 10 mm)
(941)LCVB to Channel Plate Bolt (8, 10 mm)
(941)LCVB to Channel Plate Bolt (8, 10 mm)
(944)Accumulator Housing
(951)Accumulator Assembly to Channel Plate Bolt (1, 10 mm)
(952)Accumulator Assembly to Channel Plate Bolt (3, 10 mm)
(954)Accumulator Assembly to Channel Plate Bolt (1, 10 mm)
(971)1-2 Accumulator Inner Spring Assembly
(981)Pressure Control Solenoid Valve Fluid Filter Retainer
Figure 8:

Lower Control Valve Body Assembly


Object Number: 15554  Size: LF
(308)Retainer Clip (3)
(308)Retainer Clip (3)
(308)Retainer Clip (3)
(901)Return Spring
(902)Retaining Ring
(903)Lower Control Valve Body
(904)Spring Retainer
(905)Ball Check Capsule
(906)2-3 Shift Valve Spring
(907)2-3 Shift Valve C
(908)2-3 Shift Valve D
(909)1-2 and 2-3 Shift Solenoid
(909)1-2 and 2-3 Shift Solenoid
(911)3-4 Shift Valve Spring
(912)3-4 Shift Valve
(914)Bore Plug
(915)Manual Link and Clip Assembly
(916)Manual Valve
(917)Solenoid Screen Assembly
(918)1-2 Shift Valve Spring
(919)1-2 Shift Valve A
(920)1-2 Shift Valve B
(921)Reverse Orifice Bypass Valve
(922)Reverse Orifice Bypass Valve Spring
(923)Coiled Spring Flag Pin
(924)Forward Orifice Bypass Valve
(925)Forward Orifice Bypass Valve Spring
(926)Coiled Spring Flag Pin
(928)Low/Reverse Servo Piston
(929)Low/Reverse Servo Seal (Small)
(930)Low/Reverse Servo Seal (Large)
(931)Low/Reverse Servo Apply Pin
(932)Retaining Ring
(933)Servo Cushion Spring Washer
(934)Servo Cushion Spring
(979)Ball (0.375 Diameter)
(980)Low/Reverse Cushion Sleeve
Figure 9:

Accumulator Assembly


Object Number: 186641  Size: LF
(65)Oil Hole Ball Plug (Staked in Casting)
(349)Snap Ring (5)
(349)Snap Ring (5)
(349)Snap Ring (5)
(349)Snap Ring (5)
(349)Snap Ring (5)
(944)Accumulator Housing
(946)Reverse Accumulator Piston
(947)Reverse Accumulator Piston Seal
(948)Reverse Accumulator Pin
(949)Reverse Accumulator Spring
(950)3-4 Accumulator Spring
(960)Forward Accumulator Piston
(961)Forward Accumulator Seal
(962)Forward Accumulator Pin
(963)Forward Accumulator Spring
(964)Accumulator Housing Cover Gasket
(965)Accumulator Housing Cover
(966)Accumulator Cover Bolt (5, 8 mm)
(968)1-2 Accumulator Piston
(969)1-2 Accumulator Piston Seal
(970)1-2 Accumulator Pin
(971)1-2 Accumulator Inner Spring Assembly
(973)1-2 Accumulator Spring
(975)3-4 Accumulator Piston
(976)3-4 Accumulator Piston Seal
(977)3-4 Accumulator Pin
Figure 10:

Driven Sprocket Support and 2nd Clutch Assembly


Object Number: 15557  Size: MF
(53)Scavenger Tube Seal
(418)Driven Sprocket Support
(419)Oil Transfer Sleeve
(422)Oil Ring (2)
(422)Oil Ring (2)
(423)4 Lobe Seal Ring (2)
(423)4 Lobe Seal Ring (2)
(424)Spring Pin
(425)3rd Clutch Exhaust Valve Spring
(427)3rd Clutch Exhaust Valve
(428)2nd Clutch Return Spring and Retainer Assembly
(429)2nd Clutch/Driven Sprocket Snap Ring
(430)2nd Clutch Piston Assembly
(431)2nd Clutch Waved Plate
(432)2nd Clutch Apply Plate
(433)2nd Clutch Steel Plate (3)
(433)2nd Clutch Steel Plate (3)
(433)2nd Clutch Steel Plate (3)
(434)2nd Clutch Backing Plate
(435)2nd Clutch Fiber Plate (4)
(435)2nd Clutch Fiber Plate (4)
(435)2nd Clutch Fiber Plate (4)
(435)2nd Clutch Fiber Plate (4)
(436)Support/Reverse Clutch Thrust Washer
(437)0.1875 Diameter Checkball
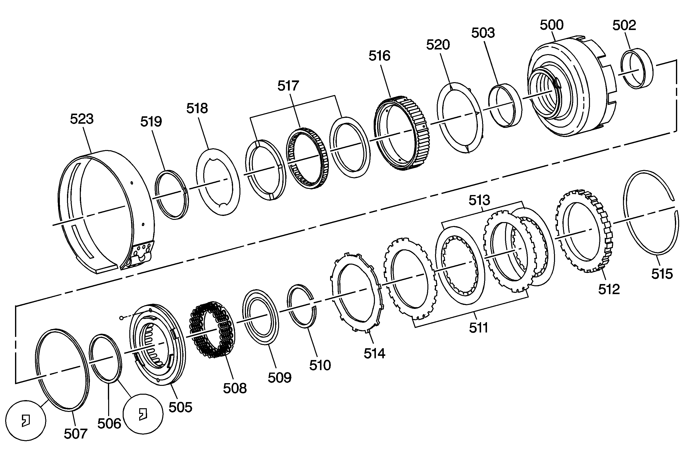
Figure 11:

Reverse Clutch and 2nd Sprag Clutch Assemblies


Object Number: 412932  Size: MF
(500)Reverse Clutch Housing and Race Assembly
(502)Bushing (Small)
(503)Bushing (Large)
(505)Reverse Clutch Piston Assembly
(506)Seal (Inner)
(507)Seal (Outer)
(508)Spring and Retainer Assembly
(509)Snap Ring Retainer
(510)Return Spring Snap Ring
(511)Reverse Clutch Plate (Steel) (2)
(512)Reverse Clutch Backing Plate (Selective)
(513)Reverse Clutch Plate Assembly (Fiber) (2)
(514)Waved Plate (Apply)
(515)Snap Ring
(516)2nd Sprag Race (Outer)
(517)2nd Sprag Clutch Assembly
(518)2nd Sprag Clutch Retainer
(519)Locking Ring
(520)2nd Clutch Outer Race Washer
(523)4th Band
Figure 12:

3rd Clutch and Reaction Carrier Assembly


Object Number: 15563  Size: LF
(515)Snap Ring
(521)Thrust Bearing Assembly
(522)Driven Sprocket Support Thrust Washer (Selective)
(602)Input Shaft Bushing
(603)Input Shaft/Oil Transfer Sleeve
(604)3rd Clutch Housing
(606)3rd Clutch Piston Assembly
(607)Spring and Retainer Assembly
(608)Snap Ring Retainer
(609)Return Spring Snap Ring
(610)3rd Clutch Plate Assembly (Fiber) (4)
(611)3rd Clutch Apply Plate (Steel)
(612)3rd Clutch Plate (Steel) (3)
(613)3rd Clutch Backing Plate
(614)Oil Seal Ring (2)
(615)Input Shaft/3rd Hub Thrust Washer
(616)Input Shaft/Input Sun Gear Snap Ring
(617)3rd Clutch Hub
(618)Hub Bushing
(619)Hub/Gear and Shell Thrust Bearing Assembly (2)
(619)Hub/Gear and Shell Thrust Bearing Assembly (2)
(620)Reaction Sun Gear and Shell Assembly
(622)Reaction Sun Gear Bushing
(623)Reaction Carrier
(625)Planet Pinion (4)
(626) Planet Pinion Pin (4)
(627)Roller Bearing Needle (68)
(628)Steel Pinion Thrust Washer (8)
(628)Steel Pinion Thrust Washer (8)
(629)Bronze Pinion Thrust Washer (8)
(629)Bronze Pinion Thrust Washer (8)
(631)Input Sun Gear
(640)Input Sun Gear to Reaction Carrier Thrust Bearing
Figure 13:

Input Carrier and Forward Sprag Clutch Assemblies


Object Number: 15564  Size: MF
(132)Thrust Bearing Assembly
(626)Planet Pinion Pin (4)
(627)Roller Bearing Needle (68)
(628)Steel Pinion Thrust Washer (8)
(628)Steel Pinion Thrust Washer (8)
(633)Reaction Carrier Shell
(700)Input Carrier Assembly
(702)Planet Pinions (4)
(706)Bronze Thrust Washer (8)
(706)Bronze Thrust Washer (8)
(708)Internal Gear (2)
(708)Internal Gear (2)
(709)Snap Ring (2)
(709)Snap Ring (2)
(710)Thrust Bearing Assembly
(713)Thrust Washer (Flange To Outer Race)
(716)Forward Clutch Sprag Assembly
(717)Snap Ring (Coast Clutch Hub Retainer)
(718)Thrust Bearing (Flange/Forward Clutch Housing)
(719)Coast Clutch Hub
(720)Thrust Washer (Race/Coast Clutch Hub)
(721)Forward Sprag Race (Outer)
(722)Final Drive Sun Gear Shaft
(723)Input Flange Bushing
(724)Snap Ring (Final Drive Shaft/Input Carrier)
(725)Input Internal Gear Flange
Figure 14:

Forward Clutch Assembly


Object Number: 15569  Size: MF
(417)Thrust Bearing
(437)0.1875 Diameter Checkball
(801)Forward and Coast Clutch Housing
(803)Housing Bushing (Small)
(804)Housing Bushing (Large)
(807)Forward Clutch Piston
(808)Seal (Inner)
(809)Seal (Outer)
(810)Coast Clutch Piston Assembly
(811)Forward Clutch Ring (Apply)
(812)Coast Clutch Plate (Apply)
(813)Coast Clutch Plate (Steel)
(814)Coast Clutch Plate (Fiber) (2)
(816)Forward Clutch Plate (Steel) (4)
(817)Forward Clutch Plate (Fiber) (5)
(818)Snap Ring (Forward Clutch Backing Plate)
(819)Forward Clutch Backing Plate
(820)Forward Clutch Release Spring Assembly
(821)Snap Ring (Forward Return Spring Assembly/Housing)
(840)Forward and Coast Clutch Plate (2)
(840)Forward and Coast Clutch Plate (2)
(841)Forward and Coast Clutch Plate (Belleville)
Figure 15:

Forward Clutch Support Assembly


Object Number: 15572  Size: MF
(13)Low/Reverse Band
(120)Final Drive Internal Gear
(121)Final Drive Sun Gear
(122)Final Drive Sun Gear Seal
(135)Snap Ring
(822)Forward/Coast Clutch Support
(824)Oil Transfer Sleeve
(825)Left Support/Sun Shaft Bushing
(826)Right Support/Sun Shaft Bushing
(827)Oil Hole Plug Ball (2)
(828)Cooler Return Seal
(829)Support/Housing Oil Seal Ring
(830)Low Roller Clutch Assembly
(832)Forward Clutch Support/Park Gear Thrust Bearing
(833)Parking Lock Gear
(834)Final Drive Shaft to Park Gear Snap Ring
(835)Support/Case Fretting Ring
Figure 16:

Final Drive Assembly


Object Number: 15575  Size: MF
(56)Output Shaft Snap Ring
(56)Output Shaft Snap Ring
(100)Final Drive Carrier
(101)Differential Carrier Dowel (2)
(101)Differential Carrier Dowel (2)
(102)Sun Gear/Carrier Thrust Bearing
(103)Final Drive Planet Pinion (4)
(104)Final Drive Planet Pinion Pin (4)
(105)Roller Needle Bearings (76)
(106)Final Drive Pinion Steel Thrust Washers (8)
(106)Final Drive Pinion Steel Thrust Washers (8)
(107)Final Drive Pinion Bronze Thrust Washers (8)
(107)Final Drive Pinion Bronze Thrust Washers (8)
(108)Final Drive Carrier Retainer
(109)Rolled Pin
(110)Differential Carrier
(111)Right Differential Thrust Washer
(112)Right Differential Side Gear
(113)Differential Pinion Thrust Washer (2)
(113)Differential Pinion Thrust Washer (2)
(114)Differential Pinion Shaft
(115)Differential Pinion Shaft Retaining Pin
(116)Differential Pinion Gears (2)
(116)Differential Pinion Gears (2)
(117)Left Differential Thrust Washer
(118)Left Differential Side Gear
(119)Differential Carrier to Final Drive Carrier Bolt
(132)Thrust Bearing Assembly
(133)Differential Carrier/Case Extension Selective Thrust Washer
Figure 17:

Parking Pawl, Actuator Assembly and Manual Shaft


Object Number: 412934  Size: LF
(8)Drain Plug
(16)Manual Shaft
(17)Inside Detent Lever
(18)Manual Shaft To Detent Lever Nut
(20)Manual Shaft Seal
(21)Park Lock Actuator Assembly
(22)Parking Lock Pawl
(23)Parking Pawl Pivot Pin
(25)Parking Pawl Return Spring
(26)Detent Lever and Roller Assembly
(27)Detent Spring
Figure 18:

Bushings, Bearings and Washers


Object Number: 15580  Size: LF
(102)Final Drive Sun Gear/Final Drive Carrier Thrust Bearing
(111)Right Differential Thrust Washer
(117)Left Differential Thrust Washer
(124)Case Extension Bushing
(132)Thrust Bearing Assembly
(132)Thrust Bearing Assembly
(132)Thrust Bearing Assembly
(133)Differential Carrier/Case Extension Selective Thrust Washer
(208)Oil Pump Driven Shaft Thrust Washer
(401)Converter Hub Bushing
(402)Front Stator Shaft Bushing
(408)Ball Bearing (2)
(417)Thrust Bearing
(419)Oil Transfer Sleeve
(436)Support/Reverse Clutch Thrust Washer
(440)Thrust Bearing
(502)Small Bushing
(503)Large Bushing
(520)2nd Clutch Outer Race Washer
(521)Thrust Bearing
(522)Driven Sprocket Support Selective Thrust Washer
(602)Input Shaft Bushing
(603)Input Shaft/Oil Transfer Sleeve
(615)Input Shaft/3rd Hub Thrust Washer
(618)Hub Bushing
(619)Thrust Bearing Assembly
(622)Reaction Sun Gear Bushing
(710)Thrust Bearing Assembly
(713)Flange to Outer Race Thrust Washer
(718)Flange/Forward Clutch Housing Thrust Bearing
(720)Race/Coast Clutch Hub Thrust Washer
(723)Input Flange Bushing
(803)Small Housing Bushing
(804)Large Housing Bushing
(824)Oil Transfer Sleeve
(825)Left Support/Sun Shaft Bushing
(826)Right Support/Sun Shaft Bushing
(832)Forward Clutch Support/Park Gear Thrust Bearing
Figure 19:

Seals


Object Number: 15579  Size: LF
(4)Connector, O-Ring Cooler (Return)
(30)Gasket, Side Cover to Case Cover
(34)Seal, Case Cover to Drive Sprocket
(35)Seal, Case Cover to Turbine Shaft
(37)Seal, Axle Case Cover
(122)Seal, Final Drive Sun Gear
(125)Seal, Axle to Case Extension
(126)Seal, Case Extension to Case
(130)Sensor, Speed Output Assembly
(209)Seal, Filter
(346)Seal, 2-3 Accumulator Piston
(403)Seal, Converter Hub Assembly
(409)Ring, Drive Sprocket Oil Seal
(412)Seal, O-Ring
(423)Ring, 4 Lobe Seal (2)
(430)Piston Assembly, 2nd Clutch
(506)Seal (Inner)
(507)Seal (Outer)
(525)Seal, Servo Cover
(532)Seal, 4th Servo Piston
(606)Piston Assembly, 3rd Clutch
(614)Ring, Oil Seal (2)
(808)Seal (Inner)
(809)Seal (Outer)
(810)Piston Assembly, Coast Clutch
(828)Seal, Cooler Return
(829)Ring, Oil Seal (Support/Housing) (3)
(929)Seal, Low/Reverse Servo (Small)
(930)Seal, Low/Reverse Servo (Large)
(947)Seal, Reverse Accumulator
(961)Seal, Forward Accumulator
(969)Seal, 1-2 Accumulator
(976)Seal, 3-4 Accumulator
Figure 20:

Scavenge Pump Body Fluid Passages (Scavenge Pump Cover Side)


Object Number: 186642  Size: MF
(1)Left Scavenge Suction
(1)Left Scavenge Suction
(2)Right Scavenge Suction
(2)Right Scavenge Suction
(3)Scavenge Outlet
(3)Scavenge Outlet
(3)Scavenge Outlet
(3)Scavenge Outlet
(56)Void
(56)Void
Figure 21:

Scavenge Pump Cover Fluid Passages (Scavenge Pump Body Side)


Object Number: 20638  Size: MF
(1)Left Scavenge Suction
(2)Right Scavenge Suction
(3)Scavenge Outlet
(56)Void
Figure 22:

Scavenge Pump Cover Fluid Passages (Primary Pump Body Side)


Object Number: 20637  Size: MF
(1)Left Scavenge Suction
(2)Right Scavenge Suction
(2)Right Scavenge Suction
(3)Scavenge Outlet
(3)Scavenge Outlet
(3)Scavenge Outlet
(4)Main Pump Suction
(5)Sump
(5)Sump
(6)Line
(6)Line
(56)Void
(56)Void
(56)Void
Figure 23:

Primary Pump Body Fluid Passages (Scavenge Pump Cover Side)


Object Number: 20636  Size: MF
(1)Left Scavenge Suction
(2)Right Scavenge Suction
(3)Scavenge Outlet
(4)Main Pump Suction
(5)Sump
(6)Line
(56)Void
Figure 24:

Primary Pump Body Fluid Passages (Secondary Pump Body Side)


Object Number: 20634  Size: MF
(1)Left Scavenge Suction
(2)Right Scavenge Suction
(3)Scavenge Outlet
(4)Main Pump Suction
(5)Sump
(6)Line
(7)Secondary line
(56)Void
Figure 25:

Secondary Pump Body Fluid Passages (Primary Pump Body Side)


Object Number: 25403  Size: MF
(1)Left Scavenge Suction
(2)Right Scavenge Suction
(3)Scavenge Outlet
(4)Main Pump Suction
(6)Line
(7)Secondary Line
(56)Void
(216)Secondary Pump Cut-Off Ball
Figure 26:

Secondary Pump Body Fluid Passages (Case Cover Side)


Object Number: 25397  Size: LF
(216)Secondary Pump Cut-Off Ball
(1)Left Scavenge Suction
(2)Right Scavenge Suction
(4)Main Pump Suction
(6)Line
(7)Secondary Line
(8)Converter Feed
(9)Lube 2
(11)Converter Release
(22)Torque Signal
(32)Reverse
(40)3rd Clutch
(56)Void
Figure 27:

Gasket Fluid Passages (Secondary Pump Body to Spacer Plate)


Object Number: 186643  Size: MF
(1)Left Scavenge Suction
(2)Right Scavenge Suction
(4)Main Pump Suction
(4)Main Pump Suction
(6)Line
(6)Line
(6)Line
(8)Converter Feed
(8)Converter Feed
(8)Converter Feed
(9)Lube 2
(11)Converter Release
(11)Converter Release
(11)Converter Release
(22)Torque Signal
(22)Torque Signal
(22)Torque Signal
(32)Reverse
(40)3rd Clutch
(40)3rd Clutch
(56)Void
(56)Void
(56)Void
(56)Void
(56)Void
(56)Void
(56)Void
(56)Void
(56)Void
(56)Void
Figure 28:

Upper Control Valve Body Fluid Passages (Case Cover Side)


Object Number: 25420  Size: MF
(6)Line
(8)Converter Feed
(10)TCC Feed Limit
(10)TCC Feed Limit
(10)TCC Feed Limit
(11)Converter Release
(12)Converter Apply
(13)TCC Exhaust Enable
(15)To Cooler
(20)Actuator Feed
(20)Actuator Feed
(21)Filtered Actuator Feed
(22)Torque Signal
(22)Torque Signal
(27)Primary Accumulator
(27)Primary Accumulator
(30)Secondary 2-3 Accumulator
(31)2-3 Accumulator
(31)2-3 Accumulator
(40)3rd Clutch
(40)3rd Clutch
(40)3rd Clutch
(41)Filtered 3rd Clutch
(41)Filtered 3rd Clutch
(45)Regulated Apply
(45)Regulated Apply
(45)Regulated Apply
(46)TCC Control
(46)TCC Control
(52)Exhaust
(52)Exhaust
(56)Void
(56)Void
(56)Void
Figure 29:

Gasket Fluid Passages (Upper Control Valve Body to Spacer Plate)


Object Number: 25406  Size: MF
(6)Line
(8)Converter Feed
(10)TCC Feed Limit
(11)Converter Release
(12)Converter Apply
(13)TCC Exhaust Enable
(14)Orifice TCC Exhaust Enable
(15)To Cooler
(20)Actuator Feed
(22)Torque Signal
(27)Primary Accumulator
(29)1-2 Accumulator
(30)Secondary 2-3 Accumulator
(31)2-3 Accumulator
(40)3rd Clutch
(41)Filtered 3rd Clutch
(42)Orificed 3rd Clutch
(45)Regulated Apply
(46)TCC Control
Figure 30:

Spacer Plate Fluid Passages (Secondary Pump Body and Upper Control Valve Body to Case Cover)


Object Number: 25404  Size: MF
(1)Left Scavenge Suction
(2)Right Scavenge Suction
(4)Main Pump Suction
(4)Main Pump Suction
(9)Lube 2
(10)TCC Feed Limit
(11)Converter Release
(12)Converter Apply
(13)TCC Exhaust Enable
(14)Orifice TCC Exhaust Enable
(15)To Cooler
(27)Primary Accumulator
(30)Secondary 2-3 Accumulator
(31)2-3 Accumulator
(31)2-3 Accumulator
(32)Reverse
(41)Filtered 3rd Clutch
(42)Orificed 3rd Clutch
(45)Regulated Apply
(46)TCC Control
Figure 31:

Gasket Fluid Passages (Spacer Plate to Case Cover)


Object Number: 186644  Size: MF
(1)Left Scavenge Suction
(2)Right Scavenge Suction
(4)Main Pump Suction
(4)Main Pump Suction
(6)Line
(6)Line
(6)Line
(6)Line
(6)Line
(6)Line
(6)Line
(6)Line
(8)Converter Feed
(8)Converter Feed
(8)Converter Feed
(8)Converter Feed
(8)Converter Feed
(9)Lube 2
(10)TCC Feed Limit
(10)TCC Feed Limit
(10)TCC Feed Limit
(11)Converter Release
(11)Converter Release
(11)Converter Release
(11)Converter Release
(12)Converter Apply
(13)TCC Exhaust Enable
(13)TCC Exhaust Enable
(13)TCC Exhaust Enable
(15)To Cooler
(20)Actuator Feed
(20)Actuator Feed
(22)Torque Signal
(22)Torque Signal
(22)Torque Signal
(22)Torque Signal
(22)Torque Signal
(22)Torque Signal
(27)Primary Accumulator
(27)Primary Accumulator
(30)Secondary 2-3 Accumulator
(30)Secondary 2-3 Accumulator
(30)Secondary 2-3 Accumulator
(30)Secondary 2-3 Accumulator
(31)2-3 Accumulator
(31)2-3 Accumulator
(32)Reverse
(32)Reverse
(40)3rd Clutch
(40)3rd Clutch
(40)3rd Clutch
(40)3rd Clutch
(40)3rd Clutch
(40)3rd Clutch
(41)Filtered 3rd Clutch
(41)Filtered 3rd Clutch
(42)Orificed 3rd Clutch
(42)Orificed 3rd Clutch
(45)Regulated Apply
(45)Regulated Apply
(45)Regulated Apply
(45)Regulated Apply
(46)TCC Control
(46)TCC Control
Figure 32:

Case Cover Fluid Passages (Secondary Pump Body and Upper Control Valve Body Side)


Object Number: 25409  Size: MF
(1)Left Scavenge Suction
(2)Right Scavenge Suction
(4)Main Pump Suction
(5)Sump
(5)Sump
(8)Converter Feed
(9)Lube 2
(10)TCC Feed Limit
(11)Converter Release
(11)Converter Release
(12)Converter Apply
(13)TCC Exhaust Enable
(15)To Cooler
(20)Actuator Feed
(22)Torque Signal
(30)Secondary 2-3 Accumulator
(32)Reverse
(40)3rd Clutch
(41)Filtered 3rd Clutch
(42)Orificed 3rd Clutch
(45)Regulated Apply
(46)TCC Control
(55)Overflow
(56)Void
(56)Void
(56)Void
Figure 33:

Case Cover Fluid Passages (Case Side)


Object Number: 25411  Size: MF
(1)Left Scavenge Suction
(1)Left Scavenge Suction
(2)Right Scavenge Suction
(2)Right Scavenge Suction
(5)Sump
(5)Sump
(5)Sump
(5)Sump
(6)Line
(9)Lube 2
(9)Lube 2
(15)To Cooler
(20)Actuator Feed
(20)Actuator Feed
(27)Primary Accumulator
(27)Primary Accumulator
(32)Reverse
(32)Reverse
(33)Reverse Clutch
(39)2nd Clutch
(40)3rd Clutch
(42)Orificed 3rd Clutch
(54)Drain
(55)Overflow
Figure 34:

Seal Fluid Passages (Case Cover to Case and Driven Sprocket Support)


Object Number: 186645  Size: MF
(1)Left Scavenge Suction
(1)Left Scavenge Suction
(1)Left Scavenge Suction
(1)Left Scavenge Suction
(2)Right Scavenge Suction
(2)Right Scavenge Suction
(5)Sump
(5)Sump
(5)Sump
(5)Sump
(5)Sump
(5)Sump
(5)Sump
(5)Sump
(5)Sump
(5)Sump
(5)Sump
(5)Sump
(5)Sump
(5)Sump
(5)Sump
(5)Sump
(5)Sump
(6)Line
(6)Line
(6)Line
(6)Line
(9)Lube 2
(20)Actuator Feed
(20)Actuator Feed
(20)Actuator Feed
(27)Primary Accumulator
(27)Primary Accumulator
(27)Primary Accumulator
(32)Reverse
(32)Reverse
(32)Reverse
(33)Reverse Clutch
(33)Reverse Clutch
(39)2nd Clutch
(39)2nd Clutch
(40)3rd Clutch
(40)3rd Clutch
(40)3rd Clutch
(40)3rd Clutch
(42)Orificed 3rd Clutch
(43)4th Band Feed
(54)Drain
(55)Void
Figure 35:

Case and Driven Sprocket Support Fluid Passages (Case Cover Side)


Object Number: 25421  Size: MF
(1)Left Scavenge Suction
(1)Left Scavenge Suction
(1)Left Scavenge Suction
(2)Right Scavenge Suction
(5)Sump
(5)Sump
(5)Sump
(5)Sump
(6)Line
(9)Lube 2
(16)Lube
(20)Actuator Feed
(27)Primary Accumulator
(32)Reverse
(33)Reverse Clutch
(39)2nd Clutch
(40)3rd Clutch
(40)3rd Clutch
(42)Orificed 3rd Clutch
(52)Exhaust
(54)Drain
(55)Overflow
(56)Void
Figure 36:

Case Fluid Passages (Case Extension Side)


Object Number: 25426  Size: LF
(2)Right Scavenge Suction
Figure 37:

Case Fluid Passages (Lower Channel Plate Side)


Object Number: 25424  Size: MF
(1)Left Scavenge Suction
(2)Right Scavenge Suction
(6)Line
(20)Actuator Feed
(27)Primary Accumulator
(32)Reverse
(33)Reverse Clutch
(38)Forward Clutch
(39)2nd Clutch
(40)3rd Clutch
(44)4th Band
(49)Coast Clutch
(56)Void
Figure 38:

Transfer Plate Fluid Passages (Case Bottom Side)


Object Number: 186646  Size: MF
(32)Reverse
(32)Reverse
(40)3rd Clutch
(56)Void
(56)Void
(56)Void
Figure 39:

Lower Channel Plate Fluid Passages (Case Bottom Side)


Object Number: 25427  Size: MF
(6)Line
(17)PRN
(20)Actuator Feed
(21)Filtered Actuator Feed
(23)Solenoid A
(24)Solenoid B
(26)Reverse Band
(27)Primary Accumulator
(28)3-4 Accumulator
(29)1-2 Accumulator
(32)Reverse
(33)Reverse Clutch
(34)Drive
(35)Low Feed
(36)Low
(37)Low and Reverse Band Reduce
(38)Forward Clutch
(39)2nd Clutch
(40)3rd Clutch
(43)4th Band Feed
(44)4th Band
(47)D321
(48)Coast Clutch Feed
(49)Coast Clutch
(50)D21
(51)D21Y
(53)Orificed Exhaust
(56)Void
Figure 40:

Spacer Plate and Gasket Assembly Fluid Passages (Lower Control Valve Body to Channel Plate)


Object Number: 25423  Size: LF
(1)Metered Orifice
(6)Line
(17)PRN
(17)PRN
(20)Actuator Feed
(21)Filtered Actuator Feed
(23)Solenoid A
(24)Solenoid B
(26)Reverse Band
(32)Reverse
(34)Drive
(35)Low Feed
(36)Low
(38)Forward Clutch
(39)2nd Clutch
(39)2nd Clutch
(40)3rd Clutch
(43)4th Band Feed
(44)4th Band
(47)D321
(48)Coast Clutch Feed
(49)Coast Clutch
(50)D21
(51)D21Y
(52)Exhaust
(53)Orificed Exhaust
Figure 41:

Lower Control Valve Body Fluid Passages (Lower Channel Plate Side)


Object Number: 25422  Size: MF
(6)Line
(17)PRN
(18)PRND4
(19)PRND43
(20)Actuator Feed
(21)Filtered Actuator
(23)Solenoid A
(24)Solenoid B
(25)Low and Reverse Band Apply
(26)Reverse Band
(32)Reverse
(34)Drive
(35)Low Feed
(36)Low
(37)Low and Reverse Band Reduce
(38)Forward Clutch
(39)2nd Clutch
(40)3rd Clutch
(43)4th Band Feed
(44)4th Band
(47)D321
(48)Coast Clutch Feed
(49)Coast Clutch
(50)D21
(51)D21Y
(52)Exhaust
(56)Void
Figure 42:

Accumulator Housing Fluid Passages (Lower Channel Plate Side)


Object Number: 25425  Size: LF
(27)Primary Accumulator
(28)3-4 Accumulator
(29)1-2 Accumulator
(33)Reverse Clutch
(38)Forward Clutch
(44)4th Band
(56)Void