- Rotate the transmission so the bottom
is facing up.
- Using a pair of pliers, grasp the detent roller end of the detent
spring (27). Remove the detent spring (27).
- Remove the 13 mm detent roller bolt pivot arm, the sleeve,
and the washer (26).
- Remove the 15 mm manual shaft nut (18). You must hold the
detent lever (17) in place when removing the manual shaft nut (18) in order
to prevent damage to the actuator rod (21).
- Remove the detent lever (17) and the actuator rod (21)
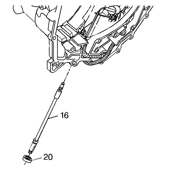
- Remove the following parts:
| • | The manual shaft (16) out through the top of the bell housing |
| • | The manual shaft seal (20) |