GM Service Manual Online
For 1990-2009 cars only

Tools Required

    • J 35549 Second Coast Brake Piston Compressor
    • J 6125-B Slide Hammer Set
    • J 35495 Oil Pump Puller Adapters
    • J 38358-A 1-2 Support Remover/Installer

    Object Number: 431696  Size: SH

    Important: For assistance in disassembling the transaxle, refer to Valve Body Components in Automatic Transmission Components .

  1. Remove the oil cooler pipes.
  2. Remove the manual shift lever.
  3. Remove the park/neutral position (PNP) switch (1) .
  4. Remove the following components:
  5. • The fluid level indicator
    • The fluid level tube

    Object Number: 431694  Size: SH
  6. Remove the throttle valve cable retaining plate (2) and the bolt.

  7. Object Number: 431692  Size: SH
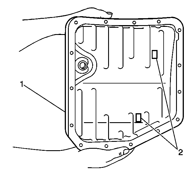
  8. Rotate the transaxle and remove the following components:
  9. • The oil pan (1) 
    • The oil pan gasket
    • The oil strainer

    Object Number: 431689  Size: SH
  10. Inspect the particles in the pan (1).
  11. Remove the magnet.
  12. Use the magnet to collect any steel chips in the pan.

  13. Inspect the steel chips and the particles in order to determine what type of wear has occurred in the transaxle:
  14. • Steel (magnetic) (2) particles and chips indicate wear in the following areas:
       • The bearings
       • The gears
       • The clutch plate
    • Brass (non-magnetic) particles and chips indicate wear in the bushing.
  15. Remove the oil tube bracket.
  16. Remove the four oil tubes.

  17. Object Number: 431670  Size: SH
  18. Remove 2 bolts (2), the spacer plate, and the manual detent spring (1).

  19. Object Number: 431676  Size: SH
  20. Remove the following components:
  21. 13.1. Four bolts (2)
    13.2. The manual valve (3)
    13.3. The manual valve body (1)

    Object Number: 431681  Size: SH
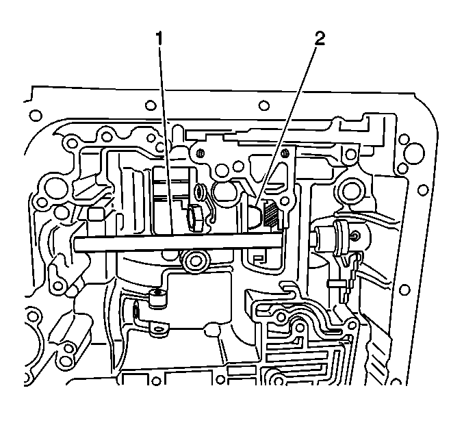
  22. Disconnect the throttle valve cable from the throttle valve cam (2).
  23. Remove the throttle valve cable (1) from the case.
  24. Remove the valve body.
  25. Set the valve body aside.


    Object Number: 163532  Size: SH
  26. Remove the second brake drum gasket.

  27. Object Number: 163496  Size: SH
  28. Remove the governor apply gasket (1).
  29. Remove the governor oil strainer (filter screen) (2).

  30. Object Number: 431679  Size: SH
  31. Remove the accumulator pistons and the springs using the following procedure:
  32. 20.1. Slowly loosen the five bolts (1) until the spring tension is released.
    20.2. Remove the cover.
    20.3. Remove the gasket.

    Object Number: 410158  Size: SH
  33. Remove 3 pistons (1, 2, 3) and 3 springs.

  34. Object Number: 163500  Size: SH
  35. If necessary, use low pressure compressed air in order to pop out the piston. Force air into the hole, then remove the piston and the spring.

  36. Object Number: 431686  Size: SH
  37. Remove 2 bolts and remove the governor cover retainer (1).

  38. Object Number: 431698  Size: SH
  39. Remove the governor using the following procedure:
  40. 24.1. Remove the governor cover (1).
    24.2. Remove the O-ring seal (2).
    24.3. Remove the governor thrust washer.
    24.4. Remove the governor body adapter (6) .
    24.5. Remove the governor (4).

    Object Number: 163493  Size: SH
  41. Remove the following components:
  42. • The manual valve lever
    • The manual valve shaft
  43. Remove the torsion spring.
  44. Remove the governor pressure adapter.

  45. Object Number: 163507  Size: SH
  46. Install the J 35549 .
  47. Remove the snap ring.


    Object Number: 410063  Size: SH
  48. Carefully remove the second coast brake servo components.
  49. Remove the accumulator piston assembly.

  50. Object Number: 410164  Size: SH
  51. Remove the 7 bolts that attach the oil pump (1) to the transaxle case (2).

  52. Object Number: 163477  Size: SH
  53. Use J 6125-B and J 35495 in order to remove the pump assembly and the O-ring seal.

  54. Object Number: 412071  Size: SH

    Important: If the second brake band comes out with the clutch assembly, push the band back into the case.

    Do not catch the direct clutch drum on the case during removal.

  55. Remove the direct and forward clutch assembly (1).
  56. Remove the thrust washer.

  57. Object Number: 412075  Size: SH
  58. Remove the direct clutch drum (1) from the forward clutch drum (2).
  59. Set the drums aside.


    Object Number: 163515  Size: SH
  60. Push the pin of the second coast brake band with a small screwdriver.
  61. Remove the pin from the bolt hole of the oil pump mounting.

  62. Remove the second coast brake band.

  63. Object Number: 163519  Size: SH
  64. Remove the front planetary ring gear.

  65. Object Number: 163521  Size: SH
  66. Remove the planetary gear.

  67. Object Number: 163523  Size: SH
  68. Remove the following components:
  69. • The sun gear
    • The sun gear input drum
    • The second brake hub
    • The No. 1 one-way clutch

    Object Number: 163526  Size: SH
  70. Remove the second coast brake band guide.

  71. Object Number: 410178  Size: SH
  72. Remove the snap ring (1) that holds the second brake drum to the case.

  73. Object Number: 163529  Size: SH
  74. Remove the second brake drum and the return springs.
  75. If the piston is difficult to remove, lightly tap the drum with a wooden block.

  76. Remove the following components:
  77. • The clutch plates
    • The clutch disks
    • The clutch backing plate
    • The one-way clutch thrust washer

    Object Number: 410177  Size: SH
  78. Remove the snap ring that holds the No. 2 one-way clutch outer race (1) to the case.

  79. Object Number: 410184  Size: SH
  80. Using J 38358-A , remove the No. 2 one-way clutch (1).
  81. Remove the rear planetary gear.
  82. Watch for the thrust washer of the planetary carrier on both sides.


    Object Number: 163538  Size: SH
  83. Remove the following components:
  84. • The rear planetary ring gear
    • The bearing
    • The plastic thrust washer
  85. Remove the snap ring that holds the pressure plate to the case.
  86. Remove the following components:
  87. • The pressure plates
    • The clutch plates
    • The clutch discs

    Object Number: 410193  Size: SH
  88. Remove the eleven bolts that hold the transaxle rear cover (1) to the transaxle case.

  89. Object Number: 410198  Size: SH
  90. Remove the transaxle rear cover (1) .

  91. Object Number: 410203  Size: SH
  92. Remove the intermediate shaft (1) .
  93. Remove the case gasket (silicon) material.

  94. Object Number: 410209  Size: SH
  95. Remove the parking lock pawl bracket (1) .
  96. Remove the parking lock rod.

  97. Object Number: 163544  Size: SH
  98. Remove the following components:
  99. • The parking lock pawl shaft
    • The spring
    • The parking lock pawl
  100. Remove the manual shaft retaining clip.

  101. Object Number: 412163  Size: SH
  102. Unstake the roll pin sleeve (2) and remove the roll pin.

  103. Object Number: 410216  Size: SH
  104. Remove the manual shaft (1) .

  105. Object Number: 412156  Size: SH
  106. Remove the manual shaft seal (2) .
  107. Remove the governor sleeve.