GM Service Manual Online
For 1990-2009 cars only

    Object Number: 4554  Size: SH
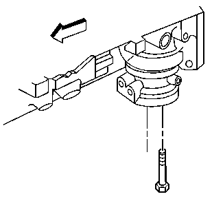
  1. Remove the oil filter adapter bolts.

  2. Object Number: 4555  Size: SH
  3. Remove the oil filter adapter and the oil filter adapter gasket.
  4. Discard the oil filter adapter gasket.

  5. Object Number: 4556  Size: SH
  6. Remove the oil filter adapter seal, O-ring.
  7. Discard the oil filter adapter seal, O-ring.