GM Service Manual Online
For 1990-2009 cars only

Tools Required

J 41712 Oil Pressure Switch Socket


    Object Number: 10793  Size: SH

    Caution: Wear safety glasses in order to avoid eye damage.

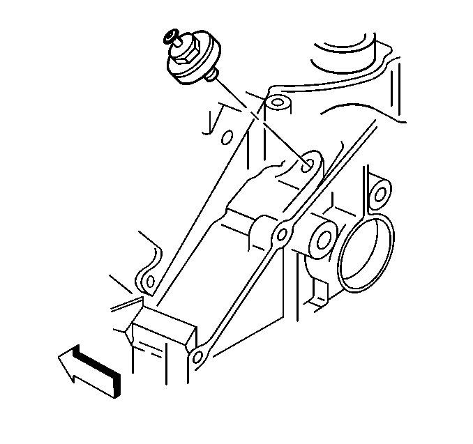
  1. Remove the knock sensor from the engine block.

  2. Object Number: 188018  Size: SH
  3. Remove the engine oil pressure gauge sensor using the J 41712 .

  4. Object Number: 188020  Size: SH
  5. Remove the engine oil pressure sensor fitting.

  6. Object Number: 334350  Size: SH
  7. Remove the dowel straight pins (transmission locator) (if required).

  8. Object Number: 5271  Size: SH
  9. Remove the engine block left side oil gallery plug.
  10. Remove the engine block left rear oil gallery plug.
  11. Remove the engine block right rear oil gallery plug.

  12. Object Number: 334364  Size: SH
  13. Remove the expansion cup plug (camshaft rear bearing hole) and discard.

  14. Object Number: 334366  Size: SH
  15. Remove the expansion cup plug (balance shaft rear bearing hole) and discard.

  16. Object Number: 334323  Size: SH
  17. Remove the spring type S pin (crankshaft rear oil seal housing locator) (if required).

  18. Object Number: 5270  Size: SH
  19. Remove the front oil gallery plugs or balls from the front of the engine block and discard.
  20. Insert a 3/8 x 26 in. rod into the rear oil gallery holes in order to drive out the front oil gallery plugs or balls.


    Object Number: 480550  Size: SH
  21. Remove the engine block core hole plugs.
  22. 12.1. Use a suitable tool in order to drive the engine block core hole plugs into the coolant jacket.
    12.2. Use a suitable tool in order to pull the engine block core hole plugs from the coolant jacket.
    12.3. Discard the engine block core hole plugs.

    Object Number: 188026  Size: SH
  23. Remove the oil filter bypass valve and discard.