GM Service Manual Online
For 1990-2009 cars only

Tools Required

    • J 7872 Magnetic Base Dial Indicator
    • J 36660-A Electronic Torque Angle Meter

Crankshaft Inspection


    Object Number: 639519  Size: SH

    Important: Use care when handling the crankshaft. Avoid damage to the bearing surfaces.

  1. Clean the crankshaft in solvent. Remove all sludge or restrictions from the oil passages.
  2. Caution: Wear safety glasses in order to avoid eye damage.

  3. Dry the crankshaft and bearings with compressed air.

  4. Object Number: 677825  Size: SH
  5. Inspect the crankshaft for the following conditions:
  6. • Crankshaft journals (1) should be smooth with no evidence of scoring or damage
    • Deep grooves (2)
    • Scratches or uneven wear (3)
    • Pitted surfaces (4)
    • Wear or damage to the thrust journal surfaces
    • Scoring or damage to the rear seal surface
    • Restrictions to oil passages
    • Damage to threaded bolt holes

    Object Number: 639543  Size: SH

    Important: The crankshaft pin is a pressed in roll pin. The pin only needs to be removed from the crankshaft if the pin is damaged.

  7. Inspect the crankshaft pin for damage.
  8. • Measure for proper installed height.
    • Replace the crankshaft pin if it is damaged.

    Object Number: 677772  Size: SH

    Important: Do NOT attempt to remove the crankshaft reluctor wheels. If the reluctor wheels are damaged and/or removed, the crankshaft must be replaced.

  9. Inspect the reluctor wheels for cracked, bent or broken teeth.
  10. • Measure between the crankshaft shoulder and the front reluctor wheel (1).
    • Measure between the front and rear reluctor wheels (2).
    • The maximum allowable gap is 0.15 mm (0.006 in).

    Object Number: 35207  Size: SH
  11. Measure the crankshaft main journals and the crankpins for out-of-round and taper.

  12. Object Number: 677818  Size: SH
  13. Using a suitable fixture, support the crankshaft.
  14. 7.1. Measure the crankshaft runout using J 7872 .
    7.2. Crankshaft runout should not exceed 0.051 mm (0.002 in).

    Object Number: 639520  Size: SH
  15. Inspect the crankshaft thrust wall surface for wear (1) and/or excessive runout (2). Refer to Engine Mechanical Specifications.

Crankshaft and Connecting Rod Bearing Inspection

    Important: The crankshaft and connecting rod bearings should be inspected only to determine what kind of damage or failure has occurred. Always install NEW bearings once the bearings have been removed.


    Object Number: 52051  Size: SH
  1. Inspect the bearings for craters or pockets. Flattened sections on the bearing halves also indicate fatigue.

  2. Object Number: 52053  Size: SH
  3. Inspect the bearings for excessive scoring or discoloration.
  4. Inspect the bearings for dirt or debris embedded into the bearing material.

  5. Object Number: 52056  Size: SH
  6. Inspect the bearings for improper seating indicated by bright, polished sections of the bearings.

Crankshaft and Connecting Rod Bearing Clearance Measurement

The crankshaft and connecting rod bearings are of the precision insert type and do not use shims for adjustment. If the clearances are excessive, undersize bearings will be required. The service bearings are available in both the undersize and standard size.

The selective fitting of the bearings is necessary in production in order to obtain close tolerances. For this reason, in one journal bore you may use one-half of a standard bearing with one-half of a undersize bearing.

In order to determine the correct replacement bearing size, the bearing clearance must be measured accurately. The micrometer method is preferred because it is more accurate. The plastic gauge method should only be used if the micrometer method is not available.

Micrometer Method for Crankshaft Bearings


    Object Number: 35207  Size: SH

    Important: When bearings are removed, NEW bearings must be installed during reassembly.

  1. Measure the crankshaft main journal diameter with a micrometer in several places along the length approximately 90 degrees apart, (minimum of 4 places), and average the measurements.
  2. Determine the taper and the out-of-round. Refer to Engine Mechanical Specifications.

  3. Object Number: 639521  Size: SH
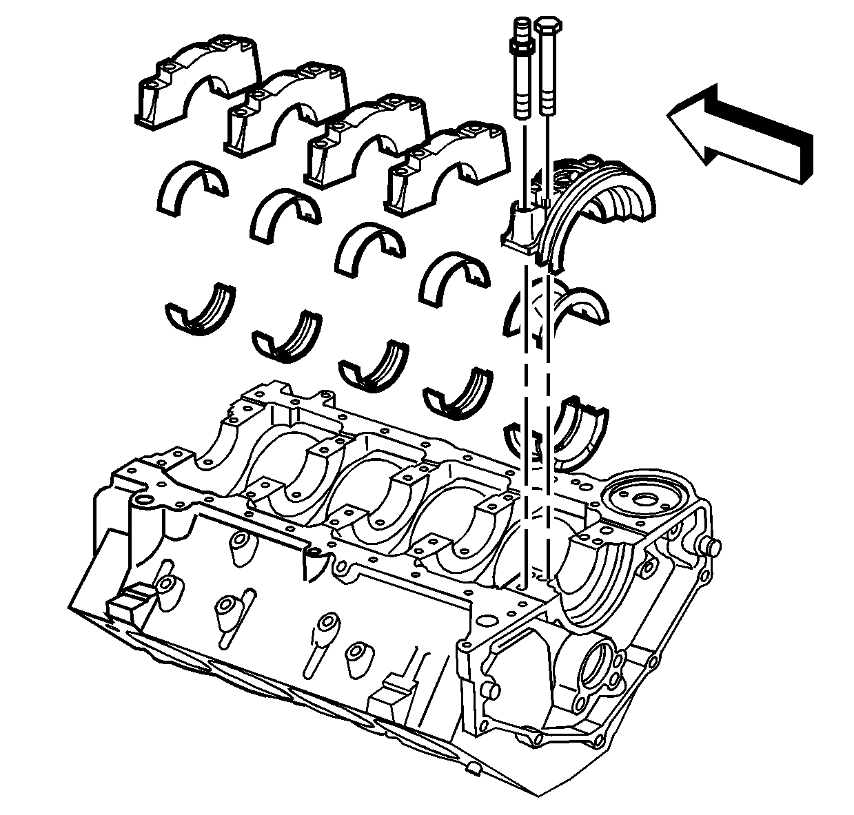
  4. Install the NEW crankshaft bearings into the crankshaft bearing caps and the engine block.
  5. Notice: Use the correct fastener in the correct location. Replacement fasteners must be the correct part number for that application. Fasteners requiring replacement or fasteners requiring the use of thread locking compound or sealant are identified in the service procedure. Do not use paints, lubricants, or corrosion inhibitors on fasteners or fastener joint surfaces unless specified. These coatings affect fastener torque and joint clamping force and may damage the fastener. Use the correct tightening sequence and specifications when installing fasteners in order to avoid damage to parts and systems.

    Important: Tighten the inner crankshaft bearing cap bolts before tightening the outer crankshaft bearing cap studs.

  6. Install the crankshaft bearing caps and the crankshaft bearing cap bolts and studs.
  7. Tighten

    1. Tighten the crankshaft bearing cap inner bolts to 30 N·m (22 lb ft).
    2. Tighten the crankshaft bearing cap outer studs to 30 N·m (22 lb ft).
    3. Using J 36660-A , tighten the crankshaft bearing cap inner bolts an additional 90 degrees.
    4. Using J 36660-A , tighten the crankshaft bearing cap outer studs an additional 80 degrees.
  8. Measure the crankshaft bearing inside diameter (ID) using an inside micrometer. Measure at a minimum of four places and average the measurements.
  9. In order to determine the crankshaft bearing clearance, subtract the crankshaft journal diameter from the crankshaft bearing ID.
  10. Compare the crankshaft bearing clearance to the specifications. Refer to Engine Mechanical Specifications.
  11. If the crankshaft bearing clearances exceeds specifications, install undersize crankshaft bearings to achieve the correct clearance.
  12. Measure the new crankshaft bearing inside diameter (ID) using an inside micrometer.
  13. Replace or repair the crankshaft if the proper clearances cannot be obtained with available crankshaft bearings.

Micrometer Method for Connecting Rod Bearings


    Object Number: 35207  Size: SH

    Important: When bearings are removed, NEW bearings must be installed during reassembly.

  1. Measure the crankpin diameter with a micrometer in several places along the length, approximately 90 degrees apart (minimum of 4 places), and average the measurements.
  2. Determine the taper and the out-of-round. Refer to Engine Mechanical Specifications.
  3. Install the NEW connecting rod bearings into the connecting rod cap and the connecting rod.
  4. Notice: Use the correct fastener in the correct location. Replacement fasteners must be the correct part number for that application. Fasteners requiring replacement or fasteners requiring the use of thread locking compound or sealant are identified in the service procedure. Do not use paints, lubricants, or corrosion inhibitors on fasteners or fastener joint surfaces unless specified. These coatings affect fastener torque and joint clamping force and may damage the fastener. Use the correct tightening sequence and specifications when installing fasteners in order to avoid damage to parts and systems.

    Important: Use the original connecting rod nuts for clearance measurement. During final assembly new connecting rod nuts must be used to obtain correct fastener tightening.

  5. Install the connecting rod cap and the original (used) nuts.
  6. Tighten
    Tighten the connecting rod nuts to 30 N·m (22 lb ft). Tighten the connecting rod nuts an additional 90 degrees.

  7. Measure the connecting rod bearing inside diameter (ID) using an inside micrometer.
  8. Compare the connecting rod bearing clearance specifications. Refer to Engine Mechanical Specifications.
  9. If the connecting rod bearing clearances exceed specifications, install undersize connecting rod bearings to achieve the correct clearance.
  10. A standard or undersize connecting rod bearing combination may result in the proper clearance. If the proper connecting rod bearing clearance cannot be achieved using the standard or the undersize connecting rod bearings, it will be necessary to replace or repair the crankshaft or connecting rods.

Plastic Gauge Method for Crankshaft Bearings


    Object Number: 639522  Size: SH

    Important: When bearings are removed, NEW bearings must be installed during reassembly.

  1. Install the crankshaft and the new crankshaft bearings into the block, making sure not to damage the reluctor rings of the crankshaft.

  2. Object Number: 4980  Size: SH
  3. Install the gauging plastic the full width of the crankshaft journal.
  4. Notice: Use the correct fastener in the correct location. Replacement fasteners must be the correct part number for that application. Fasteners requiring replacement or fasteners requiring the use of thread locking compound or sealant are identified in the service procedure. Do not use paints, lubricants, or corrosion inhibitors on fasteners or fastener joint surfaces unless specified. These coatings affect fastener torque and joint clamping force and may damage the fastener. Use the correct tightening sequence and specifications when installing fasteners in order to avoid damage to parts and systems.

    Important: Tighten the inner crankshaft bearing cap bolts before tightening the outer crankshaft bearing cap studs. The crankshaft journal and the crankshaft bearing surface must be free from oil to obtain a correct measurement. Do not allow the crankshaft to rotate while performing the measurement, or an incorrect measurement will be obtained.

  5. Install the crankshaft bearing caps and the crankshaft bearing cap bolts and studs.
  6. Tighten

    1. Tighten the crankshaft bearing cap inner bolts to 30 N·m (22 lb ft).
    2. Tighten the crankshaft bearing cap outer studs to 30 N·m (22 lb ft).
    3. Using J 36660-A , tighten the crankshaft bearing cap inner bolts an additional 90 degrees.
    4. Using J 36660-A , tighten the crankshaft bearing cap outer studs an additional 80 degrees.
  7. Remove the crankshaft bearing cap bolts and the crankshaft bearing caps. The gauging plastic may adhere to either the crankshaft journal or the crankshaft bearing surfaces.

  8. Object Number: 4981  Size: SH
  9. On the edge of the gauging plastic envelope there is a graduated scale. Without removing the gauging plastic, measure the compressed width at the widest point.
  10. If the flattened gauging plastic tapers toward the middle or the ends, there may be a difference in clearance indicating taper, low spot or other irregularity of the crankshaft bearing or the crankshaft journal.
  11. • Normally the crankshaft journals wear evenly and are not out-of-round. However, if a crankshaft bearing is being fitted to an out-of-round 0.0254 mm (0.001 in maximum) crankshaft journal, be sure to fit to the maximum diameter of the crankshaft journal.
    • If the crankshaft bearing is fitted to the minimum diameter and the crankshaft journal is excessively out-of-round, the interference between the crankshaft bearing and the crankshaft journal will result in rapid crankshaft bearing failure.
  12. Compare the crankshaft bearing clearance to the specifications. Refer to Engine Mechanical Specifications.
  13. If the crankshaft bearing clearances exceeds specifications, install undersize crankshaft bearings to achieve the correct clearance.
  14. Measure the new crankshaft bearing inside diameter (ID) using the same method.
  15. Replace or repair the crankshaft if the proper clearances cannot be obtained with available crankshaft bearings.
  16. Remove the flattened gauging plastic.
  17. Measure the remaining crankshaft journals.

Plastic Gauge Method for Connecting Rod Bearings


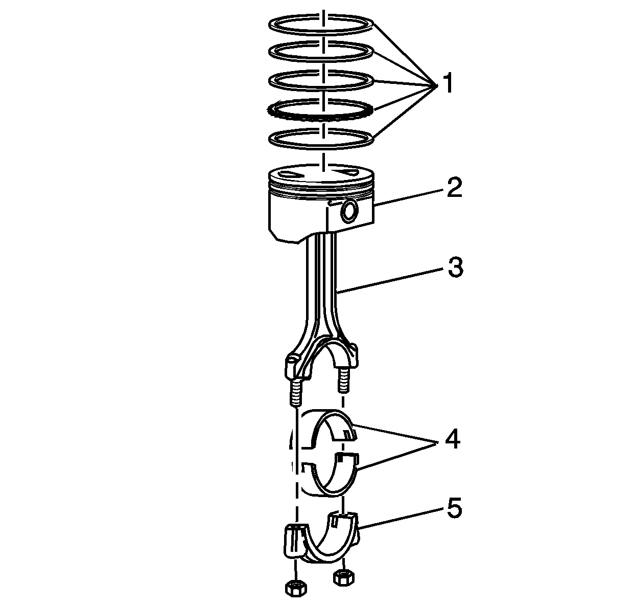
    Object Number: 635669  Size: SH

    Important: When bearings are removed, NEW bearings must be installed during reassembly.

  1. Install the connecting rod bearings into the connecting rod and the connecting rod cap.
  2. Using rubber fuel line over the connecting rod bolts, install the piston and connecting rod assembly onto the crankpin journal.

  3. Object Number: 4980  Size: SH
  4. Install the gauging plastic the full width of the crankpin journal.

  5. Object Number: 639084  Size: SH

    Notice: Use the correct fastener in the correct location. Replacement fasteners must be the correct part number for that application. Fasteners requiring replacement or fasteners requiring the use of thread locking compound or sealant are identified in the service procedure. Do not use paints, lubricants, or corrosion inhibitors on fasteners or fastener joint surfaces unless specified. These coatings affect fastener torque and joint clamping force and may damage the fastener. Use the correct tightening sequence and specifications when installing fasteners in order to avoid damage to parts and systems.

    Important: Use the original connecting rod nuts for clearance measurement. During final assembly, new connecting rod nuts must be used to obtain correct fastener tightening.

  6. Install the connecting rod cap and the original (used) nuts.
  7. Tighten
    Tighten the connecting rod nuts to 30 N·m (22 lb ft). Tighten the connecting rod nuts an additional 90 degrees.

  8. Remove the connecting rod nuts and cap. The gauging plastic may adhere to either the crankpin journal or the connecting rod bearing surface.

  9. Object Number: 4981  Size: SH
  10. On the edge of the gauging plastic envelope there is a graduated scale. Without removing the gauging plastic, measure the compressed width at the widest point.
  11. If the flattened gauging plastic tapers toward the middle or the ends, there may be a difference in clearance indicating taper, low spot or other irregularity of the crankshaft bearing or the crankpin journal.

  12. Normally the crankpin journals wear evenly and are not out-of-round. However, if a connecting rod bearing is being fitted to an out-of-round 0.0254 mm (0.001 in maximum) crankpin journal, be sure to fit to the maximum diameter of the crankpin journal. If the connecting rod bearing is fitted to the minimum diameter and the crankpin journal is excessively out-of-round, the interference between the connecting rod bearing and the crankpin journal will result in rapid connecting rod bearing failure.
  13. Compare the connecting rod bearing clearance to the specifications. Refer to Engine Mechanical Specifications.
  14. If the connecting rod bearing clearances exceed specifications, install undersize connecting rod bearings to achieve the correct clearance.
  15. A standard or undersize connecting rod bearing combination may result in the proper clearance. If the proper connecting rod bearing clearance cannot be achieved using the standard or the undersize connecting rod bearings, it will be necessary to replace or repair the crankshaft or connecting rods.
  16. Remove the flattened gauging plastic.
  17. Measure the remaining crankpin journals.

Measuring Crankshaft End Play


    Object Number: 677804  Size: SH

    Important: In order to properly measure the crankshaft end play, the crankshaft, bearings, bearing caps and fasteners must be installed into the engine block and the bolts tightened to specifications. Refer to Crankshaft and Bearings Installation.

  1. Install the J 7872 or equivalent to the cylinder block, with the dial indicator plunger against one of the counterweights of the crankshaft.
  2. Firmly thrust the end of the crankshaft first rearward then forward. This will line up the rear crankshaft bearing and the crankshaft thrust surfaces.
  3. With the crankshaft pushed forward, zero the dial indicator. Move the crankshaft rearward and read the endplay measurement on the dial indicator. An optional method is to insert a feeler gauge between the crankshaft and the bearing surface and measure the clearance. Refer to Engine Mechanical Specifications.
  4. If the correct end play cannot be obtained, inspect for the following conditions:
  5. • Verify that the correct size crankshaft bearing has been installed. Refer to Engine Mechanical Specifications.
    • Inspect the crankshaft thrust wall surface(s) for wear and/or excessive runout. Refer to J 7872 .
  6. Inspect the crankshaft for binding. Turn the crankshaft to check for binding. If the crankshaft does not turn freely, loosen the crankshaft bearing bolts and studs, one cap at a time, until the tight bearing is located. The following condition(s) could cause a lack of clearance at the bearing:
  7. • Burrs on the crankshaft bearing cap
    • Foreign matter between the crankshaft bearing and the block or the crankshaft bearing cap
    • A faulty crankshaft bearing

Measuring Connecting Rod Side Clearance


    Object Number: 677801  Size: SH

    Important: In order to properly measure the connecting rod side clearance, the piston/connecting rod assembly and bearings must be installed into the engine block and the connecting rod nuts tightened to specifications. Refer to Piston, Connecting Rod and Bearing Installation.

  1. Install the J 7872 or equivalent to the cylinder block, with the dial indicator plunger against the side of the pair of connecting rods.
  2. With the connecting rods pushed forward, zero the dial indicator. Firmly move the pair of connecting rods side to side and read the measurement on the dial indicator. An optional method is to insert a feeler gauge between the connecting rod caps and measure the connecting rod side clearance. Refer to Engine Mechanical Specifications.