GM Service Manual Online
For 1990-2009 cars only

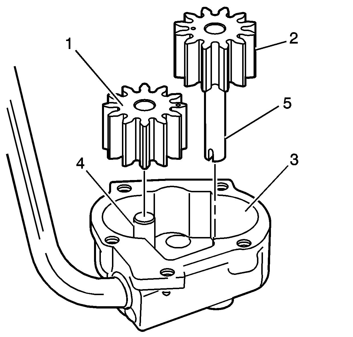
    Object Number: 678109  Size: SH

    Caution: Wear safety glasses in order to avoid eye damage.

  1. Clean the oil pump components in cleaning solvent.
  2. Dry the components with compressed air.
  3. Inspect the oil pump for the following conditions:
  4. • Scoring on the top of the gears (1)
    • Damaged gears (2) for the following:
       - Chipping
       - Galling
       - Wear
    • Scoring, damage or casting imperfections to the body (3)
    • Damaged or scored gear shaft (4)
    • Damaged or scored gear shaft (5)
    • Damaged bolt hole threads
    • Worn oil pump driveshaft bore
    • Damaged or sticking oil pump pressure relief valve (minor imperfections may be removed with a fine oil stone)
    • Collapsed or broken oil pump pressure relief valve spring
  5. If the oil pump is to be reused, install a NEW oil pump pressure relief valve spring.
  6. During oil pump installation, install a NEW oil pump driveshaft retainer.