GM Service Manual Online
For 1990-2009 cars only

Important: Do not reuse the lower intake manifold gaskets or end seals.

  1. Clean the intake manifold in an approved solvent.
  2. • Clean debris out of all bolt holes. Clean the intake manifold gasket sealing surfaces.
    • Clean all carbon from the EGR passages.
    • Clean all intake manifold ports.

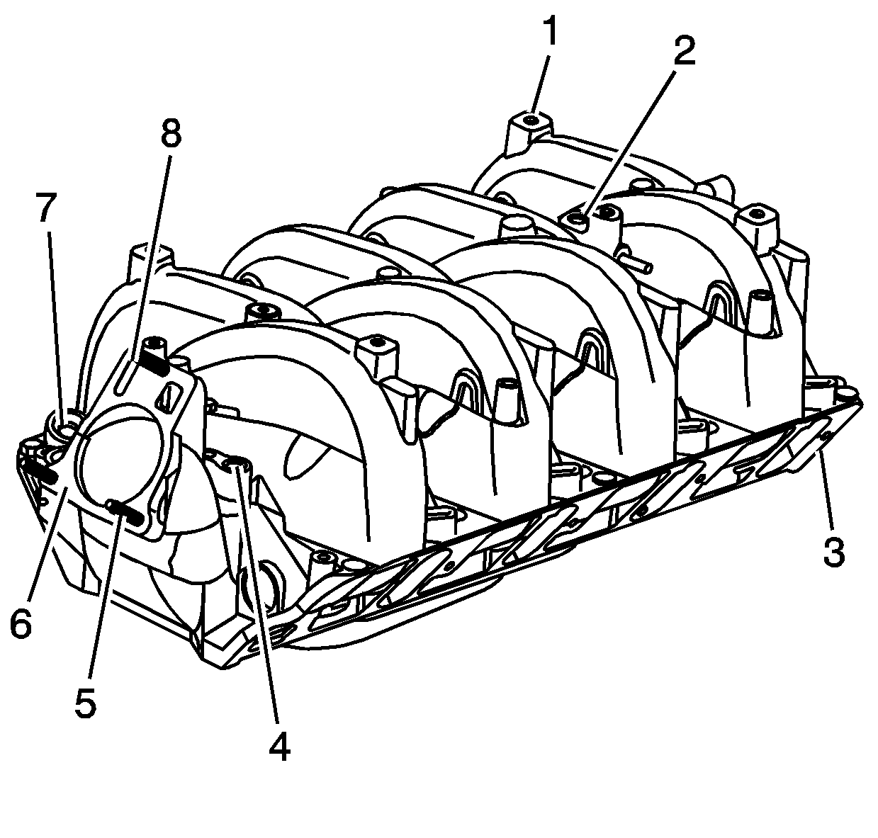
    Object Number: 635688  Size: SH

    Caution: Wear safety glasses in order to avoid eye damage.

  3. Dry the intake manifold with compressed air.
  4. Inspect the following:
  5. • The intake manifold bolt holes (1) for cracks and/or damage
    • The MAP sensor sealing surface (2) for damage
    • The purge solenoid sealing surface (4) for damage. The purge solenoid bolt has a sealer that may come off during removal of the bolt. Ensure all sealant is removed from the bolt hole.
    • The intake manifold-to-cylinder head sealing surfaces (3) for damage
    • The EGR adapter mounting surface for damage
    • The throttle body studs (5) for damage. Replace as necessary.
    • The throttle body mounting surface (6) for damage
    • The oil fill tube hole (7) for signs of leakage. Reseal as necessary.
    • PCV port (8) for debris or varnish buildup
    • EGR pipe for damage